
Вы работаете с экспертами напрямую,
не переплачивая посредникам, поэтому
наши цены в 2-3 раза ниже 

Последние размещенные задания
Решить контрольную работу по предмету Гидроэнергетические установки
Контрольная, Гидроэнергетические установки
Срок сдачи к 20 дек.
Выполняла задания по психологии семьи
Контрольная, психология семьи
Срок сдачи к 31 дек.
Аудиторская проверка кассовых операций
Срок сдачи к 12 дек.
Для публикации в научных журналах ринц
Статья, Электронное обучение
Срок сдачи к 13 дек.
Контрольная, Сопротивление материалов
Срок сдачи к 13 дек.
Решить задачи по оценке финансовых рисков
Решение задач, Финансовый менеджмент
Срок сдачи к 12 дек.
Решить четыре задачи.
Курсовая, Детали машин и основы конструирования
Срок сдачи к 13 дек.
Решить 1 задачу
Решение задач, теория вероятностей
Срок сдачи к 12 дек.
2 лабораторных работы
Срок сдачи к 14 дек.
Экзамен по количественным методам (Quantitavie methods for finance)
Другое, Econometrics, quantitative methods for finance, финансы, английский язык
Срок сдачи к 6 янв.
Реферат 15-20 страниц
Реферат, Кинология, зоология
Срок сдачи к 15 дек.
Другое, международное право
Срок сдачи к 11 дек.
работа с таблицами Эксель
Срок сдачи к 11 дек.
Формы и системы оплаты труда. Факторы стимулирования роста.
Курсовая, экономика организации
Срок сдачи к 14 дек.
Контрольная по предмету «Экономика»
Срок сдачи к 10 дек.
Выполнить в соответствии с критериями
Контрольная, Дискретная математика
Срок сдачи к 10 дек.
Контрольная по предмету «Теория государства и права»
Контрольная, Теория государства и права
Срок сдачи к 9 дек.
3. Выбрать регион Российской Федерации
Контрольная, Планирование и прогнозирование
Срок сдачи к 16 дек.
обратились к нам
за последний год
работают с нашим сервисом
заданий и консультаций
заданий и консультаций
выполнено и сдано
за прошедший год

Сайт бесплатно разошлёт задание экспертам.
А эксперты предложат цены. Это удобнее, чем
искать кого-то в Интернете 

Отклик экспертов с первых минут
С нами работают более 15 000 проверенных экспертов с высшим образованием. Вы можете выбрать исполнителя уже через 15 минут после публикации заказа. Срок исполнения — от 1 часа
Цены ниже в 2-3 раза
Вы работаете с экспертами напрямую, поэтому цены
ниже, чем в агентствах
Доработки и консультации
– бесплатны
Доработки и консультации в рамках задания бесплатны
и выполняются в максимально короткие сроки
Гарантия возврата денег
Если эксперт не справится — мы вернем 100% стоимости
На связи 7 дней в неделю
Вы всегда можете к нам обратиться — и в выходные,
и в праздники

Эксперт получил деньги за заказ, а работу не выполнил?
Только не у нас!
Деньги хранятся на вашем балансе во время работы
над заданием и гарантийного срока
Гарантия возврата денег
В случае, если что-то пойдет не так, мы гарантируем
возврат полной уплаченой суммы

С вами будут работать лучшие эксперты.
Они знают и понимают, как важно доводить
работу до конца 

С нами с 2017
года
Помог студентам: 11 293 Сдано работ: 11 293
Рейтинг: 86 169
Среднее 4,94 из 5

С нами с 2018
года
Помог студентам: 7 800 Сдано работ: 7 800
Рейтинг: 72 141
Среднее 4,87 из 5

С нами с 2019
года
Помог студентам: 2 495 Сдано работ: 2 495
Рейтинг: 27 585
Среднее 4,84 из 5

С нами с 2018
года
Помог студентам: 2 173 Сдано работ: 2 173
Рейтинг: 13 942
Среднее 4,87 из 5

1. Сколько стоит помощь?
Цена, как известно, зависит от объёма, сложности и срочности. Особенностью «Всё сдал!» является то, что все заказчики работают со экспертами напрямую (без посредников). Поэтому цены в 2-3 раза ниже.
Специалистам под силу выполнить как срочный заказ, так и сложный, требующий существенных временных затрат. Для каждой работы определяются оптимальные сроки. Например, помощь с курсовой работой – 5-7 дней. Сообщите нам ваши сроки, и мы выполним работу не позднее указанной даты. P.S.: наши эксперты всегда стараются выполнить работу раньше срока.
3. Выполняете ли вы срочные заказы?
Да, у нас большой опыт выполнения срочных заказов.
4. Если потребуется доработка или дополнительная консультация, это бесплатно?
Да, доработки и консультации в рамках заказа бесплатны, и выполняются в максимально короткие сроки.
5. Я разместил заказ. Могу ли я не платить, если меня не устроит стоимость?
Да, конечно - оценка стоимости бесплатна и ни к чему вас не обязывает.
6. Каким способом можно произвести оплату?
Работу можно оплатить множеством способом: картой Visa / MasterCard, с баланса мобильного, в терминале, в салонах Евросеть / Связной, через Сбербанк и т.д.
7. Предоставляете ли вы гарантии на услуги?
На все виды услуг мы даем гарантию. Если эксперт не справится — мы вернём 100% суммы.
Начертательная геометрия - это наука, изучающая закономерности изображения пространственных форм на плоскости и решение пространственных задач протекционно-графическими методами.
Начертательная геометрия изучает теорию методов отображения пространств различных структур и размерностей друг на друга, рассматриваются теоретические основы методов отображения трехмерного пространства на плоскость.
Курс лекций по всем темам начертательной геометрии является теоретической основой для изучения и построения чертежей и содержит примеры решения задач и выполнения заданий. Лекции базируются на нормативных документах, государственных стандартах и единой системе конструкторской документации (ЕСКД).
Содержание:
Начертательная геометрия, являясь одной из ветвей геометрии, имеет ту же цель, что и геометрия «вообще», а именно: изучение форм предметов окружающего нас действительного мира и отношений между ними, установление соответствующих закономерностей и применение их к решению практических задач.
Начертательную геометрию из других ветвей геометрии выделяет то обстоятельство, что она для решения общегеометрических задач использует графический путь, при котором геометрические свойства фигур изучаются непосредственно по чертежу. В то время как в других ветвях геометрии чертеж является вспомогательным средством, так как с его помощью лишь иллюстрируются свойства фигур, в начертательной геометрии он является основным средством изучения свойств фигур.
Разумеется, не всякое изображение может служить таким средством. Для того чтобы чертеж был геометрически равноценным изображаемой фигуре или, как говорят, оригиналу, он должен быть построен по определенным геометрическим законам. В начертательной геометрии каждый чертеж строится при помощи метода проецирования, поэтому чертежи, применяемые в начертательной геометрии, носят название проекционных. При построении этих чертежей широко используются проекционные свойства фигур, благодаря чему изображение обладает такими геометрическими свойствами, по которым можно судить о свойствах самого оригинала.
Таким образом, содержанием начертательной геометрии является, вопервых, исследование способов построения проекционных чертежей; вовторых, решение геометрических задач, относящихся к пространственным фигурам, в-третьих, приложение способов начертательной геометрии к исследованию практических и теоретических вопросов науки и техники.
В наше время нелегко указать на такой вид человеческой деятельности, где бы в большей или меньшей степени не приходилось прибегать к помощи чертежей. Чертежи кроме технических, значение которых общеизвестно, встречаются в виде планов строений, географических и топографических карт и пр. Все они строятся по правилам проецирования.
Чертеж, как говорил один из создателей начертательной геометрии – французский ученый и инженер Гаспар Монж (1746–1818), является «языком техника». Дополняя это высказывание Монжа, профессор В.И. Курдюмов (1853–1904) – автор классического русского учебника начертательной геометрии – писал: «Если чертеж является языком техника, то начертательная геометрия служит грамматикой этого языка, так как она учит нас правильно читать чужие и излагать наши собственные мысли, пользуясь в качестве слов одними только линиями и точками как элементами всякого изображения» * .
Как и всякая другая наука, начертательная геометрия возникла из практической деятельности человечества. Задачи строительства различных сооружений, крепостных укреплений, жилья, храмов и др. требовали предварительного построения изображений этих конструкций. Зародившись в глубокой древности, различные способы построения изображений по мере развития материальной жизни общества претерпевали глубокие изменения. От примитивных изображений, лишь весьма приближенно передававших геометрические формы изображаемых на них объектов, человечество постепенно перешло к составлению проекционных чертежей, отражающих геометрические свойства воспроизводимых объектов.
Выдающуюся роль в развитии начертательной геометрии как науки сыграл знаменитый французский геометр и инженер времен Великой французской революции Гаспар Монж (1746–1818). Монж систематизировал и обобщил накопленные к этому времени практический опыт и теоретические познания в области изображений пространственных фигур на плоскости. В своем труде «Начертательная геометрия», изданном в 1798 г., Монж дает первое научное изложение общего метода изображения пространственных фигур на плоскости. Монж предложил рассматривать плоский чертеж, состоящий из двух проекций, как результат совмещения двух взаимно перпендикулярных плоскостей проекций.
Развитие начертательной геометрии в нашей стране происходило своими путями.
Изучение старинных документов-летописей, планов, карт, чертежей показывает, что проекционные методы построения изображений были известны еще в Древней Руси, об этом свидетельствуют картины Рублева, чертежи И.И. Ползунова (1728–1766), И.П. Кулибина (1735–1818), М.Ф. Казакова (1733–1812).
В 1810 г. в Институте корпуса инженеров путей сообщения (ныне Ленинградский институт инженеров железнодорожного транспорта) впервые стал читаться курс начертательной геометрии. Первым профессором, преподававшим этот курс, был ученик Монжа французский инженер К.И. Потье, который издал в 1816 г. свой курс начертательной геометрии на французском языке. Перевел его на русский язык помощник Потье по институту Я.А. Севастьянов (1796–1849). С 1818 г. преподавание начертательной геометрии стал вести Севастьянов, которому вскоре было присвоено звание первого русского профессора начертательной геометрии. В 1821 г. был издан первый в России оригинальный курс начертательной геометрии, написанный Севастьяновым. Он содержал подробное изложение теории начертательной геометрии и находился на уровне лучших европейских курсов. Огромная заслуга Севастьянова состояла также в том, что он ввел русскую терминологию по начертательной геометрии.
В дальнейшем начертательная геометрия как наука получила все условия для своего полного развития. Появилась обширная научная и учебная литература. Большую роль в развитии начертательной геометрии как науки и учебной дисциплины в советский период сыграли проф. Н.Ф. Четверухин, проф. И.И. Котов, проф. А.М. Тевлин и их ученики.
Пусть дана некоторая плоскость

Проецирование можно выполнить для любой точки пространства, за исключением точек, лежащих в плоскости, проходящей через центр проекций и параллельной плоскости проекций . На рис. 1 показано построение проекций точек и , различно расположенных относительно плоскости проекций и центра проекций .
* Здесь и дальше для большей выразительности наглядных изображений, иллюстрирующих то пли иное положение курса, они выполнены в условной форме чертежей-моделей. При этом для упрощения таких изображений проекции точек даны в виде кружков.
Обычно проекциями точек, лежащих в плоскости, проходящей через центр проекций и параллельной плоскости проекций , принято считать бесконечно удаленные точки * плоскости , так как для этих точек проецирующие прямые оказываются параллельными плоскости проекций .
Однако для центра проекций не может быть построена проекция, так как проецирующая прямая становится при этом неопределенной, вместе с тем становится неопределенной и проекция точки на плоскости . Так как каждая геометрическая фигура есть некоторая совокупность точек, то будем называть проекцией фигуры совокупность проекций всех ее точек. Однако для построения проекции фигуры совершенно не обязательно проецировать все ее точки. Так, проекция отрезка или прямой линии вполне определяется проекциями двух точек; проекция треугольника или плоскости – проекциями трех точек; проекция какого-либо многогранника – проекциями его вершин.
Изображение предметов при помощи центрального проецирования обладает наглядностью, так как человеческое зрение в геометрическом отношении совпадает с операцией центрального проецирования (оптический центр хрусталика глаза можно считать центром проекций, а участок задней стенки сетчатки может быть принят приближенно за плоскость проекций). Однако метод центрального проецирования слишком сложен и в значительной степени искажает форму и размеры оригинала, так как не сохраняет параллельности прямых и отношения отрезков. Поэтому на практике чаще пользуются методом параллельного проецирования (в частности, ортогонального проецирования). Этот метод, являясь частным случаем центрального проецирования, когда центр проекций находится в бесконечно удаленной точке , дает более простое построение изображения и в большей степени, как это будет показано дальше, сохраняет те свойства оригинала, от которых зависят его форма и размеры.
Пусть даны плоскость проекций ' и направление проецирования , непараллельное плоскости проекций. Когда мы перемещаем центр проекций в бесконечно удаленную точку , то все проецирующие прямые как пересекающиеся в бесконечно удаленной точке будут параллельны некоторому направлению . Чтобы построить проекцию какой-либо точки , через нее проводят проецирующую прямую параллельно направлению проецирования , а затем находят точку пересечения этой прямой с плоскостью (рис. 2).
* Введение бесконечно удаленных элементов (точек и прямых) позволяет избежать исключений в геометрических положениях, связанных с понятием параллельности. Так, каждые две прямые одной плоскости всегда пересекаются в одной точке (обыкновенной или бесконечно удаленной). Каждые две плоскости всегда пересекаются по прямой (обыкновенной или бесконечно удаленной).
Таков метод параллельного проецирования точек пространства на плоскость проекций. Рассмотрим некоторые свойства параллельной проекции:
Очевидно, что если прямая будет проецирующей прямой, то ее проекция выродится в точку.

3. Проекцией точки, лежащей на некоторой прямой, является точка, лежащая на проекции данной прямой. Это свойство, называемое свойcтвом принадлежности, непосредственно следует из определения проекции фигуры как совокупности проекций всех ее точек. Рассмотренные три свойства имеют место также и в случае центральной проекции. Однако параллельная проекция обладает еще другими свойствами, которых не имеет центральная проекция (рис. 2). Таковы следующие свойства:
4. Проекциями параллельных прямых являются параллельные прямые. Действительно, если прямые и параллельны, то и проецирующие их плоскости будут параллельны как содержащие по паре пересекающихся соответственно параллельных прямых .
Отсюда следует, что как прямые пересечения параллельных плоскостей третьей плоскостью. Это свойство называется свойством сохранения параллельности. Очевидно, что если прямые и будут проецирующими прямыми, то указанное свойство теряет смысл, так как проекциями этих прямых будут две точки.
5. Отношение проекций отрезков, лежащих на параллельных прямых или на одной и той же прямой, равно отношению самих отрезков. Пусть и – отрезки, лежащие на параллельных прямых и , а и – их проекции на плоскость (см. рис. 2). Проведем в проецирующих плоскостях отрезки и , соответственно параллельные отрезкам и '. При этом . Очевидно, что треугольники и подобны, так как их соответственные стороны параллельны. Отсюда получаем: . Если данные отрезки лежат на одной прямой, то теми же рассуждениями можно установить, что .
6. Проекция фигуры не меняется при параллельном переносе плоскости проекций. В качестве проецируемой фигуры возьмем треугольник и спроецируем его по направлению на плоскости и , параллельные между собой (рис. 3). Так как отрезки и параллельны и конгруэнтны, то четырехугольники и являются параллелограммами, следовательно, треугольники и конгруэнтны. Очевидно, что эти же рассуждения применимы для проекции любой другой фигуры.

Рассматривая указанные выше свойства параллельной проекции, можно заметить, что ее свойства 4, 5 и 6 обеспечивают более простое построение изображения, которое вместе с тем меньше искажает форму и размеры оригинала по сравнению с центральной проекцией.
В самом деле, свойство 4 указывает на сохранение параллельности прямых, поэтому параллельная проекция трапеции есть трапеция, а параллельная проекция параллелограмма есть параллелограмм, в то время как в центральной проекции эти фигуры вообще проецируются в четырехугольники произвольного вида. По свойству 5 мы имеем для проекций двух параллельных отрезков соотношение , откуда (см. рис. 2), т. е. при параллельном проецировании искажение для всех параллельных отрезков постоянно. Отсюда, в частности, следует, что середина отрезка проецируется в середину проекции отрезка. Свойство 6 позволяет переносить плоскость проекций параллельно самой себе, т. е. отказаться от фиксации плоскости проекций. При этом говорят, что положение плоскости проекций определяется лишь с точностью до параллельности. Это обстоятельство весьма удобно и поэтому широко применяется при построении технического чертежа.
Еще большее упрощение построения чертежа дает применение ортогонального проецирования, являющегося частным случаем параллельного проецирования, когда направление проецирования s перпендикулярно плоскости проекций . В этом случае нетрудно установить соотношение между длиной натурального отрезка и длиной его проекции. Если отрезок образует с плоскостью проекций угол , то, проведя (рис.
4), получим из прямоугольного треугольника :
Ортогональная проекция получила наибольшее распространение в технических чертежах, так как она позволяет наиболее легко судить о размерах изображаемых предметов.

Рассмотренные выше методы проецирования позволяют однозначно решать прямую задачу, т. е. по данному оригиналу строить его проекционный чертеж. Однако обратная задача – по данному проекционному чертежу воспроизвести (реконструировать) оригинал – не решается однозначно. Эта задача допускает бесчисленное множество решений, так как каждую точку плоскости проекций можно считать проекцией любой точки проецирующей прямой, проходящей через (см. рис. 1, 2 и 4). Таким образом, рассмотренные нами проекционные чертежи не дают возможности определить оригинал, или, как говорят, не обладают свойством «обратимости». Для получения обратимых чертежей дополняют проекционный чертеж необходимыми данными. Существуют различные методы такого дополнения. В данном курсе будут применяться только два вида обратимых чертежей, а именно: комплексные чертежи в ортогональных проекциях и аксонометрические чертежи как получившие наибольшее распространение.
Наибольшее применение в технической практике получил чертеж, составленный из двух или более связанных между собой ортогональных проекций изображаемого оригинала. Такой чертеж называется комплексным.
Принцип образования такого чертежа состоит в том, что данный оригинал проецируется ортогонально на две взаимно перпендикулярные плоскости проекций, которые затем соответствующим образом совмещают с плоскостью чертежа. Одна из плоскостей проекций 1 располагается вертикально перед наблюдателем и поэтому называется фронтальной плоскостью проекций (рис. 5а), а другая плоскость 2 располагается горизонтально и называется горизонтальной плоскостью проекций. Прямую пересечения плоскостей проекций называют осью проекций.

Спроецируем ортогонально на плоскости проекций 1 и 2 какую-нибудь точку , тогда получим две ее проекции: фронтальную проекцию на плоскости 1 и горизонтальную проекцию на плоскости 2.
Проецирующие прямые и , при помощи которых точка проецируется на плоскости проекций, определяют проецирующую плоскость , перпендикулярную к обеим плоскостям проекций и к оси проекций . Прямые и , являющиеся проекциями проецирующей плоскости на плоскостях проекций 1 и 2, будут перпендикулярны к оси проекций .
Обратно, каждая пара точек и , соответственно принадлежащих плоскостям 1 и 2 и расположенных на перпендикулярах к оси , восстановленных из одной и той же точки , определяет в пространстве единственную точку . В самом деле, если провести через точки и перпендикуляры и соответственно к плоскостям 1 и 2, то они, находясь в одной плоскости , пересекутся в некоторой точке . Расстояние точки от горизонтальной плоскости проекций называется высотой точки , а ее расстояние от фронтальной плоскости проекций – глубиной точки .
Чтобы получить плоский чертеж, совместим плоскость проекций 2 c плоскостью 1, вращая плоскость 2 вокруг оси в направлении, указанном на рис. 5а стрелкой. В результате получим комплексный чертеж точки (рис. 5б), состоящий из двух проекций и точки , лежащих на одной прямой, перпендикулярной к оси . Прямая , соединяющая две проекции точки, называется линией связи.
Полученный комплексный чертеж будет обратимым, т. е. по этому чертежу можно определить или, как говорят, реконструировать оригинал. В самом деле, рассматривая, например, фронтальную проекцию точки и имея на чертеже ее глубину , можно реконструировать точку . Для этого надо восстановить перпендикуляр к плоскости чертежа в его точке и от плоскости чертежа отложить глубину искомой точки, тогда конец перпендикуляра определит положение точки .
Рассмотренный принцип образования комплексного чертежа получил со времен Монжа широкое распространение в учебной литературе. Однако в технической практике нет необходимости в определении положения изображаемого оригинала относительно неподвижной системы плоскостей проекций, поэтому при образовании комплексного чертежа можно отказаться от фиксации плоскостей проекций. Основанием этому может служить установленное свойство 6, что проекция фигуры не меняется при параллельном переносе плоскости проекций.
Образование комплексного чертежа точки при нефиксированных плоскостях проекций показано на рис. 6. В этом случае плоскости проекций 1 и 2 совмещают с плоскостью чертежа так, чтобы проекции проецирующей плоскости на плоскостях 1 и 2 лежали бы на одной прямой (рис. 6б) * . Это возможно сделать и при образовании комплексного чертежа любого множества точек, так как проекции всех проецирующих плоскостей этих точек на обеих плоскостях проекций будут параллельны, а расстояния между проекциями каждых двух из этих плоскостей на плоскостях 1 и 2 равны между собой. Для удобства чтения чертежа плоскость 2 считают расположенной ниже всех точек оригинала, а плоскость 1 – сзади всех точек оригинала.

Изображение на плоскости проекции 1 в технической практике называют видом спереди, или, короче, видом 1, отображение же на плоскости проекций 2 называют видом сверху, или видом 2. Реконструирование оригинала по его комплексному чертежу, образованному при нефиксированных плоскостях проекций, производят по его виду спереди 1 и измеренным на чертеже глубинам точек оригинала по отношению к фиксированной в произвольном положении плоскости проекции 1 (рис. 6а); на виде сверху эту плоскость обозначим знаком треугольника. Фиксированные плоскости проекций, по отношению к которым производят какие-либо измерения, в дальнейшем будем называть базовыми плоскостями.
* На рис. 6 и на всех последующих чертежах опущены индексы в обозначениях проекций точек и других оригиналов. Расположение видов определяется ГОСТ 2.305-68 ЕСКД.
Таким образом, для реконструкции точки по ее комплексному чертежу (рис. 6б) нужно восстановить перпендикуляр к плоскости чертежа в его точке А на виде спереди и отложить на нем от плоскости чертежа глубину точки , измеренную на виде сверху от базовой плоскости, отмеченной на этом виде знаком треугольника (вид сверху этой базовой плоскости будем называть базой отсчета глубин).
Конец этого перпендикуляра определит положение точки по отношению к плоскости чертежа. Так как положение базовой плоскости выбирается произвольно, то при реконструкции оригинала по комплексному чертежу, образованному при нефиксированных плоскостях проекций, его положение определяется с точностью до параллельного переноса.
Прямая линия определяется двумя точками, поэтому на комплексном чертеже всякая прямая может быть задана видами спереди и сверху двух ее точек и (рис. 7). Но так как параллельная проекция обладает свойствами прямолинейности и принадлежности, то прямую на комплексном чертеже, вообще говоря, можно задать и ее видами спереди и сверху, причем на этих видах она будет проходить через точки и (рис. 7б).
Очевидно, и обратно, пара видов прямой alt="Начертательная геометрия - примеры с решением заданий и выполнением задач" />, из которых ни один не параллелен линиям связи, определяет в пространстве некоторую прямую. В самом деле, виды спереди и сверху прямой задают две проецирующие плоскости, пересечением которых будет линия alt="Начертательная геометрия - примеры с решением заданий и выполнением задач" />.

Полезно заметить, что у прямой , изображенной на рис. 7а, ближайшая к наблюдателю точка (напоминаем, что наблюдатель предполагается стоящим лицом к плоскости ) расположена ниже, чем более удаленная от наблюдателя точка . Иначе говоря, прямая по мере удаления от наблюдателя поднимается вверх, поэтому прямую называют восходящей. Если же прямая по мере удаления от наблюдателя понижается, то такую прямую называют нисходящей (рис. 8а). Заметим, что на комплексном чертеже виды восходящей прямой наклонены к линиям связи в одну и ту же сторону (см. рис. 7), а виды нисходящей прямой наклонены в разные стороны (рис. 8б). В дальнейшем условимся считать, что на комплексном чертеже восходящая прямая на видах спереди и сверху ориентирована одинаково, а нисходящая – противоположно. Прямую, не параллельную ни одной плоскости проекций, принято называть прямой общего положения.

В то время как вид спереди и вид сверху двух каких-либо точек и вполне определяют прямую (см. рис. 7), не всякие две прямые, заданные на этих видах, могут определять в пространстве некоторую прямую. Если оба вида прямой параллельны линиям связи, не совпадая с одной и той же линией связи (рис. 9), или если на одном виде прямая параллельна линиям связи, а на другом (рис. 10) не параллельна им, то в обоих этих случаях такие виды не определяют прямую в пространстве. В самом деле, в этих случаях нельзя по линиям связи найти для всех точек прямой на виде сверху соответствующие точки на виде спереди.


Если же оба вида прямой (рис. 11) находятся на одной линии связи, то проецирующие плоскости, определяемые этими видами, совпадают в одну плоскость , и поэтому этой паре видов соответствует в пространстве бесчисленное множество прямых, лежащих в плоскости . Плоскость , перпендикулярная к обеим плоскостям проекций 1 и 2, называется профильной плоскостью, а прямые этой плоскости – профильными прямыми.

Таким образом, все профильные прямые, расположенные в одной и той же профильной плоскости , изображаются на комплексном чертеже одной и той же парой видов, расположенных на одной линии связи. Поэтому эта пара видов не определяется единственной профильной прямой. Итак, всякая непрофильная прямая вполне определяется двумя своими видами, для определения же профильной прямой необходимо задать на обоих видах прямой две ее точки и (см. рис. 11) * .
Деление отрезка в данном отношении. Чтобы задать на данной непрофильной прямой какую-нибудь точку , достаточно задать ее на обоих видах прямой (рис. 12).
Точка будет принадлежать данной прямой на основании сохранения принадлежности при параллельном проецировании.

Так как отношение отрезков одной и той же прямой сохраняется на каждом виде этой прямой, то для деления данного отрезка в данном отношении достаточно разделить в этом отношении один из видов этого отрезка, а затем спроецировать делящую точку на другой его вид. Отрезок разделен точкой в отношении 2 : 3, первоначально в этом отношении был разделен вид сверху данного отрезка (рис. 13). Деление отрезка в данном отношении можно использовать для задания точки на профильной прямой. Пусть дана профильная прямая , на которой отмечены две точки и (рис. 14). Чтобы задать какую-нибудь точку на этой прямой, выбираем сначала точку , например, на виде сверху в произвольной точке прямой . На виде спереди точку находим на прямой р при помощи деления отрезка в том же отношении, в котором точка делит отрезок на виде сверху. Построение удобнее произвести следующим образом: через данные точки и на виде сверху проводим два параллельных луча произвольного направления до пересечения в точках и с соответствующими параллельными лучами, проведенными через точки и на виде спереди.
Далее через выбранную точку на виде сверху проводим луч, параллельный лучам, проходящим через точки и на этом виде до пересечения его в точке с прямой , называемой прямой преломления лучей, и через точку проводим луч, параллельный лучам, проходящим через точки и , до пересечения с прямой на виде спереди в искомой точке . Справедливость указанного построения следует из сохранения отношения на обоих видах, которое имеет место на основании свойств отрезков прямых, пересеченных параллельными прямыми.

Таким образом, точки профильной прямой на видах спереди и сверху связаны между собой ломаными линиями связи, вершины которых находятся на прямой преломления. Этот способ построения точек, принадлежащих прямой, рекомендуется применять не только для профильных прямых, но и для таких, виды которых образуют с линиями связи комплексного чертежа весьма острые углы. В этих случаях ломаные линии связи дают большую точность построения, чем обычные линии связи комплексного чертежа.
Эту задачу можно выполнить с помощью так называемого способа прямоугольного треугольника.
Пусть дан отрезок общего положения (рис. 15а). Зафиксируем плоскость проекций так, чтобы она прошла через один из концов отрезка, например, через точку , тогда получим прямоугольный треугольник , в котором гипотенузой является отрезок , одним катетом – проекция отрезка , а вторым катетом – расстояние точки от плоскости проекций. Угол , образованный отрезком и его проекцией , является углом наклона отрезка к плоскости проекций .
Очевидно, что если плоскостью проекций будет горизонтальная или фронтальная плоскость, то одним из катетов будет соответственно вид сверху или вид спереди отрезка , а другим – высота или глубина одного конца отрезка относительно другого.

Таким образом, натуральная величина отрезка является гипотенузой прямоугольного треугольника, у которого одним из катетов будет любой из видов отрезка, а вторым катетом соответственно – высота или глубина одного из концов отрезка относительно другого. Построение натуральной величины отрезка выполнено на рис. 15б, его длина обозначена , при этом показаны два варианта решения. В одном варианте построен прямоугольный треугольник на виде сверху данного отрезка, а в другом – прямоугольный треугольник на его виде спереди. Гипотенузы этих треугольников и определяют натуральную величину отрезка , а углы и – углы наклона этого отрезка к плоскостям проекций 1 и 2. Иногда удобнее строить прямоугольный треугольник не на виде отрезка, а на высоте или на глубине одного из концов отрезка относительно другого. Оба варианта этих построений показаны на рис. 15в. Отрезки и определяют натуральную величину отрезка .
Плоскость определяют три ее точки, не лежащие на одной прямой, поэтому на комплексном чертеже всякая плоскость может быть задана ее тремя точками (рис. 16а).
Для большей наглядности соединим точки и прямыми; получим задание плоскости треугольником . При этом следует помнить, что плоскость безгранична и поэтому нельзя ограничиваться построениями в пределах треугольника. В общем случае на комплексном чертеже плоскость не может быть задана ее видами, так как виды плоскости на каждой плоскости проекций 1 и 2 занимают полностью всю плоскость проекций. Поэтому в общем случае виды плоскости не определяют ее положения в пространстве.

Таким образом, если всякая точка и всякая непрофильная прямая могут быть заданы на комплексном чертеже своими видами спереди и сверху, то профильные прямые и, в общем случае, плоскости не определяются этими видами. Как профильные прямые, так и плоскости на комплексном чертеже приходится задавать с помощью точек, их определяющих. Если плоскость по мере удаления от наблюдателя поднимается вверх, то ее называют восходящей. Чтобы избежать недоразумений, удаление надо производить по профильной прямой плоскости * . На комплексном чертеже (рис. 16б) оба вида треугольника , которым задана восходящая плоскость, имеют одинаковые обходы (против движения часовой стрелки). Нисходящая плоскость по мере удаления от наблюдателя понижается. Виды треугольника , которым задана нисходящая плоскость, имеют противоположные обходы (вид сверху имеет обход по движению часовой стрелки, а вид спереди – против движения часовой стрелки) (рис. 17).
В дальнейшем будем считать, что на комплексном чертеже виды восходящей плоскости ориентированы одинаково, а нисходящей – противоположно. Задание плоскости тремя точками или, что то же самое, треугольником, не является единственно возможным. Так как плоскость вполне определяется прямой и точкой, взятой вне прямой, или двумя пересекающимися прямыми, или двумя параллельными прямыми, или, наконец, любой плоской фигурой, то на комплексном чертеже плоскость может быть задана видами этих элементов ** . При этом всегда можно перейти от одного способа задания плоскости к другому и, в частности, к заданию плоскости тремя точками.
Чтобы иметь возможность выполнять какие-нибудь построения в плоскости, заданной своим комплексным чертежом, необходимо уметь строить в данной плоскости любые ее точки.
Пусть плоскость задана тремя точками и (рис. 17). Покажем, как задать какую-нибудь точку этой плоскости. Для большей наглядности соединим точки и прямыми; тогда плоскость будет задана треугольником . Проще всего искомую точку задать на какой-нибудь стороне, например, треугольника . Для этого достаточно ее задать на обоих видах стороны . Точка как принадлежащая прямой , лежащей в плоскости , будет принадлежать и плоскости .

Для более общего задания точки, принадлежащей плоскости , следует провести в этой плоскости произвольную прямую . Выделив на плоскости две произвольные точки, например, и , мы определим этими точками прямую , принадлежащую плоскости . Теперь любая точка прямой будет принадлежать плоскости .
Так как вид плоскости покрывает все поле чертежа, то на одном из видов точку, принадлежащую плоскости, можно задать произвольно, тогда на другом виде точка определится однозначно. Выберем произвольно точку на виде сверху. Далее проведем в плоскости какую-нибудь прямую , которая на виде сверху проходила бы через выбранную точку . Прямая определена точками и , принадлежащими плоскости . Построив прямую на виде спереди, найдем на нем искомую точку .
Итак, построение точки в данной плоскости сводится к двум операциям: построению в плоскости вспомогательной прямой и точки на этой прямой. При этом можно выбрать точку на одном из видов, а на другом построить ее при помощи вспомогательной прямой, проведенной на данной плоскости так, чтобы на соответствующем виде она проходила бы через выбранную точку.
Как было показано, комплексный чертеж, состоящий из видов спереди и сверху * , является обратимым, т. е. по этому чертежу можно реконструировать оригинал.
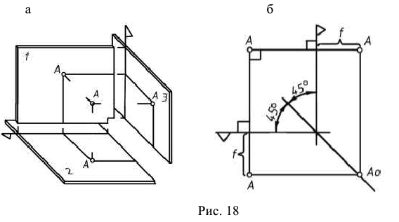
Однако реконструкция оригинала, у которого имеются профильные элементы и, в частности, профильные прямые или плоскости, становится проще, когда помимо видов спереди и сверху имеется еще и вид на третьей плоскости. В качестве такой плоскости проекций применяется плоскость, перпендикулярная к обеим основным плоскостям 1 и 2, называемая профильной плоскостью проекций ** , ее обозначают 3, а изображение на ней называют видом слева. Три плоскости проекций 1, 2 и 3 образуют систему трех взаимно перпендикулярных плоскостей (рис. 18а).

* Комплексный чертеж из двух видов иногда называют двухкартинным чертежом.
* * В начертательной геометрии эту плоскость принято располагать правее оригинала. Однако в технической практике используют и вторые профильную, горизонтальную и фронтальную плоскости проекций, соответственно обозначаемые 4, 5 и 6 и расположенные левее, над и перед оригиналом. Изображение на плоскости проекций 4 называют видом справа, на плоскости 5 - видом снизу, а на плоскости 6 - видом сзади. Будем в дальнейшем называть плоскости проекций 1, 2, 3, 4, 5 и 6 стандартными (ГОСТ 2.305-68).
Рассмотрим образование такого чертежа некоторой точки при нефиксированных плоскостях проекций. Спроецировав ортогонально на плоскости проекций 1, 2 и 3 данную точку А, получим в дополнение к ее видам спереди и сверху вид слева (рис. 18а). Расстояния точки от фиксированных горизонтальной и фронтальной плоскостей проекций ранее были названы соответственно высотой и глубиной точки ; расстояние же точки от фиксированной профильной плоскости проекций называется широтой точки .
Если теперь совместить плоскости проекций 1, 2 и 3 с плоскостью чертежа так, чтобы проекции проецирующей плоскости на плоскостях 1 и 2 оказались на одной вертикальной прямой (вертикальной линии связи), а проекции проецирующей плоскости на плоскостях 1 и 3 – на одной горизонтальной прямой (горизонтальной линии связи), то получим комплексный чертеж точки в трех видах (рис. 18б). Если зафиксировать плоскость проекции 1 и принять ее за базовую плоскость, то глубина точки может быть измерена на видах сверху и слева от баз отсчета глубин, отмеченных знаком треугольника. Следовательно, для построения точки на виде слева, заданной на видах спереди и сверху, нужно провести через точку на виде спереди горизонтальную линию связи, на которой отложить от базы отсчета глубин величину, предварительно измеренную на виде сверху от той же базы отсчета. При построении точки на виде слева можно использовать постоянную прямую преломления, обеспечивающую сохранение глубины точки (см. рис. 18б). Постоянная прямая преломления, являясь биссектрисой прямого угла между базами, будет наклонена к вертикальным и горизонтальным линиям связи под одним и тем же углом 45 0 . Итак, три вида какой-либо точки являются вершинами прямоугольника, четвертой вершиной которого является точка , принадлежащая постоянной прямой преломления. При этом виды спереди и сверху связаны вертикальной линией связи, виды спереди и слева – горизонтальной линией связи и виды сверху и слева – ломаной горизонтально-вертикальной линией связи.
Пример, при решении которого будет использован вид слева:
На профильной прямой , заданной точками и , построить произвольную точку (рис. 19).
Этот пример был уже решен (см. рис. 14) с помощью прямой преломления и ломаных линий связи. Теперь рассмотрим его решение с помощью вида слева прямой . Для этого проведем постоянную прямую преломления под углом 45° к вертикальным линиям связи. Пользуясь прямой преломления, найдем на виде сверху точки и , определяющие прямую .

Если выбрать на виде слева точку на прямой произвольно, то эта точка легко определится и на видах спереди и сверху. Сравнивая решение, приведенное ранее (см. рис. 14), с данным решением, нетрудно заметить, что последнее несколько сложнее первого, независимо от того, будет ли при последнем решении использована постоянная прямая преломления или оно будет выполнено с помощью измерения глубин точек. Единственным преимуществом последнего решения является его большая наглядность.
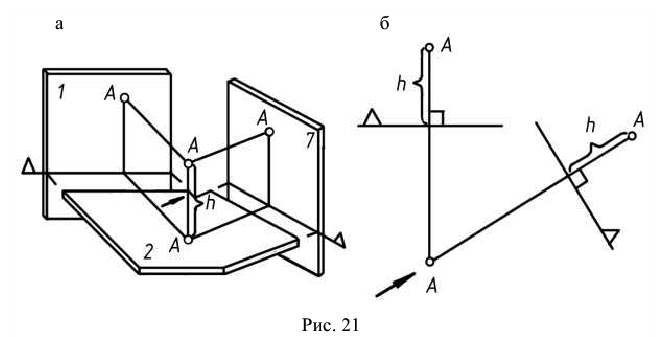
Часто при решении различных задач, а также при необходимости получения новых видов оригинала, помимо его шести видов на основных плоскостях проекций 1, 2, 3, 4, 5 и 6 приходится вводить новые дополнительные плоскости проекций 7, 8, . . Эти плоскости располагают перпендикулярно любой из стандартных плоскостей проекций. Иначе говоря, новое направление проецирования должно быть параллельно одной из стандартных плоскостей проекций.
Так, например, введем дополнительную плоскость проекций 7, расположив ее перпендикулярно плоскости проекций 1 (рис. 20а). При этом новое направление проецирования будет параллельно плоскости 1, покажем его стрелкой (на рис. 20б эта стрелка изображена только на виде спереди). Спроецируем по этому направлению на плоскость 7 данную точку .
При новом направлении проецирования сохраняется глубина точки относительно любой фронтальной плоскости . Для упрощения изображения на рис. 20а за плоскость принята фиксированная плоскость проекций 1. Глубина точки может быть измерена как на виде сверху, так и на дополнительном от баз отсчета глубин, отмеченных знаком треугольника.

Если теперь совместить плоскость проекций 7 с плоскостью чертежа так, чтобы проекции проецирующей плоскости точки А на плоскостях 2 и 7 оказались на одной прямой (наклонной линии связи, имеющей направление стрелки), то получим комплексный чертеж точки в двух стандартных и одном дополнительном видах (рис. 20б).
Аналогичным образом можно ввести дополнительную плоскость проекций 7, перпендикулярную плоскости проекций 2 (рис. 21а). Новое направление проецирования, показанное стрелкой, будет параллельно плоскости проекций 2. При этом проецировании сохраняется высота точки относительно любой горизонтальной плоскости (на рис. 21а за плоскость принята фиксированная плоскость проекций 2). Высота точки может быть измерена на виде спереди или на дополнительном виде от баз отсчета высот, отмеченных знаком треугольника. В результате совмещения плоскости 7 с плоскостью чертежа получим комплексный чертеж точки (рис. 21б) в двух стандартных и одном дополнительном видах.
Таким образом, при направлении проецирования, параллельном плоскости проекций 1, сохраняются глубины относительно фронтальной плоскости , а при направлении проецирования, параллельном плоскости проекций 2, сохраняются высоты относительно горизонтальной плоскости .

Иначе говоря, для построения точки на дополнительном виде по направлению проецирования, параллельному плоскости 1 (плоскости 2), нужно провести через точку на виде спереди (виде сверху) линию связи в направлении, соответствующем направлению проецирования, и на этой линии связи следует отложить от базы отсчета дополнительного вида, отмеченного знаком треугольника, глубину (высоту ) точки , предварительно измеренную на виде сверху (спереди) от базы этого вида, отмеченной также знаком треугольника.
Чтобы иметь возможность точной передачи и точного построения комплексных чертежей каких-либо оригиналов, необходимо уметь задавать положение точек на видах комплексного чертежа, при помощи чисел. Для этого, как известно, следует пользоваться координатным методом. Этот метод приходится также применять при построении аксонометрических чертежей (гл. VII).
Пространственная система прямоугольных координат (рис. 22), употребляемая в координатном методе, состоит из трех взаимно перпендикулярных прямых и (осей координат), пересекающихся в одной точке (начало координат), и трех взаимно перпендикулярных плоскостей и (плоскостей координат), попарно пересекающихся по соответствующим осям координат. Положительными направлениями координатных осей будем считать направления, указанные стрелками. Три координатные плоскости делят пространство на восемь частей (октантов). Нумерация октантов показана на рис. 22. Каждому октанту соответствует своя система знаков направлений координатных осей. У первого октанта все три координатные оси имеют положительные направления.
Чтобы отнести данную точку к выбранной системе координат , спроецируем ее ортогонально на координатную плоскость . Получим проекцию точки , которую, в свою очередь, спроецируем ортогонально на координатную ось в точку . В результате этих двух проецирований получим пространственную ломаную линию (координатную ломаную), отрезки которой параллельны координатным осям и соответственно называются – отрезком абсциссы, – отрезком ординаты и – отрезком аппликаты.

Измеряя координатные отрезки единицей длины , получим три числа, выражающих длины соответствующих координатных отрезков, – координаты точки : абсциссу , ординату и аппликату . Так как координаты точки выражают также расстояния этой точки от координатных плоскостей, то, рассматривая эти плоскости как плоскости проекций, можно называть координаты точки соответственно – ее широтой, – глубиной и – высотой.
Если точка задана своим комплексным чертежом (рис. 23), то для отнесения ее к системе координат нужно сначала построить на комплексном чертеже координатные оси. Обычно систему координат располагают так, чтобы координатные плоскости были параллельны соответствующим плоскостям проекций, при этом параллельно горизонтальной плоскости проекций задают координатную плоскость . Тогда координатные оси на комплексном чертеже изобразятся так, как показано на рис. 23. Измеряя единицей длины широту точки на виде спереди или на виде сверху, что все равно, ее глубину – на виде сверху и высоту – на виде спереди, получим координаты и точки .

Чтобы построить точку , нужно при помощи единицы длины определить координатные отрезки точки , затем отложить отрезок, соответствующий координате на оси , а отрезки, соответствующие координатам и , – параллельно осям и (рис. 22). Конец координатной ломаной и определит искомую точку. В зависимости от знаков координат точка может оказаться в том или другом октанте. Имея координаты точки , единицу длины и комплексный чертеж системы координат , нетрудно построить комплексный чертеж точки .
Пример №1
Построить комплексный чертеж точки (15, 10, 20) в трех видах, если единица длины (рис. 24).
Решение:
Если у оригинала нет явно выраженных размерных баз (осей или плоскостей), которые удобно принять за оси или плоскости координат, то после соответствующего выбора системы координат можно принять за плоскости проекций сами координатные плоскости. Тогда получим комплексный чертеж при фиксированных плоскостях проекций, на котором будут совмещены: ось – на видах спереди и сверху, а ось – на видах спереди и слева. Само построение точки А на трех видах сводится к построению координатных отрезков, соответственно равных 15, 10 и 20 мм. Точка на виде сверху определяется координатами и , на виде спереди – и и на виде слева – и .
Прямые и плоскости, наклоненные к плоскостям проекций, называются прямыми и плоскостями общего положения. Прямые и плоскости, перпендикулярные, либо параллельные плоскости проекций, называются прямыми и плоскостями частного положения. Прямые и плоскости частного положения разделяются на проецирующие * прямые и плоскости, перпендикулярные плоскости проекций, и на прямые и плоскости уровня, параллельные плоскости проекций. Нетрудно видеть, что каждая проецирующая прямая является вместе с тем и прямой уровня, а каждая плоскость уровня – и проецирующей плоскостью.
Прямая , перпендикулярная плоскости проекций 2 и называемая вертикальной прямой, проецирует все свои точки на плоскость проекций 2 в одну точку , являющуюся ее видом сверху (рис. 25). На видах спереди и слева прямая параллельна вертикальным линиям связи. Прямая , будучи параллельна плоскостям проекций 1 и 3, проецируется на эти плоскости без искажения, т. е. длина отрезка может быть измерена на видах спереди и слева. Так как точки вертикальной прямой (в том числе точки и ) совпадают на виде сверху, то такие точки будем называть конкурирующими на вид сверху. Аналогично, прямая , перпендикулярная плоскости проекций 1, проецирует все свои точки (в том числе точки и ) на плоскость проекций 1 в одну точку * , являющуюся ее видом спереди (рис. 26). Эта прямая на виде сверху параллельна вертикальным линиям связи, а на виде слева – горизонтальным.
Прямая , будучи параллельна плоскостям проекций 2 и 3, проецируется на эти плоскости без искажения, т. е. длина отрезка может быть измерена на видах сверху и слева. Точки прямой, перпендикулярной плоскости проекций 1 и, в частности, ее точки и , называют конкурирующими на виде спереди.
Наконец, прямая , перпендикулярная плоскости 3, проецирует все свои точки, в том числе и точки и (рис. 27), на плоскость проекций 3 в одну точку , являющуюся ее видом слева; на видах спереди и сверху прямая параллельна горизонтальным линиям связи. Так как прямая параллельна плоскостям проекций 1 и 2, то она проецируется на эти плоскости без искажения, т. е. длина отрезка может быть измерена на видах спереди и сверху. Точки прямой, перпендикулярной плоскости проекции 3 и, в частности, ее точки и будем называть конкурирующими на виде слева.
Плоскость , перпендикулярная к плоскости проекций 2, называется вертикальной. Эта плоскость проецирует все свои точки на плоскость проекций 2 в одну прямую , которая является видом сверху плоскости . На видах спереди и слева плоскость занимает всю плоскость чертежа * (рис.28).
* Если видом прямой является точка, а видом плоскости - прямая, то такой вид будем в дальнейшем называть вырожденным видом.
На виде сверху точка или фигура, лежащие в вертикальной плоскости , располагаются на прямой . Так, прямая , лежащая в этой плоскости, на виде сверху совпадает с видом плоскости . В связи с этим говорят, что вид вертикальной плоскости «собирает на себе» точки, прямые и фигуры, расположенные в этой плоскости.
Вертикальная плоскость вполне определяется ее одним видом сверху. Вместе с этим углы и , которые образует вид соответственно с прямой, перпендикулярной вертикальным линиям связи, и с самими линиями связи задают углы наклона плоскости Б к плоскостям проекций 1 и 3. Плоскость , перпендикулярная к плоскости проекций 1, называется наклонной плоскостью, она имеет вырожденный вид на виде спереди, а на видах сверху и слева занимает все поле чертежа (рис. 29). На виде спереди всякие точка, прямая или фигура, лежащие в наклонной плоскости , располагаются на прямой . Так, треугольник , лежащий в этой плоскости, на виде спереди изображается отрезком , принадлежащим прямой . Иначе говоря, на виде спереди наклонная плоскость «собирает на себе» точки, прямые и фигуры, расположенные в этой плоскости.
Плоскость перпендикулярная плоскости 1, вполне определяется одним своим видом спереди . Углы и , которые образует вид спереди соответственно с горизонтальными и вертикальными линиями связи, измеряют углы наклона плоскости к плоскостям проекций 2 и 3. Плоскость , перпендикулярная к плоскости проекций 3, на виде слева изображается прямой , а на видах спереди и сверху плоскость занимает все поле чертежа (рис. 30). Аналогично предыдущей ее также называют наклонной плоскостью. На виде слева всякая точка, прямая или фигура, лежащие в плоскости , располагаются на прямой , которая «собирает на себе» эти оригиналы. Так, прямые и плоскости и перпендикулярные плоскости проекций 3, на виде слева изображаются точка- ми и , принадлежащими виду слева плоскости . Плоскость вполне определяется одним своим видом . Углы и , которые образует вид , соответственно с вертикальными и горизонтальными линиями связи, задают углы наклона плоскости к плоскостям проекций 1 и 2.
В практике очень часто прибегают к помощи плоскостей, перпендикулярных плоскостям проекций, так как различные вопросы с ними решаются весьма просто. Так, чтобы построить произвольную точку, прямую или фигуру в такой плоскости, достаточно один из видов этих фигур взять на прямой, являющейся видом плоскости (см. рис. 28, 29 и 30).
Точку и прямую, а также две прямые, расположенные в одной и той же вертикальной плоскости, называют конкурирующими на вид сверху точкой и прямой или конкурирующими на вид сверху прямыми, так как, в общем случае, на виде сверху они либо взаимно принадлежат друг другу, либо совпадают. Исключение составляют случаи точки и вертикальной прямой, а также двух вертикальных прямых. В этих случаях на виде сверху оригиналы не принадлежат друг другу и не совпадают и поэтому они не являются конкурирующими.
Аналогично точку и прямую, а также две прямые, расположенные в одной и той же плоскости, перпендикулярной плоскости 1 или 3, называют конкурирующими соответственно на вид спереди или слева точкой и прямой или прямыми. Так, каждая вершина и противоположная сторона, а также стороны треугольника , расположенного в наклонной плоскости (см. рис. 29), являются конкурирующими на вид спереди, в то время как прямые и , расположенные в одной и той же плоскости , перпендикулярной плоскости проекций 3 (см. рис. 30), конкурирующими называть не следует.
Плоскость, параллельную какой-нибудь плоскости проекций, называют плоскостью уровня, так как все точки этой плоскости одинаково удалены от соответствующей плоскости проекций. Плоскость , параллельную горизонтальной плоскости проекций 2, называют горизонтальной плоскостью (рис. 31), а плоскость , параллельную фронтальной плоскости проекций 1, называют фронтальной плоскостью (рис. 32). Профильная плоскость , рассмотренная, также является плоскостью уровня по отношению к профильной плоскости проекций 3, которой она параллельна (рис. 33).
Так как плоскости уровня и перпендикулярны соответствующим плоскостям проекций, то на комплексном чертеже они могут быть заданы одним своим вырожденным видом: плоскость – видом сверху или слева, плоскость – видом спереди или слева и плоскость – видом спереди или сверху. При этом каждый из этих видов является прямой, перпендикулярной или параллельной соответствующим линиям связи. Всякая фигура, лежащая во фронтальной , горизонтальной или профильной плоскости, проецируется без искажения соответственно на плоскости проекций 1, 2 или 3.
Прямая, параллельная какой-нибудь плоскости проекций, называется прямой уровня. Прямая уровня , параллельная горизонтальной плоскости проекций 2, называется горизонталью, а прямая уровня , параллельная фронтальной плоскости проекций 1, называется фронталью. Профильная прямая (§ 3, п. 2) также является прямой уровня по отношению к плоскости проекций 3, которой она параллельна.
Так как горизонталь лежит в соответствующей горизонтальной плоскости (см. рис. 31), то на видах спереди и слева она соответственно совпадает с вырожденными видами плоскости . Поэтому на комплексном чертеже горизонталь на видах спереди и слева совпадает с одной и той же горизонтальной линией связи.
Из условия, что фронталь лежит в соответствующей фронтальной плоскости (см. рис. 32), следует, что на видах сверху и слева она совпадает соответственно с вырожденными видами плоскости . Поэтому на комплексном чертеже фронталь на видах сверху и слева соответственно перпендикулярна вертикальным и горизонтальным линиям связи.
Профильная прямая , как уже отмечалось, на видах спереди и сверху совпадает с одной и той же вертикальной линией связи (см. рис. 33). Прямые уровня проецируются без искажения на параллельную им плоскость проекций. Поэтому на плоскости проекций 2 горизонтали не искажаются, на плоскости проекций 1 не искажаются фронтали, а на плоскости проекций 3 – профильные прямые.
Отсюда следует, что длина отрезка горизонтали h может быть измерена на виде сверху, длина отрезка фронтали – на виде спереди, а длина отрезка профильной прямой – на виде слева. Одновременно с этим на виде сверху можно измерить углы и наклона горизонтали соответственно к плоскостям проекций 1 и 3 (см. рис. 31). Аналогично на виде спереди можно измерить углы и наклона фронтали соответственно к плоскостям проекций 2 и 3 (см. рис. 32), а на виде слева – углы и наклона профильной прямой соответственно к плоскостям проекций 1 и 2 (см. рис. 33).
В плоскости общего положения можно провести бесчисленное множество горизонталей, фронталей и профильных прямых, при этом все горизонтали будут параллельны между собой, точно так же будут параллельны между собой фронтали и профильные прямые.
Пример №2
Плоскость задана тремя точками и . Провести в этой плоскости через одну из данных точек, например, точку , горизонталь и фронталь , а через точку – профильную прямую .
Решение:
Для удобства построения, а также для большей наглядности изображения перезададим плоскость треугольником (рис. 34). Определим горизонталь данной точкой и вспомогательной точкой 1, причем точка 1 взята на прямой так, чтобы на виде спереди она была бы перпендикулярна вертикальным линиям связи. Фронталь проводим через точку и точку 2, взятую на прямой так, чтобы на виде сверху она была перпендикулярна вертикальным линиям связи.
Таким образом, построение горизонтали начинаем на виде спереди, а построение фронтали – на виде сверху. Профильную прямую определим данной точкой и точкой , взятой на прямой так, чтобы она на обоих видах совпадала с одной и той же вертикальной линией связи.
Следует отметить, что так как в системе плоскостей проекций 1 и 2 профильная прямая не определяется ее видами спереди и сверху, точки и , которыми она определена, являются не вспомогательными, а ее основными точками. Очевидно, что через каждую точку плоскости можно провести в этой плоскости лишь одну горизонталь, одну фронталь и одну профильную прямую.
Задание плоскости следами
Выше были рассмотрены различные формы задания на комплексном чертеже плоскости общего положения. Если комплексный чертеж образован при фиксированных плоскостях проекций, то возможно задание плоскости ее следами, т. е. прямыми ее пересечения с плоскостями проекций (рис. 35). След на горизонтальной плоскости проекций 2 является не чем иным, как горизонталью данной плоскости, а след на фронтальной плоскости проекций 1 – ее фронталью .
В общем случае следы плоскости пересекаются, и точка их пересечения лежит на оси проекций. Задание плоскости ее следами на плоскостях проекций является частным случаем задания плоскости двумя пересекающимися прямыми. Отсюда следует, что решение всевозможных задач с плоскостями, заданными их следами, можно производить так же, как с плоскостями, заданными двумя пересекающимися прямыми уровня. Так, на рис. 35 показано построение точки , принадлежащей плоскости , заданной своими следами и . Это построение выполнено при помощи вспомогательной прямой, определяемой точками 1 и 2, выделенными на прямых (следах) и данной плоскости, т. е. так же, как это делалось в случае задания плоскости тремя точками.
Задание плоскости следами не находит применения в технической практике, так как требует фиксации плоскостей проекций, что без нужды вносит дополнительные усложнения. Кроме того, оно может быть и неудобно, например, когда точка схода следов или сами следы оказываются за пределами чертежа.
Прямые плоскости, перпендикулярные к прямым уровня этой плоскости, называются прямыми наибольшего уклона данной плоскости к соответствующей плоскости проекций.
Такое название этих прямых объясняется тем, что среди различных прямых какой-либо плоскости прямые наибольшего уклона, перпендикулярные горизонталям плоскости, образуют наибольший угол с горизонтальной плоскостью, перпендикулярные фронталям плоскости – с фронтальной плоскостью, а перпендикулярные профильным прямым плоскости – с профильной плоскостью.
Действительно, если провести в плоскости прямую , перпендикулярную к горизонтали этой плоскости, и произвольную прямую , отличную от прямой (рис. 36), то прямая образует больший угол наклона с горизонтальной плоскостью , нежели прямая .
Перенесем плоскость проекций 2 параллельно самой себе так, чтобы она совпала с выбранной плоскостью , и обозначим ее в этом положении через . При таком переносе углы прямых и с плоскостью нe изменятся. Так как угол наклона прямой к плоскости измеряется углом между прямой и ее ортогональной проекцией на эту плоскость, то углы прямых и с плоскостью будут соответственно измеряться углами . Покажем, что . Для этого рассмотрим два прямоугольных треугольника и с общим катетом . В этих треугольниках имеем , так как – перпендикуляр, а – наклонная по отношению к горизонтали . Поэтому если совместить вращением вокруг плоскости рассматриваемых треугольников, то прямая займет положение внутри треугольника . Теперь можно утверждать, что больше , так как внешний угол треугольника больше внутреннего, с ним не смежного. Таким образом, прямая плоскости , перпендикулярная к ее горизонтали , является прямой наибольшего уклона к горизонтальной плоскости. На основании обратной и прямой теорем «о трех перпендикулярах» следует, что если (см. рис. 36), то и обратно, если , то . Прямую наибольшего уклона к горизонтальной плоскости часто называют линией ската, так как материальная частица, находящаяся на плоскости, будет скатываться по этой линии.
Таким образом, на виде сверху линия ската данной плоскости перпендикулярна к любой горизонтали этой плоскости.
Аналогично можно доказать, что прямая плоскости , перпендикулярная к фронтали или профильной прямой этой плоскости, является соответственно прямой наибольшего уклона к фронтальной или профильной плоскости и что эта перпендикулярность сохраняется на соответствующем виде.
Прямая наибольшего уклона плоскости к какой-либо плоскости уровня с соответствующим видом этой прямой образует линейный угол двугранного угла плоскости Б с выбранной плоскостью уровня.
Поэтому измерение двугранного угла между плоскостью общего положения и плоскостью уровня может быть сведено к измерению угла между прямой наибольшего уклона плоскости к выбранной плоскости уровня и соответствующим видом этой прямой.
Пример №3
Провести в плоскости общего положения через ее точку В прямые наибольшего уклона и к фронтальной и горизонтальной плоскостям уровня (рис. 37).
Решение:
Вначале построим прямую наибольшего уклона к фронтальной плоскости. Для этого предварительно построим в плоскости фронталь при помощи точек и . Так как прямая наибольшего уклона перпендикулярна к фронталям плоскости , а эта перпендикулярность сохраняется на виде спереди, то на этом виде прямую строим перпендикулярно фронтали , проведя ее, например, через точку . На виде сверху прямую проводим из условия принадлежности плоскости , для чего использованы точки и 2.
Теперь построим прямую наибольшего уклона к горизонтальной плоскости. Для этого проводим в плоскости горизонталь при помощи точек и 3. Так как прямая наибольшего уклона перпендикулярна горизонталям плоскости , а эта перпендикулярность сохраняется на виде сверху, то на этом виде прямую проводим через точку перпендикулярно к . На виде спереди прямую находим при помощи точек и 4, выделенных на плоскости .
Для увеличения наглядности чертежа при его построении прибегают к некоторой условной видимости. При этом невидимые линии либо вовсе не изображаются, либо показываются менее заметными для глаза, чем видимые линии. Обычно невидимые линии вычерчивают штрихами в два раза меньшей толщины, чем толщина сплошных линий, которыми изображают видимые линии.
Будем считать, что направление лучей зрения совпадает с направлением проецирования. Ясно, что если две точки лежат на одном и том же луче зрения, то одна из них закрывается другой, причем точка, расположенная ближе к наблюдателю, будет видимой, а точка, расположенная дальше от наблюдателя, – невидимой.
При рассматривании по направлению стрелки 2 точек и , конкурирующих на вид сверху (рис. 38), точка будет видимой на этом виде, а точка – невидимой. Если же рассматривать по направлению стрелки 1 точки и , конкурирующие на виде спереди, то точка будет видимой на этом виде, а точка – невидимой. Отсюда получаем следующий критерий видимости для комплексного чертежа: из двух точек, конкурирующих на вид сверху, видна на этом виде та точка, которая расположена выше, а из двух точек, конкурирующих на вид спереди, видна на этом виде та точка, которая расположена ближе (по отношению к наблюдателю, стоящему лицом к плоскости 1).
Аналогично из двух точек, конкурирующих на вид слева, видна на этом виде та точка, которая расположена левее.
На комплексном чертеже (рис. 38б) из двух точек и , конкурирующих на виде сверху, видимой будет на этом виде точка , так как, сравнивая эти точки на виде спереди, видим, что она расположена выше точки . На виде спереди из двух конкурирующих на этот вид точек и видимой будет точка , так как, сравнивая эти точки на виде сверху, видим, что она находится ближе точки .
Критерий видимости может быть применен для определения видимости элементов любых фигур.
Пример №4
Определить видимость ребер тетраэдра (рис. 39).
Решение:
Сначала выясним видимость ребер тетраэдра на виде сверху. При рассматривании тетраэдра по стрелке 2, т. е. принимая направление луча зрения совпадающим с направлением проецирования на плоскость 2, замечаем, что ребра тетраэдра , , и являются контурными, следовательно, эти ребра видимы на виде сверху. Остается выяснить видимость ребер и . Обозначим пару конкурирующих на вид сверху точек этих ребер через 1 и 2. Тогда, судя по их расположению на виде спереди, видно, что точка 1 расположена выше точки 2. Поэтому точка 1, а следовательно, и ребро , которому принадлежит эта точка, видимы на виде сверху, а точка 2 и ребро – невидимы.
Теперь установим видимость на виде спереди. При рассматривании тетраэдра по стрелке 1 его ребра , , и являются контурными ребрами, и поэтому они видимы на виде спереди. Для выяснения видимости ребер и выделим на этих ребрах пару точек 3 и 4, конкурирующих на вид спереди. Так как на виде сверху точка 4 расположена ближе точки 3, то точка 4, а следовательно, и ребро , которому она принадлежит, видимы на виде спереди. Точка же 3 и ребро будут невидимы.
Все точки плоской линии, ломаной или кривой находятся в одной плоскости, определяемой любыми тремя точками этой линии, не лежащими на одной прямой.
Наиболее часто встречающимися на практике плоскими линиями являются правильные замкнутые ломаные линии, а из кривых – кривые второго порядка * : окружность, эллипс, парабола и гипербола, а также различные закономерные кривые, такие как синусоида, циклоида, архимедова спираль и др.
На основании свойств параллельного проецирования можно установить, какие свойства линий сохраняются у их проекций. Из свойств однозначности, прямолинейности и принадлежности следует, что проекцией ломаной в общем случае будет также ломаная с тем же числом вершин. Из этих свойств следует также, что секущая и касательная к кривой линии проецируются соответственно в секущую и касательную к ее проекции, при этом сохраняется число точек пересечения секущей с кривой ** . Бесконечно удаленные точки кривой проецируются в бесконечно удаленные точки ее проекции. Сохранение этих свойств кривых при параллельном проецировании позволяет утверждать, что окружность и эллипс проецируются в эллипс, парабола проецируется в параболу, а гипербола – в гиперболу. Кривую линию называют гладкой кривой, если в каждой из ее точек имеется единственная касательная .
Точки плоской кривой разделяются на обыкновенные и особые. На рис. 40а показана обыкновенная точка , а на рис. 40б, в, г, д, е – некоторые особые точки (перегиба , возврата первого рода и второго рода , узловая и излома ). При проецировании все эти особенности точек кривой сохраняются, и поэтому по проекции плоской кривой можно судить о характере самой кривой.
Так как построение проекций окружности на комплексном чертеже будет встречаться в дальнейшем довольно часто, то выясним здесь некоторые свойства ортогональной проекции окружности.
* Кривые, определяемые в декартовых координатах алгебраическими уравнениями» называются алгебраическими, причем степень уравнения является порядкохм кривой. Порядком алгебраической кривой определяется максимальное число точек ее пересечения с прямой. Так, кривая второго порядка пересекается со всякой прямой не более чем в двух точках.
* * Это означает, что порядок плоской алгебраической кривой сохраняется при параллельном проецировании.
Как известно, параллельной проекцией окружности является кривая, называемая эллипсом. Так как ортогональная проекция является частным случаем параллельной проекции, то, проецируя окружность , расположенную в плоскости общего положения (рис. 41), ортогонально на плоскость , получим эллипс .
В окружности проведем два взаимно перпендикулярных диаметра и , причем диаметр пройдет по прямой уровня плоскости , а диаметр – по прямой наибольшего уклона этой плоскости по отношению к плоскости проекций . Тогда диаметр спроецируется в диаметр эллипса, равный диаметру окружности, т. е. , а диаметр – в диаметр эллипса.
Так как угол, образованный этими диаметрами, является линейным углом двугранного угла наклона плоскости к плоскости , то, обозначив его через , получим . Как известно, взаимно перпендикулярные диаметры окружности обладают свойством сопряженности (каждый сопряженный диаметр делит пополам хорды, параллельные другому диаметру), а это свойство при параллельном проецировании сохраняется, то диаметры и будут сопряженными диаметрами эллипса. Но, с другой стороны, эти диаметры взаимно перпендикулярны, так как являются проекциями взаимно перпендикулярных диаметров, один из которых параллелен плоскости проекций, поэтому они являются осями эллипса, причем – большая ось, а – малая ось.
Таким образом, большая ось эллипса, являющегося ортогональной проекцией окружности, расположенной в некоторой плоскости , параллельна проекции прямой уровня этой плоскости и равна диаметру окружности, а малая ось параллельна проекции прямой наибольшего уклона плоскости и равна диаметру окружности, умноженному на косинус угла наклона плоскости к плоскости проекций.
Если обозначить большую ось эллипса через , малую – через , а диаметр окружности через , то будем иметь Рассмотрим теперь примеры построения окружности на комплексном чертеже, основанного на свойствах ее ортогональной проекции.
Пример №5
Построить в наклонной плоскости окружность радиуса с центром в точке (рис. 42).
Решение:
На виде спереди окружность выродится в отрезок прямой длиной , a на виде сверху будет эллипсом. Большая ось этого эллипса будет, как и прежде, параллельна горизонтали плоскости (в данном случае прямой, перпендикулярной фронтальной плоскости) и равна диаметру окружности . Малая ось будет параллельна горизонтальной проекции прямой наибольшего уклона (в данном случае фронтали) плоскости и будет равна , где – угол наклона плоскости к горизонтальной плоскости. Имея оси и эллипса, легко построить сколько угодно его точек при помощи двух концентрических окружностей, построенных на этих осях, как на диаметрах.
Пример №6
Построить в плоскости общего положения окружность радиуса с центром в точке (рис. 43).
Решение:
Сначала найдем центр , большую и малую оси эллипса, являющегося видом сверху искомой окружности. Для этого проводим в плоскости ее горизонталь и прямую наибольшего уклона к горизонтальной плоскости. Тогда центр и большая ось легко найдутся на горизонтали , при этом . Малая же ось СD эллипса найдется на горизонтальной проекции прямой наибольшего уклона . Для определения ее длины построим прямоугольный треугольник , одним катетом которого является отрезок , а другим – превышение точки над точкой 2. Тогда гипотенуза будет натуральной величиной отрезка , а будет измерять угол наклона плоскости к горизонтальной плоскости. Поэтому если отложить от точки на гипотенузе величину радиуса , то при помощи полученной точки легко определить сначала точку , являющуюся одним из концов малой оси эллипса, а затем и точку – второй конец малой оси.
Таким же образом можно построить оси второго эллипса, являющегося видом спереди искомой окружности. На рис. 43 этот эллипс построен по его сопряженным диаметрам и , являющимся изображениями на виде спереди взаимно перпендикулярных диаметров и искомой окружности. Как известно, при помощи параллелограмма, построенного на диаметрах и как на его средних линиях, можно построить сколько угодно точек эллипса.
Кривые, точки которых не лежат в одной плоскости, являются пространственными кривыми.
Если особенности плоских линий при их проецировании сохраняются, то при проецировании пространственных линий дело обстоит иначе. На рис. 44 даны проекции пространственной кривой, каждая из которых имеет узловые точки, однако, сама кривая таких точек не имеет, это видно при совместном рассмотрении двух ее видов.
Таким образом, для изучения свойств пространственной линии необходимо рассматривать оба вида линии. Так, прямая является касательной к пространственной кривой только в том случае, когда она на обоих видах касается кривой в одной и той же ее точке.
Теперь рассмотрим спрямление пространственной кривой для определения длины ее дуги (рис. 44).
Сначала спрямим в отрезок вид сверху дуги данной кривой. Для этого разбиваем данную дугу на части, мало отличающиеся от стягивающих их хорд, и эти хорды последовательно откладываем на горизонтальной прямой. Затем через полученные точки делений проводим прямые, параллельные линиям связи, на которых откладываем относительные высоты соответствующих точек пространственной кривой. Тогда ломаная после спрямления в отрезок прямой и будет давать приближенную длину данной дуги .
Приведенное спрямление дуги пространственной кривой основано на построении натуральной величины отрезка по способу прямоугольного треугольника.
Из пространственных кривых наиболее часто встречается в практике цилиндрическая винтовая линия, которую и рассмотрим. Если какая-нибудь точка совершает равномерное движение по некоторой прямой, которая, в свою очередь, равномерно вращается вокруг параллельной ей оси, то указанная прямая опишет поверхность кругового цилиндра, а точка опишет пространственную кривую, называемую цилиндрической винтовой линией. Высота , на которую поднимается точка при одном полном повороте, называется шагом винтовой линии.
Построение винтовой линии, ось которой расположена перпендикулярно горизонтальной плоскости, показано на рис. 45. В этом случае на виде сверху винтовая линия будет окружностью. Для построения ее вида спереди следует разделить на одинаковое число равных частей окружность, являющуюся видом сверху винтовой линии, и ее шаг; на рис. 45 деление произведено на двенадцать частей. Тогда в пересечении соответствующих горизонтальных и вертикальных прямых, проведенных через одноименные точки деления, получим точки винтовой линии на виде спереди. Соединив эти точки плавной кривой, будем иметь вид спереди винтовой линии, которая является синусоидой, что следует из способа ее построения.
Показанная на рис. 45 винтовая линия является правой, так как она имеет подъем вправо на передней стороне цилиндра. В противном случае винтовая линия является левой.
Если спрямить вид сверху винтовой линии и провести через точки деления прямые, параллельные линиям связи, на которых отложить относительные высоты соответствующих точек винтовой линии, то полученные точки лягут на одну прямую. Это следует из самого способа образования винтовой линии. Обозначив угол наклона этой прямой к горизонтальной прямой через , а диаметр цилиндра, на котором расположена винтовая линия, через , можно написать следующее соотношение: .
Указанное соотношение позволяет определить угол , называемый углом наклона винтовой линии.
В начертательной геометрии пользуются, главным образом, кинематическим способом образования поверхностей. При этом способе поверхность рассматривается как совокупность всех последовательных положений некоторой линии, перемещающейся в пространстве по определенному закону. Линия при своем движении может оставаться неизменной или непрерывно меняться.
На всякой поверхности можно, в общем случае, провести два таких семейства линий и (рис. 46), которые будут удовлетворять следующему условию: никакие две линии одного семейства не пересекаются между собой и, наоборот, каждая линия одного семейства пересекает все линии другого семейства. В этом случае поверхность может быть образована движением линии , называемой образующей, по неподвижным линиям m второго семейства, которые называются направляющими. Можно поменять местами образующие и направляющие, и при этом получится одна и та же поверхность. Каждая поверхность может быть образована различными способами. Так, например, поверхность кругового цилиндра (рис. 47) может быть образована вращением прямолинейной образующей вокруг оси, ей параллельной, или движением образующей окружности , центр которой перемещается по оси цилиндра, а плоскость окружности остается все время перпендикулярной к оси, либо вращением около оси произвольной образующей , нанесенной на поверхности цилиндра, и т. д.
Из всех возможных способов образования поверхности необходимо выбирать такие, которые являются наиболее простыми и удобными для изображения или решения данной задачи.
Чтобы задать поверхность на комплексном чертеже, достаточно иметь на нем такие элементы поверхности, которые позволяют построить каждую ее точку. Совокупность этих элементов поверхности называют определителем поверхности. Часто поверхность задается проекциями своих направляющих, причем указывается способ построения ее образующих.
Для придания чертежу большей наглядности часто строят на нем еще и очерк поверхности, а также ее наиболее важные линии и точки. Когда какая-нибудь поверхность проецируется параллельно на плоскость проекций , то проецирующие прямые, касающиеся поверхности , образуют цилиндрическую поверхность (рис. 48). Эти проецирующие прямые касаются поверхности в точках, образующих некоторую линию , называемую контурной линией. Очерком поверхности и является проекция контурной линии.
Таким образом, очерком поверхности называется граница, которая отделяет проекцию поверхности от остальной части плоскости проекций.
Для удобства изучения поверхности можно разбить на следующие классы:
Необходимо указать, что отдельные поверхности могут быть отнесены не к одному, а к нескольким классам.
Как известно, многогранной поверхностью называется поверхность, состоящая из ряда плоских многоугольников, в частности, из треугольников или параллелограммов. Элементами многогранной поверхности являются ее вершины, ребра и грани.
Из многогранных поверхностей на практике наиболее часто встречаются призматические и пирамидальные поверхности. Тело, ограниченное замкнутой многогранной поверхностью, называется многогранником. Заслуживают внимания правильные многогранники, состоящие из правильных многоугольников.
На комплексном чертеже многогранники задаются своими вершинами и ребрами, при этом, выполняя условия видимости, невидимые ребра изображают штриховыми линиями. Кроме этого, рекомендуется вершины многогранника отмечать кружками, в отличие от конкурирующих точек на скрещивающихся ребрах, которые оставляют неотмеченными. Для облегчения реконструкции многогранника рекомендуется обозначать его вершины.
Если у многогранника некоторые из его ребер являются профильными прямыми или прямыми, перпендикулярными плоскостям уровня, а вершины не обозначены, то при реконструкции многогранника по комплексному чертежу можно получить не одно, а несколько решений. В самом деле, если задан комплексный чертеж куба (рис. 49а), на котором нет обозначений вершин, то при реконструкции, помимо куба (рис. 49б) можно получить четыре различно расположенные в пространстве треугольные призмы (одна из этих призм изображена на рис. 49в), четверть кругового цилиндра (рис. 49г), фигуру, дополняющую четверть кругового цилиндра до куба (рис. 49д) и др. Для устранения многозначности в этом случае необходимо обозначить все вершины куба.
Таким образом, если у многогранника имеются ребра профильного положения или ребра, перпендикулярные плоскостям уровня, а также при совпадении каких-нибудь вершин или ребер на каком-нибудь виде обратимость чертежа достигается либо введением буквенных обозначений вершин многогранника, либо построением вида слева многогранника или какого-нибудь другого дополнительного его вида * .
Поверхностью вращения называется поверхность, которая описывается какой-либо кривой (образующей) при ее вращении вокруг неподвижной оси. Образующая может быть как плоской, так и пространственной кривой. Поверхность вращения определяется заданием своей образующей и оси (рис. 50).
Каждая точка образующей при вращении описывает окружность с центром на оси i. Эти окружности называются параллелями.
Наибольшая и наименьшая параллели называются экватором и горлом соответственно. У поверхности, изображенной на рис. 50а, параллели и являются экваторами, а параллель – горлом.
Кривые, которые получаются в сечении поверхности вращения плоскостями, проходящими через ось , называются меридианами. Все меридианы равны между собой.
При изображении поверхности вращения на комплексном чертеже обычно поверхность располагают так, чтобы ее ось была перпендикулярна к плоскости уровня. Ось вертикальная, тогда все параллели на виде сверху не искажаются, причем экватор и горло определяют очерк поверхности на виде сверху (рис. 50б). Меридиан f, расположенный во фронтальной плоскости, не искажается на виде спереди. Этот меридиан называется главным меридианом, он определяет очерк поверхности на виде спереди.
Чтобы выделить какую-нибудь точку на поверхности вращения, выбираем ее на виде спереди, после чего при помощи параллели , проведенной на уровне точки , легко построить ее и на виде сверху. На рис. 50 точка предполагается видимой на виде спереди.
Поверхности вращения получили самое широкое применение в деталях различных механизмов и машин. Основными причинами этого является, с одной стороны, распространенность вращательного движения, а с другой – простота обработки поверхностей вращения.
Клапан двигателя, ограниченный поверхностями вращения различных видов, а именно: сферической 1, торовой 2, конической 3 и цилиндрической 4, – показан на рис. 51.
Рассмотрим образование этих и других частных видов поверхностей вращения.
Сначала рассмотрим поверхности, образуемые вращением прямой линии.
При вращении прямой вокруг оси все точки прямой опишут окружности различных радиусов, причем общий перпендикуляр прямых l и будет наименьшим из всех радиусов, и поэтому точка опишет окружность, являющуюся горлом гиперболоида. Для построения главного меридиана гиперболоида достаточно повернуть вокруг оси ряд точек прямой до совмещения их с фронтальной плоскостью, проходящей через ось . Тогда получим гиперболу, которая и будет очерком на виде спереди гиперболоида.
Рассмотренные поверхности вращения можно отнести и к классу линейчатых поверхностей, так как они образованы движением прямой линии. Кроме того, эти поверхности являются поверхностями второго порядка; максимальное число точек пересечения каждой из этих поверхностей с прямой линией равно двум.
Построение точки на любой из рассмотренных выше поверхностей вращения (рис. 52–54) можно выполнить либо при помощи параллели , либо прямолинейной образующей . Все три указанные поверхности вращения применяются при передаче вращения с помощью зубчатых или фрикционных колес. Так, передача вращения производится:
Рассмотрим поверхности, образуемые вращением окружности:
Сфера является поверхностью второго порядка, а тор – четвертого, что соответствует максимальному числу точек пересечения этих поверхностей с прямой линией. Построение точки как на сфере, так и на торе производят с помощью параллели .
В заключение рассмотрим поверхности, образуемые вращением кривых второго порядка – эллипса, параболы и гиперболы вокруг их осей.
При вращении асимптот этой гиперболы получаем асимптотический конус вращения, во внутренней области которого и расположен двухполостный гиперболоид.
Рассмотренные выше четыре поверхности являются поверхностями второго порядка; максимальное число точек пересечения каждой из этих поверхностей с прямой линией равно двум.
Построение точки на каждой из этих поверхностей производится с помощью их параллелей (см. рис. 58–61).
Линейчатой поверхностью называется поверхность, которая описывается какой-либо прямой (образующей) при ее движении в пространстве по какому-нибудь закону. В общем случае линейчатая поверхность может быть получена движением прямой линии по трем направляющим.
В самом деле, если выделить на линейчатой поверхности три какие-нибудь линии и и принять их за направляющие, то движение образующей определится единственным образом. Так, выбрав на направляющей а какую-нибудь ее точку (рис. 62), можно будет провести через эту точку бесконечное множество прямолинейных образующих, пересекающих направляющую . Этим самым определится коническая поверхность с вершиной в точке . Предполагая, что она пересечется с направляющей в точке , получим образующую , определяемую точками и направляющих и . Образующая пересечет и направляющую в некоторой точке , так как принадлежит вспомогательной конической поверхности.
Таким образом, каждой точке направляющей , взятой на линейчатой поверхности, будет соответствовать определенная прямолинейная образующая , и поэтому линейчатая поверхность может быть определена заданием трех ее направляющих линий.
Помимо указанного общего способа образования линейчатой поверхности при помощи трех направляющих, существуют и другие способы, определяющие закон движения прямолинейной образующей, описывающей линейчатую поверхность.
Так, имея одну направляющую линию и потребовав, чтобы прямолинейная образующая, двигаясь по ней, в то же время проходила через неподвижную точку (конечную или бесконечно удаленную) или при своем движении она все время являлась касательной к направляющей, мы получим определенную линейчатую поверхность. Точно так же движение прямолинейной образующей по двум направляющим при сохранении определенного положения образующей относительно какой-нибудь неподвижной плоскости (параллельности этой плоскости или постоянного уклона к ней) порождает определенную линейчатую поверхность. Построение какой-либо точки на линейчатой поверхности производят при помощи ее прямолинейной образующей, проходящей через эту точку.
В зависимости от вида направляющих линий и характера движения образующей получаются различные типы линейчатых поверхностей.
Рассмотрим сначала линейчатые поверхности с одной направляющей:
Цилиндрическую поверхность можно рассматривать как частный случай конической поверхности, у которой вершиной является бесконечно удаленная точка образующей.
Если направляющей является ломаная линия, то получим частные случаи конической и цилиндрической поверхностей – пирамидальную и призматическую поверхности.
На комплексном чертеже коническая и цилиндрическая поверхности могут быть заданы направляющей и вершиной в случае конической поверхности (см. рис. 63б) или направляющей и направлением в случае цилиндрической поверхности (см. рис. 64б). Обычно при задании конической или цилиндрической поверхности в качестве направляющей выбирается какая-нибудь линия уровня, например, горизонталь .
Для увеличения наглядности изображения конической и цилиндрической поверхностей на комплексном чертеже помимо элементов, определяющих эти поверхности, дополнительно строят их очерки. Построение очерков (на обоих видах) конической и цилиндрической поверхностей показано на рис. 65 и 66.
Точками 1 и 2 обозначены концы очерковых образующих на виде сверху, а точками 3 и 4 – концы очерковых образующих на виде спереди. При этом на виде сверху точки 1 и 2 являются точками касания к направляющей очерковых образующих, а точки 3 и 4 – точками касания к линий связи. Этими очерковыми образующими определяются на обоих видах области, внутри которых могут находиться точки данных поверхностей, а также производится разграничение поверхностей на видимую и невидимую части на каждом виде.
Если направляющей конической или цилиндрической поверхности является кривая второго порядка, то и поверхность будет второго порядка * .
3) Торс образуется движением прямолинейной образующей , касающейся во всех своих положениях некоторой пространственной кривой , называемой ребром возврата (рис. 67).
Ребро возврата является направляющей торса, который вполне определяется ее заданием. Торс состоит из двух полостей, граничащих друг с другом по ребру возврата.
Коническую и цилиндрическую поверхности можно рассматривать как частные случаи поверхности торса, когда ее ребро возврата вырождается в точку (конечную или бесконечно удаленную). Конические и цилиндрические поверхности, а также торсы относятся к числу развертывающихся поверхностей (см. гл. VI). Все другие линейчатые кривые поверхности относятся к числу неразвертывающихся. Их также называют косыми.
На рис. 63, 64 и 67 показано построение точки на конической и цилиндрической поверхностях, а также на поверхности торса при помощи образующей .
3. Теперь рассмотрим некоторые из линейчатых поверхностей (например, поверхность Каталана) с двумя направляющими, а именно, линейчатые поверхности, у которых все образующие параллельны неподвижной плоскости, называемой плоскостью параллелизма.
Задание плоскости параллелизма заменяет третью направляющую, которая в этом случае является бесконечно удаленной прямой этой плоскости. Действительно, образующие линейчатой поверхности, будучи параллельными плоскости параллелизма, будут пересекаться с ней в бесконечно удаленных точках, совокупность которых и будет бесконечно удаленной прямой этой плоскости.
1) Цилиндроид образуется движением прямолинейной образующей по двум криволинейным направляющим и , причем во всех своих положениях образующая параллельна некоторой плоскости параллелизма (рис. 68). Для построения образующих цилиндроида на комплексном чертеже проводят ряд плоскостей, параллельных плоскости параллелизма, и определяют точки их пересечения с направляющими кривыми цилиндроида. На рис. 68 плоскость параллелизма является вертикальной плоскостью. Обычно для удобства построения образующих за плоскость параллелизма принимают одну из плоскостей ypовня, тогда образующие будут соответствующими линиями уровня.
2) Коноид образуется движением прямолинейной образующей по двум направляющим, из которых одна является кривой линией , а другая – прямой , причем во всех своих положениях образующая параллельна некоторой плоскости параллелизма (рис. 69). Коноид является частным случаем цилиндроида. Если у коноида прямолинейная направляющая перпендикулярна плоскости параллелизма, то коноид называется прямым.
Прямой коноид с плоскостью параллелизма показан на рис. 69; его образующие являются горизонталями.
1) Косая плоскость образуется движением прямолинейной образующей по двум скрещивающимся прямолинейным направляющим и , причем во всех своих положениях образующая параллельна некоторой плоскости параллелизма (рис. 70).
Таким образом, косая плоскость может рассматриваться как частный случай цилиндроида или коноида. Если направляющие и будут не скрещивающимися прямыми, а пересекающимися или параллельными, то косая плоскость выродится в обыкновенную плоскость, в которой лежат направляющие и .
Косая плоскость, направляющими которой являются прямые и , а плоскостью параллелизма – плоскость , изображена на рис. 70. Образующие этой косой плоскости являются горизонталями. Необходимо отметить, что ту же самую косую плоскость можно получить, если принять за направляющие две любые образующие косой плоскости, а за плоскость параллелизма – плоскость, параллельную прямым и . Отсюда следует, что у косой плоскости имеются две серии прямолинейных образующих, при этом образующая каждой серии не пересекается ни с одной образующей той же серии и пересекает все образующие второй серии. Так как в сечении косой плоскости можно получить, кроме ее прямолинейных образующих, параболу и гиперболу, то эту поверхность называют также гиперболическим параболоидом. Заметим, что на рис. 70б очерком этой поверхности на виде сверху является парабола. Косая плоскость, или гиперболический параболоид, является поверхностью второго порядка.
4. В заключение рассмотрим линейчатую поверхность, имеющую три прямолинейные направляющие. Эта поверхность называется однополостным гиперболоидом. Частный случай этой поверхности – однополостный гиперболоид вращения – был рассмотрен в § 4 (см. рис. 54 и 60). Для построения какой-либо образующей однополостного гиперболоида, заданного своими тремя прямолинейными направляющими и (рис. 71), причем прямые и – скрещивающиеся и не параллельные одной плоскости, выбираем на направляющей произвольную точку и проводим через нее и направляющую вспомогательную плоскость . Найдя точку пересечения направляющей с плоскостью , определим искомую образующую при помощи точек и . Эта образующая пересечет и направляющую в некоторой точке , так как принадлежит плоскости , проходящей через направляющую .
В отличие от однополостного гиперболоида вращения у однополостного гиперболоида общего вида в сечении, перпендикулярном к оси, получается не окружность, а эллипс. Однополостный гиперболоид общего вида является поверхностью второго порядка.
Так как поверхности второго порядка находят особенно широкое применение в технике, то здесь мы дадим краткую сводку всех поверхностей второго порядка, включая и те из них, которые были рассмотрены как поверхности вращения или линейчатые поверхности.
Поверхность второго порядка можно определить либо как поверхность, пересекающуюся с произвольной плоскостью по кривой второго порядка (иногда распадающейся на пару прямых или мнимой), либо как поверхность, пересекаемую произвольной прямой, не принадлежащей ей, в двух точках (иногда совпадающих или мнимых).
Рассмотрим отдельные типы поверхностей второго порядка:
Следует отметить, что из всех поверхностей второго порядка только конус, цилиндр, однополостный и гиперболический параболоиды являются линейчатыми поверхностями, причем у последних двух поверхностей через каждую их точку проходят две прямолинейные образующие. Отметим также, что все поверхности второго порядка, за исключением параболического и гиперболического цилиндров, а также гиперболического параболоида, могут пересекаться плоскостью по окружности, т. е. имеют круговые сечения.
Винтовой поверхностью называется поверхность, которая описывается какой-либо линией – образующей при ее винтовом движении. Так как точки образующей при ее винтовом движении описывают соосные цилиндрические винтовые линии, то винтовая поверхность может быть образована движением образующей по соосным цилиндрическим винтовым линиям, которые будут ее направляющими. Если образующей винтовой поверхности является прямая линия, то поверхность называется линейчатой винтовой поверхностью, или геликоидом. Геликоид может быть прямым или наклонным в зависимости от того, перпендикулярна образующая к оси геликоида или наклонна.
Рассмотрим некоторые виды линейчатых винтовых поверхностей. 1) Прямой геликоид образуется движением прямолинейной образующей по двум направляющим, из которых одна является цилиндрической винтовой линией , а другая – ее осью , причем во всех своих положениях образующая параллельна плоскости параллелизма, перпендикулярной оси . Обычно за плоскость параллелизма принимают одну из плоскостей уровня (рис. 73). У прямого геликоида образующая пересекает винтовую ось под прямым углом. Прямой геликоид может быть отнесен к числу коноидов и назван винтовым коноидом.
2) Наклонный геликоид отличается от прямого тем, что его образующая пересекает ось геликоида под постоянным углом , отличным от прямого. Иначе говоря, образующая наклонного геликоида при своем движении скользит по двум направляющим, из которых одна является цилиндрической винтовой линией , а другая – ее осью , причем во всех своих положениях образующая параллельна образующим некоторого конуса вращения. У этого конуса угол между образующими и осью, параллельной оси геликоида, равен . Он называется направляющим конусом наклонного геликоида.
Построение наклонного геликоида показано на рис. 74. Его направляющими являются цилиндрическая винтовая линия m и ее ось . Образующие геликоида параллельны соответствующим образующим направляющего конуса.
3) Развертывающийся геликоид образуется движением прямолинейной образующей , касающейся во всех своих положениях цилиндрической винтовой линии , являющейся ребром возврата геликоида (рис. 75). Развертывающийся геликоид как линейчатая поверхность с ребром возврата относится к числу торсов.
Как видно из рис. 75, поверхность развертывающегося геликоида ограничена ребром возврата и линией от пересечения геликоида с поверхностью соосного цилиндра большего диаметра, чем диаметр винтовой линии .
Винтовые поверхности имеют большое значение в технике. Чаще всего они используются в крепежных изделиях (винты, болты и др.), домкратах и ходовых винтах, сверлах, червячных передачах и винтовых транспортерах. Тело, ограниченное винтовыми поверхностями, называется винтом. Винт образуется от винтового движения какой-нибудь плоской фигуры-профиля. Профили некоторых винтов изображены на рис. 76. В случае прямоугольного профиля (рис. 76а) винт ограничен поверхностями двух цилиндров вращения и двух прямых геликоидов; в случае треугольного профиля (рис. 76б) – двумя наклонными геликоидами и, наконец, в случае трапецеидального профиля (рис. 76в) – поверхностями двух цилиндров вращения и двух наклонных геликоидов.
Циклической поверхностью называется поверхность, которая описывается какой-либо окружностью (образующей) постоянного или переменного радиуса при ее произвольном движении. Из рассмотренных выше поверхностей к циклическим можно отнести все поверхности вращения, так как они могут быть образованы движением окружности (параллели), центр которой перемещается вдоль оси, а ее плоскость перпендикулярна к оси. Такими поверхностями будут являться те из поверхностей второго порядка, которые имеют круговые сечения, а также каналовые и трубчатые поверхности.
Каналовая поверхность образуется движением окружности переменного радиуса, причем центр окружности О перемещается по заданной кривой (направляющей), а ее плоскость остается перпендикулярной к этой кривой (рис. 77).
Трубчатая поверхность отличается от каналовой только тем, что ее образующая окружность имеет постоянный радиус (рис. 78). Если направляющая трубчатой поверхности является цилиндрической винтовой линией, то образуется трубчатая винтовая поверхность (рис. 79). Она может быть получена и движением сферы постоянного диаметра, центр которой перемещается по цилиндрической винтовой линии. Примером такой поверхности является цилиндрическая винтовая пружина.
Топографической поверхностью называется поверхность, образование которой не подчинено какому-либо геометрическому закону. К таким поверхностям относятся поверхности земной коры, корпуса судна, обшивки самолета, автомобиля и др.
На чертеже эти поверхности изображают при помощи совокупности некоторых линий: так, земную поверхность – при помощи семейства ее горизонталей (рис. 80), поверхность обшивки самолета и др. – при помощи линий уровня (горизонталей, фронталей и профилей) с последующей их увязкой и согласованием.
Топографические поверхности часто называют каркасными, так как совокупность линий, которыми они задаются, образуют каркас поверхности.
Так называемый теоретический чертеж поверхности фюзеляжа самолета, который обычно выполняется в натуральную величину, показан на рис. 81. На этом чертеже показаны три семейства линий рассматриваемой поверхности, а именно: ее горизонтали, фронтали и профили. При этом, чтобы не затемнять чертеж, на нем не изображены горизонтали на виде спереди и фронтали – на виде сверху.
Позиционными задачами называются задачи, в которых определяется взаимное расположение различных геометрических фигур относительно друг друга. К таким задачам, в частности, относятся задачи на взаимопринадлежность (взятие точки на линии или поверхности, проведение линии на поверхности или поверхности через данные линии и т. д.) и задачи на пересечение.
Выше были рассмотрены некоторые из позиционных задач, была рассмотрена взаимопринадлежность точки и прямой, а в § 4, п. 2 – взаимопринадлежность точки и плоскости.
Указанные позиционные задачи относятся к числу прямых позиционных задач. В настоящем же параграфе рассматриваются обратные основные позиционные задачи, в которых определяется взаимное расположение двух точек, точки и прямой, точки и плоскости и двух прямых относительно друг друга.
Две точки пространства могут совпадать или не совпадать. Если данные точки и совпадают, то они совпадают и на каждом виде. Если же данные точки и не совпадают, то они не совпадают и на каждом виде (рис. 82) или, по крайней мере, не должны совпадать на одном из видов (рис. 83 и 84).
Если точки и не совпадают, то возникает вопрос, как они расположены относительно друг друга.
Рассматривая рис. 82, легко определить, что точки и не совпадают, причем точка расположена левее точки на a единиц, ближе точки на b единиц и ниже точки на с единиц. На рис. 83 изображены точки и , конкурирующие на виде сверху, а на рис. 84 – конкурирующие на виде спереди. Из двух точек и (см. рис. 83), конкурирующих на виде сверху, точка расположена выше точки на с единиц. При этом говорят, что расположена «над» точкой , или точка расположена «под» точкой . На виде сверху точка будет видимой, а точка – невидимой. Из двух точек и (см. рис. 84), конкурирующих нa виде спереди, точка расположена дальше, чем точка , на b единиц, т. е. точка находится «за» точкой или точка находится «перед» точкой А. На виде спереди точка будет видимой, а точка – невидимой.
Точка может находиться на прямой и вне прямой. Если точка находится на данной прямой , то, как указывалось в § 3, п. 3, она должна лежать на прямой на обоих видах. Если же данная точка находится вне прямой, то, по крайней мере, на одном из видов она не должна лежать на прямой. Справедливы и обратные предположения, если только прямая, заданная своими видами спереди и сверху, не является профильной. Взаимное расположение точки и профильной прямой будет рассмотрено дальше.
Точка находится на прямой , а точки и находятся вне прямой (рис. 85). При этом на виде спереди определяем, что точка находится «над» прямой , так как она расположена выше, нежели конкурирующая с ней на виде сверху точка прямой (на виде спереди эта точка прямой отмечена крестиком). Аналогично на виде сверху определяем, что точка находится «за» прямой , так как она расположена дальше, нежели конкурирующая с ней на виде спереди точка прямой (на виде сверху эта точка прямой отмечена крестиком).
Если сравнивать положение точки с положением точки прямой , которая находится в той же профильной плоскости, что и точка (она на обоих видах отмечена крестиком), то легко определить, что точка расположена ближе и ниже, нежели точка прямой , отмеченная на обоих видах крестиком. Для определения взаимного положения точки и профильной прямой приходится пользоваться прямой преломления ломаных линий связи, соединяющих разноименные виды точек профильной прямой, или прибегнуть к построению вида слева.
Пусть дана профильная прямая при помощи двух точек и (рис. 86). Определим положение точек и относительно прямой . Построив прямую преломления так, как это указывалось в гл. I, § 3, п. 3, можно легко определить, что точка лежит на прямой , а точка – вне прямой (рис. 86а).
В самом деле, оба вида точки лежат на одной ломаной линии связи, вершина которой находится на прямой преломления. Поэтому отрезок делится точкой на обоих видах в одном и том же отношении, что доказывает принадлежность точки прямой . Что касается точки , то ломаная линия связи, проходящая через нее на виде сверху, не проходит через нее и на виде спереди, поэтому точка находится вне прямой . Если бы точка лежала на прямой , то на виде спереди она бы находилась в точке, отмеченной крестиком. Но так как на виде спереди точка расположена выше, то она находится «над» прямой . Проведя ломаную линию связи через точку на виде спереди, можно определить положение точки относительно прямой по глубине. Проще это сделать непосредственно, исходя из пространственного представления. Прямая является нисходящей прямой (ее виды спереди и сверху различно ориентированы), и так как точка находится «над» прямой , то она в то же время находится и «за» прямой . Определение взаимного положения точек и относительно прямой р с помощью построения вида слева показано на рис. 86б. При рассмотрении вида слева легко определить, что точка лежит на прямой , а точка – «над» и «за» ней. Таким образом, определение взаимного положения точки и прямой сводится к определению взаимного положения двух точек.
Если точка находится в плоскости, перпендикулярной какой-нибудь плоскости уровня, то на соответствующем виде она должна лежать на прямой, являющейся вырожденным видом плоскости (см. гл. I, § 6, п. 3).
Если же точка находится на плоскости общего положения, то она должна лежать на какой-либо прямой, принадлежащей данной плоскости (см гл. I, § 4, п. 2). Справедливо и обратное положение, если только при решении вопроса в системе плоскостей проекций 1, 2 вспомогательная прямая не является профильной.
Для определения взаимного положения точки и плоскости общего положения следует провести на данной плоскости какую-нибудь вспомогательную прямую, конкурирующую с данной точкой, и определить взаимное положение данной точки и вспомогательной прямой. Если точка будет принадлежать вспомогательной прямой, то она находится на данной плоскости, если же точка окажется вне прямой, то она расположена и вне данной плоскости. При этом если точка окажется «над» («под») или «перед» («за») прямой, то она точно так же будет расположена и относительно плоскости.
Определим расположение двух точек и точек относительно плоскости , заданной треугольником ABC (рис. 87).
Сначала найдем положение точки . Проведем на плоскости прямую , конкурирующую с точкой на виде сверху. Для того чтобы прямая была конкурирующей с точкой на виде сверху, нужно, чтобы она на виде сверху проходила через точку , а для того чтобы прямая принадлежала плоскости , необходимо, чтобы две ее точки (на рис. 87 этими точками являются точки и ) принадлежали плоскости. Так как и на виде спереди прямая проходит через точку , то точка принадлежит прямой , а значит, и плоскости . Теперь определим положение точки относительно плоскости . Для этого проведем на плоскости прямую m, конкурирующую с точкой на виде спереди. Точками плоскости , определяющими прямую , являются точки и
Тогда на виде сверху определяем, что точка находится вне прямой , а значит, и вне плоскости . В самом деле, если бы точка лежала на прямой , то она бы находилась на виде сверху в точке, отмеченной крестиком. Но так как точка расположена на комплексном чертеже ближе, то она находится «перед» конкурирующей с ней на виде спереди точкой плоскости , а значит, и «перед» самой плоскостью . Проведя на плоскости Б новую прямую, конкурирующую с точкой на виде сверху, можно было бы определить положение точки относительно плоскости по высоте. Однако проще это сделать непосредственно, исходя из пространственного представления. Плоскость является восходящей плоскостью (ее виды одинаково ориентированы), и так как точка находится «перед» плоскостью , то в то же время она находится и «над» этой плоскостью.
Взаимное расположение двух прямых. Две прямые в пространстве могут пересекаться, быть параллельными или скрещиваться. Если прямые и пересекаются в некоторой точке , то на основании свойства принадлежности (см. гл. I, § 3, п. 2) точка должна принадлежать прямым и на обоих видах (рис. 88). Иначе говоря, точки пересечения одноименных видов двух пересекающихся прямых лежат на одной и той же линии связи.
Если прямые и параллельны, то на основании свойства параллельности (см. гл. I, § 3, п. 2) одноименные виды этих прямых также параллельны (рис. 89). Если, наконец, прямые и скрещиваются и их одноименные виды соответственно пересекаются в точках и , то эти точки не должны лежать на одной линии связи (рис. 90), так как в противном случае прямые и пересекались бы. Заметим, что на точку на виде сверху конкурируют две точки и , принадлежащие прямым и . Так как точка расположена выше точки , то на виде сверху в точке видима прямая , а прямая невидима. Аналогично на точку на виде спереди конкурируют две точки и , соответственно принадлежащие прямым и . На виде спереди в точке видима прямая , а прямая невидима, так как точка расположена ближе, чем точка .
Справедливы и обратные положения, если прямые, заданные в системе плоскостей проекций 1, 2, не являются профильными.
Таким образом, взаимное положение двух непрофильных прямых определяется следующим образом: если одноименные виды двух непрофильных прямых параллельны (см. рис. 89), то и прямые параллельны. Если точки пересечения одноименных видов двух непрофильных прямых лежат на одной линии связи (см. рис. 88), то прямые пересекаются, если же эти точки не лежат на одной линии связи (см. рис. 90), то прямые скрещиваются.
В частном случае, если две непрофильные прямые являются конкурирующими, то, находясь в одной и той же плоскости, перпендикулярной какой-либо плоскости уровня, они не могут быть скрещивающимися. Взаимное расположение таких прямых легко определяется на том виде, на котором прямые не сливаются. Так, по виду спереди определяем, что конкурирующие на виде сверху прямые и пересекаются в точке (рис. 91), а по виду сверху – что конкурирующие на виде спереди прямые и параллельны (рис. 92).
Для определения взаимного положения профильных прямых следует воспользоваться прямыми преломления или построить вид слева данных прямых.
Пусть даны две профильные прямые и , причем первая задана своими точками и , а вторая – точками и , и пусть обе прямые лежат в одной профильной плоскости (рис. 93). Построив для каждой из данных прямых ее прямую преломления (см. гл. I, § 3, п. 3), можно легко определить взаимное положение прямых и (рис. 93а).
Если прямые преломления и пересекаются в некоторой точке , то данные прямые и пересекаются в точке . Из равенства отношений и на обоих видах следует, что точка принадлежит обеим данным прямым, а значит, является их точкой пересечения (равенство указанных отношений определяется из их равенства соответствующим отношениям и ). Если же прямые преломления и совпадут или окажутся параллельными, то и данные прямые и соответственно совпадают или параллельны.
Определение взаимного положения профильных прямых и при помощи построения их на виде слева показано на рис. 93б. Так как прямые и пересекаются на виде слева, то эти прямые пересекаются и в пространстве в точке .
Очевидно, что если профильные прямые и расположены в различных профильных плоскостях (рис. 94), то в случае параллельности прямых преломления А0В0 || С0D0 они также параллельны, а в случае непараллельности прямых преломления профильные прямые и скрещиваются.
Прямая может принадлежать плоскости, пересекаться с плоскостью или быть ей параллельной. Если прямая принадлежит или параллельна плоскости или пересекается с ней, то вместе с тем она будет соответственно совпадать (рис. 95а) или пересекаться (рис. 95б) с какой-нибудь прямой этой плоскости, или будет ей параллельна (рис. 95в).
Справедливы и обратные положения. Поэтому определение взаимного расположения прямой и плоскости, в общем случае, сводится к определению взаимного расположения двух прямых – данной и вспомогательной, принадлежащей данной плоскости. Обычно в качестве вспомогательной прямой выбирают прямую, конкурирующую с данной. Таким образом, чтобы определить взаимное расположение прямой и плоскости , нужно на данной плоскости провести вспомогательную прямую , конкурирующую с прямой , и определить взаимное положение конкурирующих прямых и (см. гл. III, § 1, п. 5). Если эти прямые пересекаются в некоторой точке К, то в этой же точке данная прямая пересекается с плоскостью. Если же конкурирующие прямые совпадают или параллельны, то данная прямая соответственно принадлежит или параллельна данной плоскости.
Прямая и плоскость общего положения изображены на рис. 96. Определим их взаимное положение.
Построим на плоскости вспомогательную прямую , конкурирующую с данной прямой . Нами построена прямая , конкурирующая на виде сверху с прямой . Для этого на прямых и плоскости выделены точки 1 и 2, конкурирующие на виде сверху с прямой . Точки 1 и 2 определяют прямую а, принадлежащую плоскости и конкурирующую на виде сверху с прямой . Теперь определяем относительное положение прямых и (см гл. III, § 1, п. 5). По виду спереди замечаем, что прямые и пересекаются; при этом вначале определяется точка пересечения на виде спереди, а затем на виде сверху. Точка и будет точкой пересечения прямой с данной плоскостью . Определяем видимость прямой относительно плоскости . На виде спереди левее точки прямая расположена «под» прямой , а значит, и под плоскостью , поэтому на виде сверху прямая левее точки будет невидимой, а правее этой точки – видимой. Видимость прямой на виде спереди легче всего определить исходя из того факта, что в данном случае плоскость является нисходящей. Поэтому если нами уже определено, что левее точки прямая расположена под плоскостью, то она вместе с тем расположена и перед этой плоскостью. Это означает, что на виде спереди прямая левее точки видима, следовательно, правее точки она невидима. Так как на рис. 96 для увеличения наглядности плоскость ограничена треугольником , то вне видов треугольника прямая будет видима.
Если при построении вспомогательной прямой , конкурирующей на виде сверху с данной прямой (рис. 97), окажется, что на виде спереди, то это условие совместно с условием на виде сверху означает, что в пространстве, значит, прямая параллельна плоскости . Так как, судя по виду спереди, прямая расположена «над» прямой , а значит, и «над» плоскостью , то прямая полностью видима на виде сверху. Плоскость – нисходящая, поэтому прямая l, будучи расположена «над» плоскостью , будет находиться в то же время и «за» плоскостью , а это означает, что на виде спереди прямая невидима.
Если же при построении вспомогательной прямой окажется, что на обоих видах (рис. 98), то прямая принадлежит плоскости .
Рассмотрим теперь случай определения взаимного расположения профильной прямой и плоскости.
Пусть даны профильная прямая , на которой отмечены две точки и , и плоскость общего положения (рис. 99). Как и в общем случае, построим на плоскости вспомогательную прямую , конкурирующую с прямой * . Для чего выделим на прямых и плоскости точки 1 и 2, которыми и определится прямая . Прямая будет так же, как и прямая , профильной прямой. Далее определяем относительное положение двух профильных прямых, данной и вспомогательной (см. гл. III, § 1, п. 5). Для этого строим их прямые преломления и , или их виды слева. Так как прямые преломления или виды слева пересекаются, то прямые и также пересекаются, и точка их пересечения является точкой пересечения прямой с плоскостью .
* В данном случае прямая а будет одновременно конкурировать с прямой р на оба вида.
Видимость прямой относительно плоскости можно определить с помощью прямых преломления, но в данном случае это нетрудно сделать непосредственно из пространственного представления. Так как прямая – восходящая (виды прямой одинаково ориентированы), а плоскость – нисходящая (виды треугольника различно ориентированы), то прямая от точки в сторону точки находится «над» и «за» плоскостью . Поэтому на виде сверху прямая р от точки видима в сторону точки и невидима в сторону точки , а на виде спереди прямая , наоборот, видима в сторону точки и невидима в сторону точки . Если прямые преломления и или виды слева прямых и окажутся параллельными или совпадут, то прямые и будут параллельны или совпадут, а это означает, что профильная прямая параллельна плоскости или ей принадлежит.
При определении взаимного положения прямой и плоскости, имеющих вырожденные виды, следует воспользоваться вырождением их соответствующих видов в точку или прямую. При этом решение существенно упрощается. Так, если прямая, имеющая вырожденный вид, пересекается с какой-либо плоскостью, то на соответствующем виде точка пересечения совпадает с точкой, в которую вырождается сама прямая. Если же плоскость, имеющая вырожденный вид, пересекается с какой-либо прямой, то на одном из видов точка пересечения определяется в пересечении вырожденного вида плоскости с видом прямой.
Построение точки пересечения вертикальной прямой с плоскостью общего положения Б (ABC) показано на рис. 100. На виде сверху точка совпадает с вырожденным видом прямой , а на виде спереди точка определяется из условия принадлежности точки плоскости , для чего использована вспомогательная прямая , принадлежащая плоскости . Построение точки пересечения прямой общего положения с наклонной плоскостью показано на рис. 101. На виде спереди точка определяется в пересечении вырожденного вида плоскости с прямой. На виде сверху точка К находится из условия ее принадлежности прямой .
Задача о пересечении прямой с плоскостью является одной из важнейших задач курса, так как она используется как вспомогательная при решении более сложных задач на пересечение, в частности, многогранных поверхностей с прямой, плоскостью и друг с другом.
Построение точек пересечения прямой с поверхностью многогранника осуществляется тем же приемом, что и построение точки пересечения прямой с плоскостью, но конкурирующая с данной прямой линия проводится не на плоскости, а на поверхности многогранника. Поэтому эта линия будет представлять собой ломаную линию, сторонами которой будут служить отрезки прямых, лежащие в гранях многогранника и конкурирующие с данной прямой. Точки пересечения данной прямой с вспомогательной линией и будут точками пересечения прямой с поверхностью многогранника. Если прямая не будет пересекаться с вспомогательной линией, то это означает, что она не пересекается с многогранником. Таким образом, для определения взаимного положения прямой и поверхности многогранника нужно провести на его поверхности вспомогательную ломаную линию, конкурирующую с данной прямой, и определить взаимное положение этих линий; если они пересекаются, то точки их пересечения и являются точками пересечения данной прямой с поверхностью многогранника. Рассмотрим выполнение указанного построения на комплексном чертеже.
Пример №7
Построить точки и пересечения прямой с поверхностью треугольной пирамиды (рис. 102).
Решение:
Построим на поверхности пирамиды вспомогательную ломаную линию, конкурирующую на виде спереди с прямой . Эта вспомогательная линия определяется точками 1, 2 и 3. Данная прямая пересекается со вспомогательной линией в точках и , которые и будут искомыми точками. При этом вначале точки строятся на виде сверху в пересечении прямой со вспомогательной линией 1–2–3, а затем по свойству их принадлежности прямой они находятся на виде спереди. Установим видимость прямой . По виду сверху определяем, что точки и лежат соответственно в гранях и . Эти грани видимы на виде сверху, поэтому видимы и обе точки и , следовательно, прямая будет невидима только на отрезке , находящемся внутри пирамиды. На виде спереди грань невидима, и поэтому прямая l невидима от точки до точки и далее до точки, конкурирующей с точкой ребра .
В частных случаях при построении точек пересечения прямой с поверхностью многогранника, когда прямая или грани многогранника имеют вырожденный вид, следует использовать вырождение их соответствующих видов в точку или прямыесоответственно. Рассмотрим это на двух примерах.
Пример №8
Построить точки и пересечения прямой , перпендикулярной фронтальной плоскости, с поверхностью пирамиды (рис. 103).
Решение:
На виде спереди искомые точки и совпадают с вырожденным видом данной прямой . На виде сверху эти точки легко находятся с помощью вспомогательных прямых и , принадлежащих граням и , которые пересекает прямая .
Пример №9
Построить точки и пересечения прямой общего положения с поверхностью треугольной призмы , боковые грани которой являются вертикальными плоскостями, а основания – горизонтальными плоскостями (рис. 104).
Решение:
Прямая пересекается в точке с левой боковой гранью призмы, а в точке – с ее верхним основанием. При построении этих точек сначала найдем точку на виде сверху, а точку на виде спереди в пересечении прямой с вырожденными видами боковой грани и верхнего основания, а затем построим точку на виде спереди, а точку на виде сверху по свойству их принадлежности прямой .
Построение точек пересечения прямой с какой-либо кривой поверхностью производится аналогично построению точек пересечения прямой с многогранником. Только если в случае многогранника с прямой конкурировала ломаная линия, проведенная на поверхности многогранника, то в случае кривой поверхности она преобразуется в кривую линию, проведенную на этой поверхности. Поэтому общий прием построения точек пересечения прямой с поверхностью можно сформулировать так: для построения точек пересечения прямой с поверхностью нужно построить на поверхности вспомогательную линию, конкурирующую с данной прямой, и найти точки пересечения этой линии с прямой. При этом, строя вспомогательную линию, следует для определения ее отдельных точек пользоваться графически простыми линиями поверхности. Так, в случае поверхности вращения такими простыми линиями будут параллели (окружности), а в случае линейчатой поверхности – образующие (прямые). Рассмотрим несколько примеров.
Пример №10
Построить точки пересечения поверхности вращения (тора) с прямой (рис. 105).
Решение:
Строим на данной поверхности линию , фронтально конкурирующую с данной прямой . Точки 1 и 2 вспомогательной линии находим на главном меридиане поверхности, а остальные точки 3, 4, 5, 6, 7 и 8 – на ее параллелях , из которых параллель является экватором поверхности.
Соединяя найденные точки плавной линией, получим линию поверхности, конкурирующую с прямой . Отметив точки М и N пересечения линии с прямой , найдем искомые точки пересечения прямой с поверхностью. Точка будет видимой на обоих видах, так как она находится над экватором и перед главным меридианом поверхности. Точка будет невидимой на обоих видах, так как она находится под экватором и за главным меридианом.
Пример №11
Построить точки пересечения линейчатой поверхности эллиптического цилиндра с прямой (рис. 106).
Решение:
Строим на данной поверхности линию , конкурирующую на виде спереди с данной прямой . Точки 1 и 2 вспомогательной линии находим на образующих, составляющих очерк на виде спереди цилиндрической поверхности, а точки 3 и 5 – на образующих, составляющих ее очерк на виде сверху.
Помимо этого находим точки 4 и 6 на образующих, конкурирующих на виде спереди с последними образующими. Далее находим промежуточные точки 7, 8, 9 и 10, привязывая их к поверхности соответствующими образующими. Соединяя полученные точки плавной кривой (эта кривая является эллипсом), получим линию цилиндрической поверхности, конкурирующую с прямой . Отметив точки и пересечения линии с прямой , найдем искомые точки пересечения прямой с поверхностью.
Точка будет видимой на обоих видах, так как находится на образующей, видимой на них. Точка же будет невидимой на обоих видах, так как принадлежит невидимой образующей на этих видах.
Пример №12
Построить точки пересечения сферы с прямой (рис. 107).
Решение:
Строим на поверхности сферы линию , конкурирующую на виде сверху с прямой . Так как всякая плоская кривая на сфере является окружностью, то и линия будет окружностью. Чтобы избежать построения эллипса, являющегося видом спереди этой окружности, задаем дополнительный вид прямой и окружности t по направлению (показано стрелкой), перпендикулярному прямой . Тогда на дополнительном виде линия изобразится окружностью. Построив также прямую при помощи ее точек 1 и 2 и определив точки и пересечения линий и на дополнительном виде, легко найти точки пересечения прямой со сферой на видах сверху и спереди. В частных случаях при построении точек пересечения прямой с кривой поверхностью, когда прямая или поверхность имеют вырожденный вид, следует использовать вырождение их соответствующих видов в точку или кривую линию.
Рассмотрим это на примерах.
Пример №13
Построить точки пересечения поверхности кругового конуса с прямой , перпендикулярной профильной плоскости (рис. 108).
Решение:
На виде слева искомые точки и совпадают с вырожденным видом данной прямой. На виде спереди эти точки легко определяются: – с помощью образующей конуса, – на вырожденном виде основания конуса.
Пример №14
Построить точки пересечения поверхности кругового цилиндра с прямой (рис. 109).
Решение:
Так как образующие данной цилиндрической поверхности являются фронталями, то, построив дополнительный вид по направлению этих образующих, получим вырожденный вид цилиндрической поверхности в виде окружности и прямую , построенную по ее точкам 1 и 2.
Указанное решение, в котором использован вырожденный вид цилиндрической поверхности, несравненно проще, а значит, и точнее общего решения с помощью конкурирующей линии, приведенного в примере 5. Его можно использовать и в случае цилиндрической поверхности общего вида, а также в случае конической поверхности. Для этого надо применить способ дополнительных видов. При пользовании этим способом вид проецирования, его направление (при параллельном проецировании) или центр проецирования (при центральном проецировании), а также плоскость, на которую производят проецирование, выбирают так, чтобы на дополнительном виде поверхность выродилась в линию. В этом случае легко определяются точки пересечения прямой с цилиндрической или конической поверхностями. Покажем это на двух примерах.
Пример №15
Построить точки пересечения цилиндрической поверхности с прямой (рис. 110).
Решение:
Построим дополнительный вид цилиндрической поверхности и прямой на плоскость основания цилиндрической поверхности, приняв за направление проецирования образующие цилиндрической поверхности. Тогда цилиндрическая поверхность спроецируется в кривую линию своего основания, а прямая – в прямую , которая построена при помощи точек 1 и 2. Если теперь отметить на виде сверху точки и пересечения прямой с линией основания цилиндрической поверхности, то точки и пересечения прямой с этой поверхностью можно будет найти при помощи обратного проецирования.
Пример №16
Построить точки пересечения конической поверхности с прямой (рис. 111).
Решение:
Построим дополнительный вид конической поверхности и прямой на плоскость основания конической поверхности, приняв ее вершину за центр проецирования. Тогда коническая поверхность спроецируется в кривую линию своего основания, а прямая – в прямую .
Отметив на виде сверху точки и пересечения с основанием конической поверхности и произведя обратное проецирование, получим искомые точки и .
Решения последних двух примеров позволяют сделать следующий вывод: при построении точек пересечения прямой с цилиндрической или конической поверхностью целесообразно применять способ дополнительных видов, используя параллельное проецирование для цилиндрической поверхности и центральное – для конической, при этом поверхность на дополнительном виде выродится в линию и решение значительно упрощается.
Взаимное пересечение двух плоскостей. Две плоскости и могут совпадать, быть параллельными или пересекаться. Если плоскости и совпадают или параллельны, то соответственно этим случаям для любой прямой плоскости всегда найдется на плоскости такая прямая , которая будет совпадать с прямой (рис. 112а) или будет ей параллельна (рис. 112б). Если же плоскости и пересекаются, то любая прямая плоскости будет пересекаться с какой-нибудь прямой плоскости в некоторой точке , принадлежащей прямой пересечения плоскостей (рис. 112в, прямые ), или прямая окажется параллельной какой-нибудь прямой , причем, в этом случае, прямые и должны быть параллельны и прямой (рис. 112в, прямые ). В частности, прямые и m могут совпадать, и тогда они совпадут с прямой .
Так как плоскость определяется двумя прямыми (пересекающимися или параллельными), то для установления взаимного расположения двух плоскостей и необходимо установить взаимное расположение по крайней мере двух пар прямых и этих плоскостей. При этом прямые каждой пары не должны быть скрещивающимися. Обычно в качестве таких прямых выбирают конкурирующие прямые.
Обратные положения, в общем случае, справедливы лишь при определении взаимного расположения двух плоскостей по двум пересекающимся прямым каждой плоскости. При определении же взаимного расположения плоскостей по двум параллельным прямым каждой плоскости не всегда удается выяснить вопрос. В самом деле, если две параллельные прямые одной плоскости окажутся соответственно параллельными двум параллельным прямым другой плоскости, то плоскости могут пересекаться или быть параллельными. Поэтому если при определении взаимного расположения двух плоскостей прямые первой пары конкурирующих прямых окажутся параллельными, то вторую пару конкурирующих прямых не следует проводить так, чтобы они были параллельны соответствующим прямым первой пары.
Итак, определение взаимного положения двух плоскостей сводится к определению взаимного положения двух пар конкурирующих прямых, проведенных на данных плоскостях (гл. III, § 1, п. 5). Рассмотрим пример определения взаимного расположения двух плоскостей и (рис. 113).
Построим пару конкурирующих прямых так, чтобы первая прямая принадлежала плоскости , а вторая – плоскости . Чаще всего пользуются конкурирующими прямыми уровня. B рассматриваемом примере проведены две конкурирующие на виде спереди горизонтали и . Горизонталь проведена на плоскости , для чего на прямых и выделены точки 1 и 2, а горизонталь проведена на плоскости при помощи точек 3 и 4, выделенных на прямых и . Определяем относительное положение горизонталей и (гл. III, § 1, п. 5). На виде сверху определяем, что горизонтали и пересекаются, при этом вначале определяется точка на виде сверху, а затем на виде спереди.
Точка , принадлежащая обеим плоскостям и , будет принадлежать и прямой их пересечения. Чтобы определить вторую точку прямой пересечения плоскостей, проводим вторую пару конкурирующих горизонталей и . Горизонталь проводим на плоскости при помощи ее точек 5 и 6, а горизонталь – на плоскости при помощи ее точек 7 и 8. Пересечение этих горизонталей определяет вторую точку прямой пересечения плоскостей. Прямая , проведенная через точки и , будет прямой пересечения плоскостей и . При построении второй пары горизонталей и каждую из них можно определить при помощи только одной точки. В самом деле, горизонталь должна быть параллельна ранее проведенной горизонтали , а горизонталь должна быть параллельна горизонтали . Поэтому горизонталь определяется одной точкой 5, а горизонталь – точкой 7.
Таким образом, плоскости и , заданные на рис. 113, пересекаются, и прямая является прямой их пересечения.
Если при определении взаимного расположения двух плоскостей окажется, что прямые обеих пар конкурирующих прямых совпадают, т. е. и (см. рис. 112а), то данные плоскости совпадают.
Если же прямые одной из пар конкурирующих прямых параллельны, т. е. (см. рис. 112б, в), то для выяснения взаимного положения следует другую пару конкурирующих прямых провести так, чтобы прямые этой пары не были параллельны соответствующим прямым первой пары. Тогда, если и прямые этой пары параллельны, т. е. , то плоскости и – параллельны (см. рис. 112б). Если же прямые и пересекаются в некоторой точке , то плоскости пересекаются, и прямая пересечения этих плоскостей пройдет через точку параллельно прямым и (см. рис. 112в).
При определении взаимного положения двух плоскостей, когда одна или обе плоскости имеют вырожденные виды, следует воспользоваться вырождением их соответствующих видов в прямую. При этом решение значительно упростится.
Построение прямой пересечения плоскости общего положения с вертикальной плоскостью показано на рис. 114. На виде сверху прямая совпадает с вырожденным видом плоскости . На виде спереди прямая определена при помощи вспомогательных точек 1 и 2 из условия принадлежности прямой плоскости .
Линия пересечения какой-либо поверхности с плоскостью является плоской линией, которая будет либо ломаной в случае пересечения с многогранной поверхностью, либо кривой линией в случае пересечения с кривой поверхностью. Линия пересечения может распадаться и на прямые линии в случае пересечения плоскости с линейчатой поверхностью по ее образующим.
У ломаной линии пересечения плоскости с многогранной поверхностью вершинами будут точки пересечения ребер многогранной поверхности с секущей плоскостью, а сторонами – отрезки прямых пересечения ее граней с той же плоскостью.
Поэтому построение линии пересечения многогранной поверхности плоскостью сводится к многократному решению задачи о пересечении прямой с плоскостью (см. гл. III, § 1, п. l) или же к многократному решению задачи о пересечении двух плоскостей (см. гл. III, § 3, п. 1). Так как решение первой задачи проще, нежели решение второй, то обычно при построении линии пересечения многогранной поверхности с плоскостью строят вершины сечения как точки пересечения ее ребер с секущей плоскостью. После построения вершин линии пересечения следует соединить отрезками прямых каждые две вершины, лежащие в одной и той же грани многогранной поверхности. При этом стороны линии пересечения, лежащие в видимых гранях, будут видимы, а лежащие в невидимых гранях – невидимы.
Таким образом, построение линии пересечения многогранной поверхности плоскостью сводится к проведению на секущей плоскости вспомогательных прямых, конкурирующих с ребрами многогранника, и определению точек пересечения этих прямых с соответствующими ребрами. Разумеется, что если при построении линии пересечения многогранной поверхности с плоскостью секущая плоскость или грани многогранной поверхности вырождаются на каком-нибудь виде в прямые, то следует использовать вырождение их соответствующих видов в прямые.
Кривую линию пересечения кривой поверхности с плоскостью, обычно строят по ее отдельным точкам. Основным способом построения этих точек является способ конкурирующих линий.
Если при построении прямой пересечения двух плоскостей (см. п. 1), две точки искомой прямой строились с помощью двух пар конкурирующих прямых, проведенных на этих плоскостях, то, очевидно, что при построении точек линии пересечения кривой поверхности с секущей плоскостью следует на секущей плоскости проводить прямые, конкурирующие с какими-либо линиями кривой поверхности, данными или легко строящимися. К последним принадлежат так называемые графически простые линии, которыми являются прямые или окружности. Причем если эти линии являются окружностями, то поверхность должна быть расположена так, чтобы окружности не искажались на одном из видов.
Итак, для построения точек линии пересечения поверхности с данной плоскостью необходимо провести на секущей плоскости прямые, конкурирующие с графически простыми линиями данной поверхности. Тогда точки пересечения каждой прямой и конкурирующей с ней линией поверхности будут точками искомой линии пересечения. Если секущая плоскость имеет вырожденный вид, то точки линии пересечения определяются сразу в пересечении проецирующей плоскости с графически простыми линиями поверхности.
Среди точек линии пересечения имеются такие, которые выделяются из других точек какими-либо своими особыми свойствами. К этим точкам относятся экстремальные точки и точки видимости. Экстремальными точками являются высшая и низшая точки линии сечения, а также самая ближняя, самая дальняя, самая левая и самая правая точки сечения (по отношению к наблюдателю, стоящему лицом к фронтальной плоскости). Точками видимости являются точки, которые расположены на контурной линии поверхности. На каждом виде эти точки лежат на очерке поверхности. Точки видимости разграничивают линию пересечения поверхности с секущей плоскостью на видимую и невидимую части. Экстремальные точки и точки видимости относятся к числу опорных точек, в отличие от которых остальные точки называются произвольными или случайными.
Если все случайные точки могут быть найдены общим приемом, указанным ранее, то для нахождения опорных точек даже для одной и той же поверхности приходится каждый раз искать свой особый прием построения. Однако для построения точек видимости можно указать следующий прием. Если на секущей плоскости построить линию, конкурирующую с соответствующей контурной линией поверхности, то точки пересечения этих линий будут точками видимости линии пересечения поверхности с плоскостью для того или другого вида.
При построении случайных точек линии пересечения поверхности с плоскостью выбор графически простых линий, конкурирующих с прямыми секущей плоскости, зависит от того, к какому классу относится поверхность.
У поверхностей вращения этими линиями будут параллели (окружности); у линейчатых, включая линейчатые винтовые, – образующие (прямые линии), у поверхностей второго порядка – либо их прямолинейные образующие (конус, цилиндр, однополостный гиперболоид, косая плоскость), либо их круговые сечения (конус, эллиптический цилиндр, эллипсоид, параболоид, однополостный и двуполостный гиперболоиды (см. гл. IV, § 5); у циклических – образующие (окружности); наконец, у топографических – линии, которыми они заданы.
Рассмотрим несколько примеров построения сечений и их натуральных видов поверхностей плоскостью, причем вначале дадим примеры с многогранными поверхностями, а затем уже с кривыми поверхностями.
Пример №17
Построить сечение и его натуральный вид пирамиды наклонной плоскостью (рис. 115).
Решение:
Так как на виде спереди сечение в данном случае вырождается в отрезок прямой, совпадающей с вырожденным видом плоскости , то можно отметить на этом виде вершины и искомого сечения. На виде сверху эти вершины находим на соответствующих ребрах; соединив их в последовательном порядке отрезками прямых, получим сечение на виде сверху.
Построение натурального вида сечения проще всего выполнить при помощи непосредственного измерения высот и широт вершин сечения. При этом высотами будем считать отрезки прямой наибольшего уклона и плоскости , которая в данном случае является фронталью, и поэтому эти отрезки не искажаются на виде спереди. Широты же вершин не искажаются на виде сверху, так как они располагаются на прямых, перпендикулярных фронтальной плоскости (горизонталях). Этот способ построения натуральных видов плоских фигур будем называть способом размерений.
Пример №18
Построить сечение и натуральный вид сечения треугольной призмы , боковая поверхность которой на виде сверху имеет вырожденный вид, плоскостью общего положения (рис. 116).
Решение:
Так как боковые ребра данной призмы являются вертикальными прямыми, то на виде сверху вершины и искомого сечения совпадают с вырожденными видами самих ребер. На виде спереди вершины сечения легко определяются из условия их принадлежности секущей плоскости , для этого использованы прямые и .
Натуральный вид сечения легко построить, определив натуры и сторон и сечения с помощью трех прямоугольных треугольников, горизонтальные катеты которых равны соответственно этим сторонам на виде сверху, а вертикальные – соответствующим превышениям концов этих сторон друг над другом.
Пример №19
Построить сечение и натуральный вид сечения треугольной призмы плоскостью общего положения (рис. 117).
Решение:
Чтобы найти вершины искомого сечения, строим точки пересечения боковых ребер призмы и с данной плоскостью . Для этого на плоскости проводим три вспомогательные прямые 1–2, 3–4 и 5–6, конкурирующие на виде спереди с ребрами , и . Далее строим точки пересечения вспомогательных прямых с соответствующими ребрами призмы. На ребре получаем точку , на ребре – точку и на продолжении ребра – вспомогательную точку 7. Если бы требовалось найти сечение призматической поверхности, не принимая во внимание оснований призмы, то в сечении был бы получен треугольник . Если же учитывать основания призмы, то в сечении получим четырехугольник , у которого вершины и являются точками пересечения сторон и основания призмы с данной плоскостью . Точки и определяют в пересечении сторон основания призмы и со сторонами сечения и .
Так как боковые ребра призмы параллельны друг другу, то конкурирующие с ними вспомогательные прямые 1–2, 3–4 и 5–6 будут параллельны между собой. Поэтому, построив первую из них – прямую 1–2 – при помощи двух точек 1 и 2, можно каждую из остальных вспомогательных прямых строить при помощи одной точки. Так, прямую 3–4 можно построить при помощи точки 3, а прямую 5–6 – при помощи точки 5, проведя их параллельно прямой 1–2. Для построения натурального вида сечения строим сначала натуральный вид треугольника , предварительно определив с помощью трех прямоугольных треугольников натуры и его сторон, а затем, определив натуры и сторон и , откладываем их на соответствующих сторонах треугольника . В результате получим натуру искомого сечения призмы.
Пример №20
Построить сечение и натуральный вид сечения четырехугольной пирамиды плоскостью общего положения, заданной параллельными прямыми и (рис. 118).
Решение:
На плоскости проводим четыре вспомогательные прямые 1–2, 3–4, 5–6 и 7–8, конкурирующие на виде спереди с боковыми ребрами и пирамиды. В пересечении вспомогательных прямых с соответствующими ребрами пирамиды находим вершины и искомого сечения. Соединяя в последовательном порядке отрезками прямых вершины сечения с учетом видимости, получим сечение .
Для увеличения наглядности чертежа секущая плоскость принята непрозрачной и ограниченной параллельными прямыми. Так как боковые ребра пирамиды пересекаются в одной точке , то конкурирующие с ними вспомогательные прямые 1–2, 3–4, 5–6 и 7–8 будут также пересекаться в одной точке, обозначенной на чертеже цифрой 9, причем эта точка будет конкурирующей на виде спереди с точкой . Отсюда следует, что если первую из вспомогательных прямых – прямую 1–2 – определяем точками 1 и 2, то остальные можно определить точками 3 и 9, 5 и 9, 7 и 9, не строя точек 4, 6 и 8. Построение натурального вида сечения производим способом размерений, т. е. при помощи непосредственного измерения отрезков фронталей, проведенных в плоскости сечения через его вершины и (см. правую часть рис. 118) и отрезков, отсекаемых фронталями на прямой наибольшего уклона плоскости сечения по отношению к фронтальной плоскости. При этом отрезки фронталей измерялись на виде спереди, а отрезки линии наибольшего уклона – на вспомогательном чертеже, полученном с помощью прямоугольного треугольника.
Теперь рассмотрим примеры построения линии пересечения плоскости с поверхностью вращения и линейчатой поверхностью.
Пример №21
Построить линию пересечения поверхности вращения с данной плоскостью и определить натуральный вид сечения.
Решение:
Сначала рассмотрим случай, когда секущая плоскость имеет вырожденный вид, например, является наклонной плоскостью * (рис. 119). Предварительно строим опорные точки. На главном меридиане данной поверхности отмечаем низшую точку и высшую точку . На экваторе отмечаем точки и , они являются точками видимости для вида сверху и разделяют на этом виде искомую линию пересечения на видимую и невидимую части.
Для построения случайных точек на поверхности вращения проводим графически простые линии, которыми являются ее параллели, и отмечаем на них точки, принадлежащие секущей плоскости . На рис. 119 проведена параллель , являющаяся окружностью радиуса , и на ней отмечены точки и , принадлежащие плоскости .
Точки и , найденные при помощи параллели , являются точками видимости для вида слева, так как они лежат на профильном меридиане поверхности.
Построение натурального вида сечения проще всего выполнить при помощи способа размерений, измеряя высоты и широты точек сечения. При этом высоты точек следует измерять на виде спереди, так как они располагаются на фронтали и, следовательно, не искажаются на этом виде, а широты – на виде сверху, так как они располагаются на прямых, перпендикулярных фронтальной плоскости (горизонталях), и поэтому не искажаются на виде сверху.
Здесь и в следующих примерах секущую плоскость считаем прозрачной, чтобы не вносить излишних усложнений.
Теперь рассмотрим случай пересечения поверхности вращения плоскостью общего положения (рис. 120).
Сначала построим опорные точки. Точки видимости и для вида сверху найдем в пересечении горизонтали плоскости , конкурирующей с экватором данной поверхности. Точки видимости и для вида спереди определятся в пересечении фронтали плоскости , конкурирующей с главным меридианом поверхности. Одновременно с этим в пересечении фронтали с осью поверхности вращения находим точку 5 пересечения этой оси с секущей плоскостью .
Для определения высшей и низшей точек линии пересечения проведем через точку 5 прямую наибольшего уклона плоскости относительно горизонтальной плоскости, тогда точки пересечения и этой прямой с поверхностью будут экстремальными точками линии пересечения. Для построения этих точек, очевидно, нужно провести на поверхности меридиан, конкурирующий с прямой , и найти его точки пересечения с прямой . Чтобы избежать построения этого меридиана, используем свойство, что все меридианы поверхности вращения одинаковы. Поэтому повернем вокруг оси поверхности вращения вертикальную плоскость, в которой находится меридиан и прямая , до фронтального положения. При этом меридиан совпадет с фронтальным меридианом , а прямая займет положение . Это положение легко найти при помощи двух точек: точки 5, расположенной на оси вращения , и поэтому неподвижной, и точки 6, которая после поворота займет положение .
Точка 6 при вращении вокруг оси опишет окружность в горизонтальной плоскости, и поэтому дуга этой окружности не исказится на виде сверху, а на виде спереди изобразится горизонтальной прямой (подробно вращение вокруг прямых будет рассмотрено позже в гл. V, § 5). Прямая и в своем положении будет конкурировать с главным меридианом поверхности, и поэтому точки их пересечения определят экстремальные точки и в повернутом положении. После обратного поворота получим высшую точку и низшую .
Построение случайных точек линии пересечения выполняется при помощи горизонталей плоскости , конкурирующих с параллелями поверхности вращения. На рис. 120 проведена горизонталь плоскости , конкурирующая с параллелью поверхности.
При пересечении линий и получаем случайные точки и . Натуральный вид сечения определяем способом размерений высот и широт точек сечения. При этом высоты точек измеряем на виде спереди по прямой , повернутой до фронтального положения прямой наибольшего уклона плоскости, а широты – на виде сверху по горизонталям этой плоскости.
Пример №22
Построить линию пересечения линейчатой поверхности (цилиндроида), заданной направляющими и , и фронтальной плоскости параллелизма с данной плоскостью ; определить натуральный вид сечения (рис. 121).
Решение:
Направляющие и в данном примере являются окружностями, причем окружность расположена в горизонтальной плоскости, а окружность – в наклонной. Поэтому для построения образующих цилиндроида, которые в данном случае являются фронталями, непосредственно можно найти их концы на окружностях и либо, чтобы не пользоваться эллипсом на виде сверху, построить дополнительный натуральный вид этой окружности (на рисунке построена только полуокружность).
Для построения точек линии пересечения цилиндроида с данной плоскостью следует провести на секущей плоскости фронтали, конкурирующие с образующими цилиндроида. На рис. 121 проведена фронталь плоскости , конкурирующая с двумя образующими и цилиндроида. В пересечении с образующими и получаем точки и , которые являются точками видимости для вида спереди. Аналогично находим точки видимости и для вида сверху при помощи фронталей и плос-кости , соответственно конкурирующих с образующими и цилиндроида.
В пересечении фронтали плоскости , конкурирующей с образующими и , находим случайные точки и искомой линии пересечения. Натуральный вид сечения определяем способом размерений. При этом высоты точек измеряем на виде сверху по прямой , повернутой до горизонтального положения прямой и наибольшего уклона плоскости, а широты – на виде спереди по фронталям плоскости.
Если секущая плоскость имеет вырожденный вид, то построение точек сечения несколько упростится, так как в этом случае нет нужды в построении на плоскости прямых, конкурирующих с образующими линейчатой поверхности.
Рассмотренные примеры дают представление об общем методе построения линии пересечения поверхностей вращения и линейчатых поверхностей с какой-либо плоскостью.
Однако весьма часто заранее известен вид кривой, получающейся в сечении поверхности плоскостью. В этом случае линия пересечения может быть построена при помощи основных элементов, определяющих эту кривую. Так, сфера пересекается плоскостью всегда по окружности, цилиндр вращения – по эллипсу. Если же секущая плоскость параллельна или перпендикулярна оси цилиндра, то в сечении получается соответственно пара параллельных прямых или окружность (рис. 122).
В сечении конуса вращения получаются все виды кривых второго порядка (конические сечения). Если секущая плоскость не параллельна ни одной из образующих конуса, т. е. пересекает все образующие, то сечение представляет собой эллипс (рис. 123); в частности, если секущая плоскость перпендикулярна оси конуса, то в сечении получается окружность; если она параллельна только одной образующей конуса, то в сечении – парабола, если же двум образующим, то в сечении – гипербола. В частности, если плоскость проходит через вершину конуса, то в сечении получается пара пересекающихся в вершине прямых. Разумеется, что в случае, когда линия пересечения поверхности с плоскостью представляет собой окружность или эллипс, а также когда она распадается на пару прямых, можно избежать кропотливого построения линии пересечения по точкам, а провести его по основным элементам этих линий. Так как проекции окружности и эллипса являются эллипсами, то построение в этих случаях сводится к определению центров эллипсов и их осей или сопряженных диаметров. Покажем на примерах построение таких сечений.
Пример №23
Построить сечение и натуральный вид сечения сферы данной плоскостью.
Решение:
Сначала рассмотрим случай, когда секущая плоскость является наклонной плоскостью (рис. 124). Так как сфера сечется плоскостью по окружности, а плоскость в данном случае является наклонной, то на виде спереди эта окружность выродится в отрезок прямой , а на виде сверху окружность изобразится эллипсом. Центр окружности сечения легко построить, так как на виде спереди центр должен находиться посредине отрезка , который дает натуральную величину диаметра окружности. Поэтому натуральный вид сечения может быть построен сразу как окружность диаметра . Эллипс, являющийся изображением окружности на виде сверху, определяется своими осями и , причем ось равна диаметру окружности сечения, так как диаметр , являясь отрезком прямой, перпендикулярной фронтальной плоскости, не искажается на виде сверху. Имея оси эллипса, можно его вычертить любым из известных способов. Однако для уточнения чертежа полезно дополнительно построить точки видимости и ; они легко находятся в пересечении секущей плоскости с экватором сферы.
Необходимо заметить, что при построении эллипса не по осям, а при помощи случайных точек, определяемых в пересечении параллелей сферы с секущей плоскостью, все же рекомендуется для уточнения эллипса строить и его оси. Теперь рассмотрим случай пересечения сферы плоскостью общего положения (рис. 125).
Этот случай сводится к предыдущему построением дополнительного вида по направлению горизонтали секущей плоскости. Тогда плоскость будет иметь на дополнительном виде вырожденный вид , и поэтому сечение и натуральный вид сечения можно построить точно так же, как это сделано на рис. 124.
Для построения эллипса, являющегося видом спереди сечения, следует построить на виде спереди егo диаметры и , концы которых легко найти из условия сохранения высот точек при построении дополнительного вида. Эти диаметры эллипса будут его сопряженными диаметрами, так как являются изображениями взаимно перпендикулярных диаметров окружности, обладающих свойством сопряженности (каждый сопряженный диаметр делит пополам хорды, параллельные другому диаметру). Это свойство при параллельном проецировании окружности в эллипсе сохраняется. Имея сопряженные диаметры эллипса, можно его вычертить известным способом (с помощью описанного параллелограмма). В дополнение к этому определены точки видимости и на виде спереди. Они построены при помощи фронтали 2–3 плоскости , конкурирующей с главным меридианом сферы.
Пример №24
Построить сечение и натуральный вид сечения конуса вращения данной плоскостью.
Решение:
Опять вначале рассмотрим случай, когда секущая плоскость является наклонной плоскостью (рис. 126).
Так как в данном случае наклонная плоскость пересекает все образующие конуса, то в сечении получится эллипс. На виде спереди эллипс выродится в отрезок прямой , а на виде сверху он будет эллипсом, так как ортогональная проекция эллипса также является эллипсом.
Большая ось эллипса-сечения является фронталью и поэтому не искажается на виде спереди. Малая же ось является прямой, перпендикулярной фронтальной плоскости. Поэтому она на виде спереди вырождается в точку , делящую отрезок пополам (точка 0 – центр эллипса), а на виде сверху не искажается. Для построения малой оси CD на виде сверху достаточно провести на уровне точек и параллель конуса; тогда на виде сверху будет хордой этой параллели. Теперь эллипс, являющийся видом сверху эллипса-сечения, можно построить по его осям и; при этом большая ось не искажается на виде спереди, а малая ось определяется при помощи случайных точек, которые можно находить, используя параллели конуса, как в случае поверхности вращения, или образующие конуса, как в случае линейчатой поверхности.
Теперь рассмотрим случай пересечения конуса вращения плоскостью общего положения (рис. 127).
Если построить дополнительный вид сечения по направлению горизонтали , секущей плоскости , то рассматриваемый случай сведется к предыдущему. Сечение на виде сверху, являющееся эллипсом, можно построить по сопряженным диаметрам и. Концы этих диаметров легко находятся из условия сохранения высот относительно базовой плоскости при построении дополнительного вида. Дополнительно следует построить точки видимости и на виде спереди. Эти точки найдены в пересечении с секущей плоскостью контурных образующих и . Эллипс, являющийся натуральным видом сечения, построен по его осям, при этом большая ось не искажается на дополнительном виде, а малая ось – на виде сверху.
В заключение рассмотрим построение сечений двух технических деталей.
Пример №25
Построить линию среза головки рычага двумя фронтальными плоскостями и (рис. 128).
Решение:
Данная головка представляет собой некоторое тело вращения, ограниченное поверхностями цилиндра I, конуса II, тора III и сферы IV. После среза головки фронтальными плоскостями и получим переднюю и заднюю части линий пересечения (они на виде спереди совпадают). Точки линии пересечения легко строятся при помощи параллелей поверхности вращения, ограничивающей данную головку. На чертеже показано построение точек и при помощи параллели , которая, являясь окружностью, расположенной в профильной плоскости, не искажается на виде слева. На чертеже также показано построение точки – вершины гиперболы, по которой пересекается поверхность конуса. Точка построена при помощи параллели, касающейся секущих плоскостей. На участке поверхности сферы линия пересечения является дугой окружности, и потому на этом участке построение производится не по точкам, а непосредственно циркулем.
Пример №26
Построить натуральный вид сечения данной детали наклонной плоскостью (рис. 129).
Решение:
Для построения искомого натурального вида нет нужды в построении сечения на виде сверху, так как высоты и широты точек линий, ограничивающих сечение, непосредственно определяются по чертежу. В самом деле, высоты точек не искажаются на виде спереди, а широты точек располагаются на прямых, перпендикулярных фронтальной плоскости и, следовательно, не искажаются на виде сверху.
На чертеже показано построение точек и натурального вида сечения. Эти точки построены при помощи их высот и широт. Эллипсы, которые получаются в сечениях цилиндров, построены по их осям, при этом малая ось каждого эллипса равна диаметру соответствующего цилиндра, а большая – отрезку вида плоскости , заключенному между очерковыми образующими цилиндра.
Если на какой-нибудь кривой поверхности (рис. 130) провести через ее обыкновенную точку произвольные кривые линии и к этим кривым в точке построить касательные прямые то все касательные прямые будут лежать в одной плоскости , называемой касательной плоскостью к поверхности * .
* Это положение доказывается в курсе дифференциальной геометрии. Там же рассматриваются особые точки поверхности, в которых касательная плоскость или неопределенная, или же не единственная. Примером такой точки может служить вершина конической поверхности.
Таким образом, касательная плоскость является геометрическим местом всех касательных, проведенных к данной кривой поверхности, проходящих через одну ее точку. Очевидно, что для построения касательной плоскости к поверхности в ее точке достаточно через эту точку провести на поверхности только две кривые линии и и к ним построить касательные прямые и . Эти две касательные прямые и определят касательную плоскость . Разумеется, что в качестве таких двух кривых линий поверхности следует выбирать ее простейшие линии. Так, в случае линейчатой поверхности одной из этих кривых может служить ее прямолинейная образующая (она совпадает со своей касательной), а в случае поверхности вращения – ее параллель. В зависимости от вида поверхности касательная плоскость может иметь с поверхностью только одну общую точку, например, в случае сферы (рис. 131), или бесчисленное множество общих точек, составляющих прямую или кривую линии, например, в случае конической поверхности (рис. 132) или поверхности кольца (рис. 133).
В приведенных выше случаях поверхность располагается по одну сторону от касательной плоскости, которая не пересекает поверхности. Однако касательная плоскость может и пересекать поверхность по какой-нибудь линии. Так, например, в случае однополостного гиперболоида касательная плоскость пересекает его по двум образующим и , которые вместе с тем будут и касательными и , определяющими касательную плоскость (рис. 134).
Рассмотрим несколько примеров построения касательной плоскости к различным поверхностям.
Пример №27
Построить плоскость , касательную к поверхности вращения в ее точке (рис. 135).
Решение:
В качестве двух кривых линий поверхности вращения, касательные к которым определяют искомую плоскость , выберем параллель и меридиан а данной поверхности, проходящие через точку . Так как параллель является окружностью, расположенной горизонтально, то построение касательной не вызывает затруднений. Для построения же касательной к меридиану предварительно поворачиваем его вокруг оси поверхности вращения до фронтального положения . При этом данная точка займет положение . Если теперь построить касательную к фронтальному меридиану a в его точке , то, произведя обратное вращение, получим искомую касательную к меридиану .
Таким образом, касательная плоскость определена двумя пересекающимися прямыми и .
Пример №28
Построить плоскость, касательную к конической поверхности в ее точке (рис. 136).
Решение:
Так как данная поверхность линейчатая, то, проведя через данную точку образующую , являющуюся в то же время и своей касательной, получим одну из прямых, определяющих искомую плоскость . Второй прямой, определяющей плоскость , будет касательная к окружности в ее точке , проведенной на конической поверхности.
Касательная параллельна касательной , проведенной в точке к окружности основания конической поверхности. Поэтому искомую касательную плоскость можно определить образующей и касательной к окружности основания конической поверхности, не строя вспомогательной окружности , проходящей через данную точку .
Необходимо заметить, что касательная плоскость к конической или цилиндрической поверхности и вообще ко всякой поверхности торса касается поверхности по всей образующей.
Пример №29
Построить плоскость , касательную к цилиндрической поверхности и проходящую через точку , заданную вне цилиндрической поверхности (рис. 137).
Решение:
Так как искомая касательная плоскость должна содержать в себе образующую цилиндрической поверхности, то в этой плоскости можно провести через данную точку прямую , параллельную образующим цилиндрической поверхности.
Если теперь провести через точку – пересечения прямой с плоскостью – касательные прямые и к окружности основания цилиндрической поверхности, то прямая и касательные и определят две искомые касательные плоскости и . Эти плоскости касаются цилиндрической поверхности по ее образующим и .
Кроме указанных выше случаев задания касательной плоскости, ее можно задавать и другими условиями, характер которых зависит от вида поверхности. Так, к сфере можно проводить касательную плоскость, ставя условие, чтобы она проходила через заданную прямую, не пересекающую сферу и была параллельна некоторой заданной плоскости и т. д.
К конусу касательную плоскость можно проводить так, чтобы она проходила через точку, расположенную вне поверхности конуса и была параллельна некоторой прямой и т. д.
Линия пересечения двух поверхностей, называемая иначе линией перехода, в общем случае представляет собой пространственную кривую, а в случае пересечения многогранных поверхностей – пространственную ломаную линию. В частности, линия пересечения может распадаться на две и более части, которые могут быть и плоскими линиями, если хотя бы одна из поверхностей является многогранной. Обычно линию пересечения двух поверхностей строят по ее отдельным точкам.
Основными способами построения точек линии пересечения двух поверхностей являются способы конкурирующих линий, вспомогательных сфер и приближений. Применение того или иного способа зависит как от типа данных поверхностей, так и от их взаимного расположения. Способ конкурирующих линий следует применять при построении линий пересечения таких поверхностей, на каждой из которых возможно провести серию графически простых линий, т. е. прямых или окружностей, при этом линии одной поверхности должны конкурировать с соответствующими линиями другой поверхности. Кроме того, если в качестве этих линий используются окружности, то поверхности должны быть расположены так, чтобы эти окружности не искажались на одном из видов.
Способ вспомогательных сфер можно применять при построении линии пересечения поверхностей, имеющих общую плоскость симметрии, параллельную какой-либо плоскости уровня. При этом каждая из поверхностей должна содержать семейство окружностей, по которым ее могут пересекать вспомогательные сферы, общие для обеих поверхностей.
В частности, способ вспомогательных сфер можно использовать при построении линии пересечения двух поверхностей вращения, оси которых пересекаются и параллельны какой-либо плоскости уровня.
Способ приближений весьма универсален и требует для своего применения возможности построения семейства линий на каждой из данных поверхностей.
В некоторых случаях линия пересечения поверхностей второго порядка распадается на плоские кривые второго порядка. Тогда, если заранее известен вид этих кривых, можно избежать трудоемкого построения линии пересечения по точкам и провести построение этих кривых по их основным элементам.
Заметим также, что если одна из пересекающихся поверхностей имеет вырожденный вид, например, проецирующая цилиндрическая поверхность, то построение линии пересечения упрощается, так как в этом случае сразу определяются точки пересечения этой поверхности с графически простыми линиями другой поверхности.
Каким бы способом ни производилось построение линии пересечения поверхностей, при нахождении точек этой линии необходимо соблюдать определенную последовательность. У линии пересечения двух поверхностей так же, как и у линии пересечения поверхности с плоскостью, различают точки опорные и случайные. В первую очередь определяют опорные точки, так как они позволяют увидеть, в каких пределах расположена линия пересечения на каждом виде и где между этими точками имеет смысл определять случайные точки для более точного построения линии пересечения поверхностей.
Определение видимости линии пересечения производят отдельно для каждого участка, ограниченного точками видимости, при этом видимость всего участка совпадает с видимостью какой-нибудь случайной точки этого участка. При построении линии пересечения необходимо иметь в виду, что ее виды всегда располагаются в пределах площади наложения одноименных видов пересекающихся поверхностей.
Вначале рассмотрим взаимное пересечение многогранников. Вершинами линии пересечения многогранников являются точки пересечения ребер первого многогранника с гранями второго, а также ребер второго многогранника с гранями первого. Сторонами или звеньями линии пересечения являются отрезки прямых, по которым пересекаются грани обоих многогранников.
Обычно строят вершины линии пересечения, а стороны определяют соединением соответствующих вершин. Причем отрезками прямых можно соединять только те пары вершин, которые лежат в одной и той же грани первого многогранника и в то же время в одной и той же грани второго многогранника. Если же рассматриваемая пара вершин хотя бы в одном многограннике принадлежит разным граням, то такие вершины не соединяются.
Порядок соединения вершин линии пересечения в большинстве случаев легко определяется, если после построения вершин выяснен вопрос о видимости ребер обоих многогранников, причем для каждого ребра, на котором имеются вершины линии пересечения, отмечена видимость до и после его пересечения с другим многогранником. Разумеется, что окончательно видимыми будут только те видимые ребра каждого многогранника, которые пересекаются с видимыми гранями другого многогранника.
При соединении вершин линии пересечения необходимо учитывать видимость ее звеньев. Видимыми звеньями будут только те, которые принадлежат одновременно видимым граням как первого, так и второго многогранников.
Итак, при построении линии пересечения двух многогранников следует вначале найти вершины этой линии, построение которых сводится к проведению на поверхности каждого многогранника вспомогательных ломаных линий, конкурирующих с ребрами другого многогранника, и определению точек пересечения этих линий с соответствующими ребрами. Стороны линии пересечения находятся последовательным соединением отрезками прямых тех пар найденных вершин, которые лежат в одной и той же грани каждого из данных многогранников. Покажем два примера построения линии пересечения многогранников.
Пример №30
Построить линию пересечения треугольной пирамиды и треугольной призмы (рис. 138).
Решение:
Найдем сначала точки пересечения ребер пирамиды с гранями призмы. Ребра основания пирамиды не пересекают граней призмы, поскольку эти ребра располагаются вне площади наложения. Поэтому будем искать точки пересечения ребер и пирамиды с гранями призмы. Для каждого из этих ребер строим на поверхности призмы вспомогательные линии, конкурирующие на виде спереди (рис. 138а). Эти линии образуют треугольники.
Так, линия, конкурирующая на виде спереди с ребром , образует треугольник 1–2–3. В пересечении ребра со сторонами 1–2 и 1–3 треугольника 1–2–3 находим точки и пересечения ребра с поверхностью призмы. Определяем видимость ребра . Так как это ребро пересекается в точке с гранью , а в точке – с гранью , а обе эти грани видимы на виде сверху, то ребро будет на виде сверху видимым на отрезках и . На виде спереди грань видима, а грань невидима, поэтому на виде спереди ребро будет видимым на отрезке и на отрезке от точки, конкурирующей с точкой 3, до точки . Аналогично находим точки и пересечения ребер и с поверхностью призмы, а также определяем видимость этих ребер.
Теперь определяем точки пересечения ребер призмы с гранями пирамиды. Ребра обоих оснований призмы не пересекают поверхности пирамиды, так как они расположены вне площади наложения. Таким образом, остается определить точки пересечения ребер и призмы с поверхностью пирамиды.
Проведя на поверхности пирамиды вспомогательные линии, конкурирующие на вид спереди с рассматриваемыми ребрами призмы (на рис. 138а показана только вспомогательная линия для ребра ), выясняем, что ребра и не пересекают поверхности пирамиды, а ребро пересекает поверхность пирамиды в точках и . Тут же определяем видимость этих ребер.
Теперь все вершины линии пересечения построены, и остается их соединить в определенном порядке. Так как каждая пара вершин и лежит в одной и той же грани пирамиды, а все вместе они находятся в грани призмы, что легко обнаружить из рассмотрения вида сверху (рис. 138а), то эти вершины можно соединить попарно, при этом получим треугольник КМР, являющийся сечением пирамиды гранью (рис. 138б).
Остальные пять вершин можно соединить в следующем порядке: . В самом деле, у вершин и общие грани и , у вершин и общие грани и , у вершин и общие грани и , у вершин и общие грани и и, наконец, у вершин и общие грани и . Итак, линия пересечения состоит из двух замкнутых ломаных линий – из треугольника и пространственного пятиугольника . Решая вопрос о видимости звеньев линии пересечения, убеждаемся, что на виде сверху видимыми будут только звенья и , а на виде спереди – звенья и , так как эти звенья одновременно лежат на видимых гранях как первого, так и второго многогранников.
Если при построении линии пересечения двух многогранников поверхность хотя бы одного из них имеет вырожденный вид, то следует использовать вырождение соответствующих видов ребер и граней этого многогранника в точки и прямые. При этом задача построения линии пересечения значительно упрощается.
Пример №31
Построить линию пересечения треугольной пирамиды с треугольной призмой, боковая поверхность которой имеет вырожденный вид (рис. 139).
Решение:
На виде сверху точки и пересечения ребер пирамиды с гранями призмы находятся в пересечении соответствующих ребер с вырожденными видами граней призмы, после чего они определяются на виде спереди на соответствующих ребрах. На виде сверху точки и пересечения правого ребра призмы с гранями пирамиды совпадают с вырожденным видом самого ребра, а на виде спереди эти точки построены с помощью прямых и , принадлежащих граням пирамиды, которые пересекает ребро призмы.
Теперь перейдем к пересечению кривых поверхностей.
Как было указано выше, построение точек линии пересечения двух поверхностей способом конкурирующих линий сводится к проведению на обеих данных поверхностях графически простых линий (прямых или окружностей), конкурирующих друг с другом. Точки пересечения каждой пары конкурирующих линий и будут точками линии пересечения поверхностей. Рассмотрим пример построения линии пересечения двух поверхностей указанным способом.
Пример №32
Построить линию пересечения конуса вращения и цилиндра вращения, у которых оси скрещиваются под прямым углом (рис. 140).
Решение:
Построение линии пересечения данных поверхностей можно произвести с помощью конкурирующих линий. В самом деле, если провести на цилиндрической поверхности ее образующие (прямые), то каждая из них будет конкурировать с некоторой параллелью (окружностью) конической поверхности, и так как эти параллели являются горизонталями, то они не будут искажаться на виде сверху.
Вначале покажем построение опорных точек. У цилиндрической поверхности точками видимости для вида сверху являются точки и , они же будут и наиболее удаленными точками. Эти точки найдены в пересечении контурной образующей цилиндрической поверхности и конкурирующей с нею параллели конической поверхности. У конической поверхности точек видимости для вида сверху нет, так как вся она на виде сверху видима. Точки видимости и цилиндрической поверхности для вида спереди найдены в пересечении контурных образующих цилиндрической поверхности и и соответственно конкурирующих с ними параллелей и конической поверхности. При этом точки и будут высшими точками, а точки и – низшими. Точки видимости и конической поверхности для вида спереди найдены в пересечении контурных образующих и конической поверхности и соответственно конкурирующих с ними образующих и цилиндрической поверхности.
Образующие и на виде спереди построены при помощи вида слева. Точки видимости и конической поверхности для вида слева найдены на контурной профильной образующей конической поверхности; при этом предварительно эти точки построены на виде слева в пересечении образующей с вырожденным видом цилиндрической поверхности.
Теперь можно построить сколько угодно случайных точек. Построение четырех случайных точек и показано на рис. 140. Эти точки найдены в пересечении образующих и цилиндрической поверхности и конкурирующей с ними параллели конической поверхности * .
Построив достаточное число случайных точек линии пересечения, следует их соединить в определенной последовательности, учитывая условия видимости. В данном случае видимость линии пересечения на обоих видах определяется цилиндрической поверхностью, поэтому видимыми будут только те участки линии пересечения, которые расположены на видимой части цилиндрической поверхности ** .
Если при построении линии пересечения двух поверхностей хотя бы одна из них имеет вырожденный вид, то следует использовать вырождение вида этой поверхности в линию. При этом построение линии пересечения поверхностей значительно упрощается, так как на одном из видов любая ее точка принадлежит вырожденному виду поверхности, а на другом виде легко определяется с помощью графически простых линий второй поверхности. Покажем это на следующих примерах.
* Так как цилиндрическая поверхность имеет вырожденный вид, то точки искомой линии пересечения можно найти при помощи образующих конической поверхности. В самом деле, в пересечении на виде слева этих образующих с вырожденным видом цилиндрической поверхности легко определяются искомые точки на виде слева.
На рис. 140 и на последующих рисунках, иллюстрирующих пересечение поверхностей, не изображены элементы каждой из этих поверхностей, расположенные внутри другой поверхности. Иначе говоря, на этих рисунках принято, что каждая из пересекающихся поверхностей «высекает» из другой поверхности ее часть, заключенную внутри первой поверхности.
Пример №33
Построить линию пересечения двух цилиндров вращения со скрещивающимися осями, причем поверхность одного из них является горизонтально проецирующей (рис. 141).
Решение:
Так как поверхность одного из данных цилиндров имеет вырожденный вид, то на виде сверху искомая линия пересечения совпадает с дугой окружности, являющейся вырожденным видом этого цилиндра. Для определения на виде спереди линии пересечения следует построить при помощи графически простых линий, в данном случае образующих второго цилиндра, на виде спереди точки, определяющие линии пересечения поверхностей.
Построение на виде спереди опорных точек и (самой дальней и самой ближней), и (наивысшей и наинизшей; они же являются точками видимости второго цилиндра для вида спереди), и (самых левых; они же являются точками видимости первого цилиндра для вида спереди) и случайных точек и показано на рис. 141.
Необходимо заметить, что на виде спереди точки и случайные точки удобнее всего находить с помощью дополнительного вида по направлению образующих второго цилиндра. Тогда этот цилиндр на дополнительном виде выродится в окружность и можно построить при помощи глубин и точки и на этом виде, после чего они легко определяются на виде спереди. В отдельном круге показан элемент линии пересечения с точками видимости и в увеличенном виде.
Пример №34
Построить линию пересечения треугольной призмы со сферой (рис. 142).
Решение:
Линия пересечения в рассматриваемом примере состоит из дуг окружностей, являющихся линиями пересечения граней призмы со сферой. Эти дуги соединяются между собой в точках пересечения ребер призмы со сферой. Таким образом, в данном случае, как и в других случаях построения линии пересечения многогранной и кривой поверхностей, задача сводится к последовательному решению задач о пересечении кривой поверхности с прямой и плоскостью (см. гл. III, § 4, 5, гл. IV, § 1). И в том, и в другом случае пользуются методом конкурирующих линий.
Так как ребра призмы являются фронталями, то можно построить дополнительный вид по направлению этих ребер. Тогда боковая поверхность призмы на дополнительном виде выродится в треугольник, что значительно облегчит построение искомой линии пересечения.
На дополнительном виде линия пересечения совпадает с частью вырожденного вида призмы, заключенной внутри очерка сферы. При помощи фронталей и сферы находим точки и пересечения ребер призмы со сферой. Построение линии пересечения сферы только с одной из граней призмы, а именно с гранью, видимой на обоих видах, подробно показано на рис. 142.
Сначала находим центр окружности, являющейся искомой линией пересечения. Для этого на дополнительном виде опускаем из точки перпендикуляр на прямую . Основание этого перпендикуляра определит центр окружности на дополнительном виде, а отрезок – величину диаметра искомой окружности. Потом находим центр на видах спереди и сверху. Эллипс, являющийся видом спереди линии пересечения, определяется своими осями и , при этом ось равна диаметру окружности, т. е. отрезку на дополнительном виде. Находим также точки видимости и для вида спереди.
Эллипс, являющийся видом сверху искомой окружности, можно построить по сопряженным диаметрам и , которыми изобразятся на виде сверху взаимно перпендикулярные диаметры окружности. В дополнение к этому следует определить точки видимости и для вида сверху.
Они построены при помощи прямой 1–2, принадлежащей рассматриваемой грани и конкурирующей с экватором сферы.
В заключение рассмотрим технический пример на построение линии перехода цилиндров вращения с пересекающимися осями (рис. 143). Так как поверхность среднего цилиндра имеет вырожденный вид сверху, то на этом виде линия перехода совпадает с дугами окружности, которой изображается этот цилиндр. Построение на виде спереди точек линии перехода легко осуществить при помощи дополнительных видов по направлению образующих боковых цилиндров.
При построении линии пересечения двух поверхностей способом вспомогательных сфер возможны два случая. В первом пользуются сферами, проведенными из одного, общего для всех сфер, центра (способ концентрических сфер), а в другом – сферами, проведенными из разных центров (способ эксцентрических сфер).
Вначале рассмотрим способ концентрических сфер, для этого предварительно остановимся на пересечении соосных поверхностей вращения (так называются поверхности вращения с одной осью).
Две соосные поверхности вращения пересекаются друг с другом по окружностям, причем число последних равно числу точек пересечения меридианов поверхностей.
В самом деле, если одна поверхность образуется вращением меридиана , а другая – меридиана , около общей оси (рис. 144), то общие точки меридианов и , будут описывать окружности, общие для данных поверхностей (на рис. 144 показан только вид спереди).
При этом если общая ось поверхностей вращения параллельна какой-нибудь плоскости уровня, то эти окружности изобразятся на соответствующем виде отрезками прямых.
Необходимо отметить частный случай пересечения двух соосных поверхностей вращения, когда одна из этих поверхностей является сферой. Если центр сферы находится на оси какой-нибудь поверхности вращения, то сфера соосна с поверхностью вращения и в их пересечении получатся окружности (рис. 145). Это свойство сферы с центром на оси какой-либо поверхности вращения положено в основу способа концентрических сфер.
Выясним на примерах условия, при которых можно построить линию пересечения двух поверхностей способом концентрических сфер.
Пример №35
Построить линию пересечения цилиндра и конуса вращения, оси которых и пересекаются в некоторой точке и параллельны фронтальной плоскости (рис. 146).
Решение:
Построение линии пересечения данных поверхностей можно выполнить способом концентрических сфер. В самом деле, если провести из точки пересечения осей данных поверхностей как из центра произвольную сферу, пересекающую каждую из данных поверхностей, то эта сфера будет соосна с данными поверхностями. Поэтому она пересечется с каждой из данных поверхностей по окружностям. Эти окружности изобразятся на виде спереди отрезками прямых, что следует из параллельности осей данных поверхностей фронтальной плоскости. В пересечении отрезков прямых, изображающих окружности, получим на виде спереди точки, принадлежащие обеим данным поверхностям, а значит, и искомой линии пересечения.
Вначале должны быть построены некоторые опорные точки. Так как обе данные поверхности имеют общую плоскость симметрии, параллельную фронтальной плоскости, то их контурные образующие по отношению к фронтальной плоскости пересекаются. Точки и пересечения этих образующих являются точками видимости линии пересечения поверхностей.
Далее следует определить радиусы максимальной и минимальной сфер, пригодных для отыскания точек линии пересечения. Радиус максимальной сферы равен расстоянию от центра сфер до наиболее удаленной точки пересечения очерковых образующих, в данном случае до точки . Чтобы определить радиус наименьшей сферы , необходимо провести через точку нормали к очерковым образующим данных поверхностей. Тогда больший из отрезков этих нормалей и будет . В этом случае сфера минимального радиуса будет касаться одной из данных поверхностей, а со второй – будет пересекаться.
Если же взять в качестве меньший отрезок, то одна из данных поверхностей с такой сферой не пересечется. В данном примере сферой минимального радиуса будет сфера, касающаяся цилиндрической поверхности. Эта сфера касается цилиндрической поверхности по окружности 1–2, а коническую поверхность она пересекает по двум окружностям 3–4 и 5–6. Точки и пересечения этих окружностей будут точками искомой линии пересечения.
Для построения других точек линии пересечения проводят несколько концентрических сфер с центром в точке , причем радиус этих сфер должен изменяться в пределах .
На рис. 146 проведена одна дополнительная сфера радиуса . Она пересекает цилиндрическую поверхность по окружностям 7–8 и 9–10, а коническую поверхность – по окружностям 11–12 и 13–14. В пересечении этих окружностей получаем точки и , принадлежащие линии пересечения.
Чтобы построить точки линии пересечения на виде сверху, следует воспользоваться окружностями той или иной из данных поверхностей, содержащими искомые точки. В данном примере удобнее использовать окружности конической поверхности, так как они не искажаются на виде сверху.
Если оси данных поверхностей вращения пересекаются, но не параллельны какой-либо плоскости уровня, то можно построением дополнительного вида привести их в положение, параллельное плоскости дополнительного вида.
Пример №36
Построить линию пересечения сферы с произвольной поверхностью вращения, ось которой находится в одной фронтальной плоскости с центром сферы (рис. 147).
Решение:
Так как из любой точки пространства, за исключением центра сферы , можно описать концентрические сферы, пересекающие данную сферу по окружностям, и из любой точки оси можно описать концентрические сферы, пересекающие данную поверхность вращения по окружностям, то геометрическим местом точек пространства, из которых возможно описать концентрические сферы, пересекающие по окружностям и данную поверхность вращения, и данную сферу, будет ось поверхности.
Таким образом, если из любой точки оси поверхности вращения описать концентрические сферы, то они пересекут данные поверхности по окружностям. Так, на рис. 147 вспомогательная сфера радиуса пересекает поверхность вращения по окружности 1–2, а данную сферу – по окружности 3–4 (эти окружности изображаются на виде спереди отрезками прямых). Точки и пересечения указанных окружностей и будут точками искомой линии пересечения. Для построения точек линии пересечения на виде сверху можно воспользоваться окружностями поверхности вращения, которые не искажаются на виде сверху.
Рассмотренные примеры показывают, что способ концентрических сфер можно применять для построения линии пересечения двух поверхностей, у которых имеется общая плоскость симметрии и каждая из которых содержит семейство окружностей, по которым ее могут пересекать концентрические сферы, общие для обеих поверхностей. В частности, способ концентрических сфер следует применять при построении линии пересечения двух поверхностей вращения, оси которых пересекаются.
Указанный способ построения линии пересечения двух поверхностей состоит в применении вспомогательных сфер, имеющих различные центры. Для выяснения условий, при которых можно применять этот способ, рассмотрим прежде всего рис. 148. Как было выяснено, в этом примере центры вспомогательных сфер можно брать в любой точке оси поверхности вращения. Поэтому построение линии пересечения в этом случае можно выполнить способом не только концентрических, но и эксцентрических сфер.
Построение точек линии пересечения данных поверхностей способом эксцентрических сфер показано на рис. 148. Здесь проведены четыре сферы радиусов и из различных центров и , расположенных на оси поверхности вращения. Каждая из этих сфер пересекается с данными поверхностями по окружностям, точки пересечения которых и будут точками линии пересечения поверхностей. Рассмотрим еще один пример.
Пример №37
Построить линию пересечения поверхности тора с конической поверхностью вращения, имеющих общую фронтальную плоскость симметрии (рис. 149).
Решение:
Вначале отмечаем точки видимости и в пересечении контура поверхности тора с контуром конической поверхности. Для построения случайных точек здесь нельзя воспользоваться способом концентрических сфер, так как хотя обе поверхности и являются поверхностями вращения, но их оси и не пересекаются. Способом же эксцентрических сфер, центры которых находятся в различных точках оси конической поверхности, можно найти сколько угодно случайных точек линии пересечения.
В самом деле, у поверхности тора, кроме семейства окружностей (параллелей), расположенных в плоскостях, перпендикулярных оси , имеется семейство окружностей (меридианов), расположенных в плоскостях, проходящих через ось . Центры сфер, пересекающих поверхность тора по этим окружностям, будут находиться на перпендикулярах к плоскостям этих окружностей, проведенных через их центры . Поэтому, если взять центры эксцентрических сфер в точках пересечения этих перпендикуляров с осью конической поверхности, то сферы соответствующих радиусов пересекут обе данные поверхности по окружностям. Точки пересечения окружностей обеих поверхностей, принадлежащих одной и той же сфере, и будут точками искомой линии пересечения.
На рис. 149 проведены три эксцентрические сферы из центров и , с помощью которых найдены случайные точки линии пересечения. Так, для построения точек и проведен меридиан 3–4 поверхности тора, расположенный в наклонной плоскости, проходящей через ось , и из его центра восстановлен перпендикуляр к этой плоскости. В точке пересечения этого перпендикуляра с осью и будет находиться центр вспомогательной сферы. Если теперь провести сферу с центром в точке такого радиуса , чтобы ей принадлежала окружность 3–4, то эта сфера, пересекая коническую поверхность по некоторой окружности 1–2, определит в пересечении окружностей 1–2 и 3–4 искомые точки и . Точки пересечения на виде сверху можно найти с помощью графически простых линий поверхности тора, которыми являются ее параллели. Так, точки и на виде сверху построены при помощи параллелей и поверхности тора. Точки видимости и конической поверхности для вида сверху построены приближенно, они на виде спереди найдены в пересечении линии пересечения и оси конуса.
Рассмотренные примеры показывают, что способ эксцентрических сфер можно применять для построения линии пересечения двух поверхностей, имеющих общую плоскость симметрии. Причем каждая из этих поверхностей должна содержать семейство окружностей, по которым ее могут пересекать эксцентрические сферы, общие для обеих поверхностей.
Иногда при построении линии пересечения поверхностей не удается применить ни один из «точных» способов, рассмотренных выше. В этих случаях удобно пользоваться приближенным способом построения точек линии пересечения. Он обладает большой универсальностью, если только данные поверхности заданы семейством каких-либо линий либо они допускают построение таких семейств для обеих поверхностей. Выясним сущность этого способа.
Пусть дана полоса какой-либо поверхности, ограниченная ее линиями и , а также некоторая кривая (рис. 150а). Будем называть первым приближением точки пересечения кривой с данной полосой поверхности точку , построенную по схеме, указанной на рис. 150а. По существу, точка является точкой пересечения кривой с плоской кривой, которой заменена, или, как говорят, аппроксимирована кривая данной полосы поверхности, конкурирующая с кривой .
Кривая пересекается с поверхностью внутри полосы , если ориентация видов полосы и ориентация видов кривой различны и у видов полосы имеется общая часть, в которую включены виды кривой. Виды полосы и кривой на рис. 150а ориентированы по-разному: виды полосы одинаково ориентированы, а виды кривой – противоположно.
Если же виды полосы имеют ту же ориентацию, что и виды кривой, то кривая будет пересекаться с поверхностью внутри полосы в том случае, когда соответствующий вид кривой , например вид сверху (рис. 150б), пересекает противоположные стороны четырехугольника, образованного видами и и вертикальными линиями связи. Два вида сверху кривой изображены на рис. 150б; один пересекает виды и , а другой – вертикальные линии связи.
Дальнейшие приближения точки пересечения кривой с данной полосой поверхности можно получить, если удастся построить промежуточные линии этой полосы. Приближения , построенные по той же схеме, что и на рис. 150, показаны на рис. 151.
Будем называть приближенной линией пересечения двух поверхностей, заданных семействами линий, лекальную кривую, наилучшим образом приближающуюся к ломаной, вершинами которой служат приближенные точки пересечения линий одной поверхности с соответствующими полосами другой поверхности или наоборот, линий второй поверхности с полосами первой поверхности. Разумеется, если ограничиться только первыми приближениями, то линия пересечения, построенная с помощью линий первой поверхности и полос второй поверхности, будет несколько отличаться от линии пересечения, построенной с помощью линий второй поверхности и полос первой поверхности. Однако при дальнейших приближениях обе линии пересечения практически совпадут. Рассмотрим пример.
Пример №38
Построить линию пересечения поверхностей двух усеченных конусов, оси которых не пересекаются (на рис. 152 дано изображение только левой половины большого конуса).
Решение:
Для решения данного примера не применим ни способ конкурирующих линий, ни способ сфер. Выполним решение способом приближений, для чего предварительно проведем образующие обеих поверхностей. На поверхности большого конуса проведем шесть образующих, концы которых и являются точками деления окружностей оснований усеченного конуса на 24 равные части. На малом усеченном конусе проведены образующие, концы которых делят окружности его оснований на шесть равных частей. Вначале с помощью горизонтали большого конуса найдем точки видимости и малого конуса для вида сверху. Далее покажем построение случайных точек и .
Виды образующей 7 малого конуса * имеют противоположную ориентацию, а у видов полосы большого конуса ориентация одинаковая. Поэтому по первому признаку образующая 7 пересекается с полосой в точке , которая на виде сверху легко находится при помощи диагонали четырехугольника с вершинами, расположенными на образующих большого конуса. При построении точки пересечения образующей 8 малого конуса с полосой большого конуса использован второй признак пересечения линии с полосой. В данном случае виды образующей имеют одинаковую ориентацию, и виды полосы также одинаково ориентированы, т. е. виды образующей имеют ту же ориентацию, что и виды полосы. Тогда пересечение будет иметь место, так как образующая 8 пересекает противоположные стороны четырехугольника с вершинами на образующих и .
Помимо случайных точек показано построение точек видимости и малого конуса для вида спереди и точек видимости и большого конуса для того же вида.
Эти точки на виде сверху построены с помощью соответствующих диагоналей четырехугольников с вершинами на образующих большого конуса в случае точек и и на образующих малого конуса в случае точек и .
Так как поверхности второго порядка часто встречаются в технической практике, то вопрос об их взаимном пересечении заслуживает особого рассмотрения.
Линия пересечения двух поверхностей второго порядка является кривой четвертого порядка ** , т. е. эта кривая пересекается с плоскостью в четырех точках (действительных и мнимых). В частных случаях линия пересечения поверхностей второго порядка может распадаться, причем особый интерес представляет случай ее распадения на пару плоских кривых второго порядка.
* Образующие малого конуса обозначены одной цифрой, соответствующей обозначению одного их конца, а полосы обозначены двумя цифрами, соответствующими обозначениям противоположных концов разных образующих.
* • Как известно, порядок линии пересечения двух алгебраических поверхностей равен произведению порядков поверхностей.
Для примера рассмотрим пересечение сферы с конической поверхностью второго порядка, имеющей круговое основание , расположенное на данной сфере (рис. 153). В этом случае линия пересечения распадается на две окружности: данную окружность и окружность , которые изображаются на виде спереди в виде отрезков прямых, так как плоскость симметрии конической поверхности параллельна фронтальной плоскости.
Выясним условия, при которых линия пересечения двух поверхностей второго порядка распадается на пару плоских кривых второго порядка. Если две поверхности имеют в какой-либо их общей точке одну и ту же касательную плоскость, то они касаются между собой в этой точке. Когда две пересекающиеся поверхности имеют две точки, в которых они касаются друг друга, то говорят, что такие поверхности имеют двойное прикосновение. Линия пересечения двух поверхностей второго порядка, имеющих двойное прикосновение, распадается на пару кривых второго порядка, плоскости которых проходят через прямую, соединяющую точки прикосновения * . Рассмотрим пример, иллюстрирующий это положение.
Пример №39
Построить линию пересечения двух цилиндрических поверхностей вращения одинакового диаметра (рис. 154).
Решение:
Данные поверхности имеют двойное прикосновение в точках и , так как в этих точках обе поверхности имеют общие касательные плоскости и . Поэтому линия их пересечения распадается на пару кривых второго порядка, которые должны проходить через точки прикосновения и и точки и пересечения контурных образующих.
Нетрудно видеть, что линия пересечения в данном случае будет представлять собой два одинаковых эллипса, большими осями которых будут и , а малыми – . Эти эллипсы изображаются на виде спереди отрезками прямых и , а на виде сверху – окружностью, совпадающей с вырожденным видом цилиндрической поверхности.
Теорема о двойном прикосновении позволяет весьма просто строить круговые сечения тех поверхностей второго порядка, которые их имеют. Для этого следует провести сферу, имеющую двойное прикосновение с данной поверхностью. Тогда линия их пересечения распадается на пару плоских кривых. Но так как плоские кривые, расположенные на сфере, – окружности, то этим самым будут найдены круговые сечения поверхности второго порядка. Итак, для построения круговых сечений поверхностей второго порядка следует провести сферу, имеющую двойное прикосновение с данной поверхностью, тогда линия их пересечения даст пару круговых сечений данной поверхности.
Пример №40
Построить круговые сечения эллиптического цилиндра (рис. 155). Из какой-либо точки оси цилиндра описываем сферу так, чтобы она касалась двух образующих цилиндра и пересекала бы его.
Решение:
Точки касания и будут точками соприкосновения обеих поверхностей, так как в них можно провести общие касательные плоскости и . Таким образом, имеем двойное прикосновение поверхностей второго порядка и, следовательно, линия пересечения распадается на пару плоских кривых, в данном случае – на пару окружностей и , расположенных в наклонных плоскостях. Полученные два круговых сечения цилиндра входят в две серии круговых сечений цилиндра, параллельных между собой.
Пример №41
Построить круговые сечения эллиптического конуса (рис. 156).
Решение:
Как и в предыдущем примере, описываем сферу с центром в точке на оси конуса так, чтобы она имела двойное прикосновение с конусом. В точках и у обеих поверхностей общие касательные плоскости и . Тогда линия пересечения распадается на пару окружностей и , расположенных в наклонных плоскостях. Полученные круговые сечения входят в две серии круговых сечений конуса, параллельных между собой.
Пример №42
Построить круговые сечения трехосного эллипсоида (рис. 157).
Решение:
Описываем сферу с центром в точке и радиусом, равным средней полуоси эллипсоида. Тогда имеем двойное прикосновение в точках и и, следовательно, линия пересечения распадается на пару окружностей и . Полученные два круговых сечения проходят через центр эллипсоида и поэтому называются центральными. Они входят в две серии круговых сечений эллипсоида, параллельных между собой.
Не всегда удается непосредственно обнаружить двойное прикосновение у пересекающихся поверхностей второго порядка, тогда для установления распадения линии их пересечения пользуются следующим положением. Если две поверхности второго порядка описаны около третьей поверхности второго порядка (или вписаны в нее), то линия их пересечения распадается на две плоские кривые второго порядка.
Это положение, известное как теорема Монжа, является следствием из положения о двойном прикосновении. Покажем это на следующем примере.
Пример №43
Построить линию пересечения конической и цилиндрической поверхностей, описанных около одной и той же сферы (рис. 158).
Решение:
Линией прикосновения конической поверхности и сферы будет окружность 1–2, а цилиндрической поверхности и сферы – окружность 3–4. Точки и пересечения этих окружностей и будут точками двойного прикосновения конической и цилиндрической поверхностей, так как в этих точках у этих поверхностей будет общая касательная плоскость. Таким образом, имеем двойное прикосновение данных поверхностей и, следовательно, линия их пересечения распадается на пару плоских кривых второго порядка. В рассматриваемом примере линия пересечения распадается на пару эллипсов и , которые на виде спереди изображаются отрезками прямых и . 4. В заключение рассмотрим применение теоремы Монжа при конструировании трубопроводов, выполняемых из листового материала.
Пример №44
Построить переходные конические поверхности, соединяющие данные цилиндрические трубы I, II и III, оси которых находятся в одной фронтальной плоскости (рис. 159).
Решение:
Если вписать в каждую из данных труб сферу, то каждая пара сфер, вписанных в трубы I, II и I, III, определит переходные конические поверхности IV и V, касательные к этим сферам. При построении линий пересечения данных и переходных поверхностей следует учесть теорему Монжа, из которой следует, что искомые линии пересечения будут плоскими кривыми (эллипсами). На виде спереди эти линии будут отрезками прямых и , определяемыми точками пересечения очерковых образующих.
Помимо позиционных задач, рассмотренных в предыдущих главах, в технической практике часто приходится решать задачи, в которых выясняются вопросы измерения отрезков и углов, определения натуральной формы плоских фигур и др. Такие задачи называют метрическими. Некоторые из них уже рассматривались ранее. Так, были рассмотрены вопросы определения натуральной величины отрезка и его углов наклона к плоскостям проекций построения прямой наибольшего уклона плоскости, а стало быть, и измерения углов наклона плоскости к плоскостям проекций.
Однако при решении некоторых метрических задач необходимо предварительно выяснить, как выполняются на комплексном чертеже условия перпендикулярности прямых и плоскостей. Прежде всего установим свойства ортогональной проекции прямого угла.
Если обе стороны какого-нибудь угла параллельны одной и той же плоскости уровня, то такой угол не искажается на соответствующем виде. Прямой угол будет иметь неискаженный вид и тогда, когда только одна из его сторон параллельна плоскости уровня, при этом вторая сторона не должна быть перпендикулярна к последней. Например, пусть сторона прямого угла параллельна горизонтальной плоскости (на рис. 160 плоскость для упрощения изображения проведена через параллельную ей сторону и принята за плоскость проекций ). Тогда вторая сторона прямого угла является линией ската плоскости этого угла, и поэтому на виде сверху ( с м . гл. I, § 7, п. 1).
Имеет место и обратное положение, т. е. если хотя бы одна из сторон угла параллельна плоскости уровня и если соответствующий вид этого угла является прямым углом, то он и сам является прямым углом. Справедливость этого положения следует из того, что если (рис. 160), то прямая является линией ската плоскости ( с м . гл. I, § 7, п. 1) и . Покажем теперь, что если ни одна из сторон прямого угла не параллельна плоскости уровня, то его соответствующий вид не может быть прямым углом.
Так как ни одна из сторон прямого угла не параллельна плоскости уровня, то плоскость этого угла пересечет плоскость уровня по некоторой прямой . В плоскости угла проведем линию ската , (рис. 161), тогда ее проекция будет перпендикулярна (см. гл. I, § 7, п. 1) и, кроме того, . Поэтому если совместить с плоскостью , вращая его вокруг стороны , то совмещение вершины окажется на продолжении отрезка . Тогда . Следовательно, – тупой.
Так как условия перпендикулярности скрещивающихся прямых сводятся к условиям перпендикулярности пересекающихся прямых, проведенных через произвольную точку пространства и соответственно параллельных скрещивающимся прямым, то рассмотренные свойства ортогональной проекции прямого угла распространяются как на пересекающиеся, так и на скрещивающиеся взаимно перпендикулярные прямые.
Обобщая указанные выше свойства, можно сформулировать следующее предложение: для того чтобы две данные взаимно перпендикулярные прямые (пересекающиеся или скрещивающиеся) были перпендикулярны на каком-нибудь виде, необходимо и достаточно, чтобы одна из этих прямых была бы параллельна, а вторая – не перпендикулярна соответствующей плоскости уровня.
Применяя полученный результат к прямым на комплексном чертеже, получим следующую формулировку.
Две взаимно перпендикулярные прямые (пересекающиеся или скрещивающиеся) тогда и только тогда сохраняют свою перпендикулярность на видах: сверху (рис. 162), спереди (рис. 163) или слева (рис. 164), когда, по крайней мере, одна из этих прямых соответственно является горизонталью, фронталью или профильной прямой.
Как известно, прямая, перпендикулярная к плоскости, перпендикулярна ко всякой прямой этой плоскости. Поэтому если некоторая прямая перпендикулярна к какой-либо плоскости , то она перпендикулярна ко всякой горизонтали и ко всякой фронтали этой плоскости, т.е. и (рис. 165). Эта перпендикулярность, как было установлено в п. 2, сохраняется для фронтали на виде спереди, а для горизонтали – на виде сверху.
Иначе говоря, если прямая перпендикулярна плоскости , то на виде спереди , а на виде сверху . Справедливо и обратное предложение: если на виде спереди прямая перпендикулярна какой-либо фронтали данной плоскости , а на виде сверху она перпендикулярна любой горизонтали плоскости , то прямая и плоскость взаимно перпендикулярны.
В самом деле, из условий, что на виде спереди , а на виде сверху , следует, ч то и в пространстве и , а это означает, что прямая перпендикулярна к двум прямым плоскости .
Вобще м случае фронталь и горизонталь какой-либо плоскости являются пересекающимися прямыми, поэтому прямая , будучи перпендикулярна к двум пересекающимся прямым плоскости , будет перпендикулярна и к самой плоскости.
Однако у плоскости, перпендикулярной профильной плоскости, горизонталь и фронталь параллельны между собой. Прямая, перпендикулярная к такой плоскости, будет профильной прямой. В этом случае перпендикулярность прямой и плоскости устанавливается по перпендикулярности их видов слева. Аналогично прямая, перпендикулярная к наклонной или вертикальной плоскости, будет соответственно фронталью или горизонталью, и тогда перпендикулярность прямой и плоскости устанавливается по их перпендикулярности на виде спереди или на виде сверху. Таким образом, прямая и плоскость общего положения взаимно перпендикулярны в том и только в том случае, когда прямая перпендикулярна на каждом виде соответствующим линиям уровня плоскости, т. е. на виде спереди – фронтали, а на виде сверху – горизонтали. Если плоскость перпендикулярна какой-либо плоскости уровня, то прямая, перпендикулярная к ней, будет линией уровня, и тогда их взаимная перпендикулярность сохраняется между вырожденным видом плоскости и соответствующим видом прямой.
Рассмотрим примеры построения прямой, перпендикулярной плоскости, и плоскости, перпендикулярной прямой.
Пример №45
Через точку плоскости провести прямую , перпендикулярную к плоскости (рис. 166).
Решение:
Вначале строим в плоскости произвольные фронталь и горизонталь , а затем через точку проводим искомый перпендикуляр n на виде спереди – к фронтали , а на виде сверх у – к горизонтали .
Если точка, через которую требуется провести перпендикуляр к плоскости , находится вне плоскости, то построение перпендикуляра производится точно так же согласно условиям: на виде спереди и на виде сверху. При этом для определения основания этого перпендикуляра на плоскости нужно построить точку пересечения прямой с плоскостью .
Пример №46
Через точку провести плоскость , перпендикулярную данной прямой (рис. 167).
Решение:
Проводим через точку фронталь и горизонталь , перпендикулярные данной прямой . Для этого из условий перпендикулярности должно быть так, что – на виде спереди и – на виде сверху. Искомая плоскость определяется двумя пересекающимися прямыми: фронталью и горизонталью .
Пример №47
Опустить перпендикуляр из точки на плоскость , перпендикулярную профильной плоскости, и найти его натуральную величину (рис. 168).
Решение:
Так как данная плоскость перпендикулярна профильной плоскости, то на виде слева она имеет вырожденный вид. Поэтому можно использовать сохранение перпендикулярности между вырожденным видом плоскости и соответствующим видом искомого перпендикуляра. Построив на виде слева вырожденный вид плоскости , а также точку , можно опустить перпендикуляр из этой точки на вырожденный вид плоскости. Получим искомый перпендикуляр на виде слева, который определит и его натуральную величину. После этого легко построить перпендикуляр сначала на виде спереди, а потом и на виде сверху.
Взаимная перпендикулярность плоскостей
Как известно, если две плоскости и взаимно перпендикулярны, то каждая из них проходит через перпендикуляр к другой плоскости. Справедливо и обратное предложение, т. е. две плоскости и взаимно перпендикулярны, если одна из них проходит через перпендикуляр к другой. Отсюда следуют два способа построения взаимно перпендикулярных плоскостей и : либо плоскость проводится через прямую , перпендикулярную плоскости , либо перпендикулярно прямой , принадлежащей плоскости .
Таким образом, построение взаимно перпендикулярных плоскостей сводится к построению взаимно перпендикулярных прямой и плоскости (см. п. 3). Через произвольную точку пространства можно провести бесчисленное множество плоскостей, перпендикулярных к данной плоскости. Все эти плоскости будут проходить через перпендикуляр к данной плоскости, проведенный через данную точку. Поэтому для определенности решения необходимо иметь дополнительное условие.
Пример №48
Через прямую провести плоскость , перпендикулярную к данной плоскости (рис. 169).
Решение:
Через произвольную точку 1 прямой проводим прямую , перпендикулярную к плоскости , для чего предварительно в плоскости строим произвольные фронталь и горизонталь , а затем проводим на виде спереди и на виде сверху . Пересекающиеся прямые и определяют искомую плоскость , перпендикулярную к плоскости .
В рассматривался вопрос о перпендикулярности таких прямых, из которых хотя бы одна являлась линией уровня. Теперь выясним этот вопрос в случае, когда обе прямые общего положения.
Так как прямой угол между прямыми общего положения искажается на обоих в и д а х , то перпендикулярность прямых общего положения приходится сводить к перпендикулярности прямой и плоскости. При этом используется известное положение, что две прямые перпендикулярны только в том случае, если через каждую из них можно провести плоскость, перпендикулярную к другой прямой.
Таким образом, построение взаимно перпендикулярных прямых общего положения сводится к построению взаимно перпендикулярных прямой и плоскости.
Пример №49
Из данной точки опустить перпендикуляр на прямую общего положения.
Решение:
Если через точку провести вспомогательную плоскость , перпендикулярную прямой (рис. 170а), затем построить точку пересечения прямой с плоскостью и, наконец, соединить точку с точкой , то прямая будет перпендикулярна к прямой как принадлежащая плоскости , перпендикулярной прямой .
Вспомогательную плоскость определяем фронталью и горизонталью , проведенными через точку перпендикулярно прямой , для чего проводим н а виде спереди и на виде сверху (рис. 170б). Далее при помощи вспомогательной прямой , конкурирующей на вид спереди с прямой , найдем точку пересечения прямой с плоскостью . Соединив точку с точкой , получим искомый перпендикуляр к прямой .
Решение задач позиционного и, главным образом, метрического характера значительно облегчается, когда данные элементы располагаются на прямых или на плоскостях частного положения.
В связи с этим в технической практике при изображении какого-нибудь оригинала на комплексном чертеже предпочитают так располагать оригинал по отношению к стандартным плоскостям проекций, чтобы его наиболее важные элементы находились на прямых или плоскостях частного положения.
Разумеется, что не всегда удается выполнить это условие по отношению ко всем элементам оригинала. Тогда могут возникнуть задачи об измерении отрезков и углов, а также об определении натуральной формы плоских фигур тех элементов оригинала, которые расположены неудачно, т. е. элементов, расположенных на прямых или плоскостях общего положения.
Желание упростить решение указанных задач приводит к необходимости такого преобразования комплексного чертежа, при котором прямые и плоскости общего положения, содержащие интересующие нас элементы оригинала, перешли бы соответственно в прямые и плоскости частного положения. Такое преобразование комплексного чертежа может быть осуществлено двумя основными способами:
Выше было показано построение дополнительных видов либо по направлению проецирования , параллельному фронтальной плоскости (см. рис. 20), либо по направлению, параллельному горизонтальной плоскости (см. рис . 21).
Однако иногда бывает необходимо построить дополнительный вид по направлению общего положения. В этом случае приходится вначале строить дополнительный вид на плоскости проекций 7 по направлению какой-нибудь прямой уровня, например, (рис. 171), перпендикулярной направлению . В этом случае направление будет направлением прямой уровня относительно плоскости проекций 7, и тогда можно будет построить дополнительный вид по этому направлению на плоскости проекций 8. Последовательное построение новых дополнительных видов 7, 8, 9, … позволяет получить такой вид оригинала, на котором будет удобно решать ту или иную задачу. При решении большинства задач приходится строить только один или последовательно только два дополнительных вида.
Как было установлено ранее (см. гл. I, § 5, п. 4), если при построении первого дополнительного вида направление проецирования фронтально (рис. 20), то сохраняются глубины точек относительно фронтальной плоскости , отмеченной на чертеже знаком треугольника. Если же направление проецирования горизонтально (рис. 21), то сохраняются высоты точек относительно горизонтальной плоскости , отмеченной на чертеже также знаком треугольника.
При последовательном построении двух дополнительных видов на плоскостях проекций 7 и 8 необходимо учитывать, что если при построении первого дополнительного вида на плоскости проекций 7 базовой плоскостью измерения расстояния точек является соответствующая плоскость уровня или , то при построении второго дополнительного вида на плоскости проекции 8 базовой плоскостью измерения расстояний точек является плоскость , перпендикулярная одной из плоскостей проекции 1 или 2, т. е. наклонная или вертикальная плоскость.
В самом деле, базовая плоскость должна быть плоскостью уровня относительно плоскости проекций 7, а последняя перпендикулярна либо плоскости проекций 1, либо 2, поэтому и базовая плоскость будет перпендикулярна соответствующей плоскости проекций 1 или 2.
Последовательное построение двух дополнительных видов 7 и 8 точки показано на рис. 172. При этом первый дополнительный вид 7 строится по горизонтальному направлению проецирования, а второй – вид 8 по направлению прямой уровня s относительно плоскости проекций 7.
При построении первого дополнительного вида сохраняется высота точки относительно горизонтальной базовой плоскости, отмеченной на чертеже знаком треугольника. При построении второго дополнительного вида точки сохраняется расстояние относительно вертикальной базовой плоскости, которую в отличие от первой базовой плоскости отмечаем на чертеже зачерненным треугольником. Для простоты изображения базы на виде сверху и первом дополнительном виде совмещены.
Аналогично выполняются все построения на комплексном чертеже и тогда, когда первый дополнительный вид на плоскости проекции 7 строится во фронтальном направлении, указанном первой стрелкой (рис. 173). В этом случае сохраняется глубина точки относительно фронтальной плоскости , отмеченной на чертеже знаком треугольника. Второй дополнительный вид на плоскости проекций 8 строится в направлении прямой уровня относительно плоскости проекций 7, указанном второй стрелкой. При построении точки следует учесть сохранение расстояния точки относительно базовой плоскости, отмеченной на чертеже зачерненным треугольником. Базы на виде спереди и первом дополнительном виде на рис. 173 не совмещались.
Рассмотрим четыре основные задачи, к которым сводится решение различных задач способом дополнительных видов .
Построить дополнительный натуральный вид данной прямой общего положения.
Чтобы получить натуральный вид данной прямой, надо сделать эту прямую прямой уровня, а для этого следует построить дополнительный вид прямой alt="Начертательная геометрия - примеры с решением заданий и выполнением задач" />по направлению какой-нибудь прямой уровня, перпендикулярной прямой alt="Начертательная геометрия - примеры с решением заданий и выполнением задач" />. Выберем горизонтальное направление проецирования, перпендикулярное данной прямой (это направление показано на рис. 174 стрелкой).
При этом проецировании сохраняются высоты точек относительно горизонтальной плоскости, отмеченной на рисунке знаком треугольника. Поэтому при выполнении построений на комплексном чертеже проводим в выбранном направлении, показанном стрелкой, новые линии связи через две произвольные точки 1 и 2 прямой .
Далее проводим базы отсчета высот перпендикулярно к старым и новым линиям связи соответственно. Эти базы на рисунке отмечены знаком треугольника. При этом для удобства отсчета высот базовая плоскость проведена на уровне точки 1, поэтому высота этой точки и, следовательно, на новом виде точка 1 будет находиться на базе. Отложив на новой линии связи точки 2 от базы нового вида высоту этой точки, получим точку 2 на новом виде. Проведя через точки 1 и 2 прямую , получим новый вид этой прямой.
Прямая относительно соответствующей вертикальной плоскости будет прямой уровня.
На новом виде прямая не искажается, а угол , образованный новым видом прямой с базой этого вида, дает натуральный угол наклона прямой к горизонтальной плоскости.
Очевидно, что рассмотренную задачу можно решать и с помощью дополнительного вида, построенного по фронтальному направлению проецирования, перпендикулярному прямой . Соответствующие построения показаны на рис. 175. Новые линии связи здесь проводились в выбранном направлении проецирования, показанном стрелкой, через точки 1 и 2 прямой . На этих линиях связи строились точки 1 и 2 на новом виде так, чтобы их глубины относительно фронтальной базовой плоскости, отмеченной на чертеже знаком треугольника, не изменились. Прямая относительно соответствующей наклонной плоскости будет прямой уровня, и поэтому на новом виде изобразится без искажения, а угол α, образованный ее новым видом, с базой этого вида дает натуральный угол наклона прямой с фронтальной плоскостью.
Построить дополнительный вырожденный вид данной прямой уровня . Если прямая является горизонталью, то, построив ее дополнительный вид по направлению проецирования, совпадающему с направлением прямой, получим на дополнительном виде вырождение прямой в точку. На комплексном чертеже (рис. 176) проводим новые линии связи через две произвольные точки 1 и 2 прямой на виде сверху в выбранном направлении, показанном стрелкой. Эти линии связи в данном случае совпадают на виде сверху с прямой .
Далее для удобства отсчета высот проводим горизонтальную базовую плоскость на уровне данной горизонтали. На рисунке эта плоскость обозначена знаком треугольника. Так как высоты обеих точек 1 и 2 равны нулю, то на дополнительном виде эти точки расположатся на базе дополнительного вида. Таким образом, получаем дополнительный вырожденный вид прямой в виде точки .
Если данная прямая является фронталью, то для получения ее дополнительного вырожденного вида нужно применить фронтальное направление проецирования, при этом сохраняются глубины точек, определяющие прямую, относительно фронтальной базовой плоскости.
Для того чтобы построить дополнительный вырожденный вид прямой общего положения, нужно последовательно решить рассмотренные первую и вторую задачи.
Соответствующие построения на комплексном чертеже показаны на рис. 177. Вначале построен первый дополнительный вид по горизонтальному направлению проецирования , перпендикулярному прямой . Это направление на рисунке показано первой стрелкой. При этом сохраняются высоты точек относительно горизонтальной плоскости, проведенной на уровне точки 1 и отмеченной на чертеже знаком треугольника.
Затем построен второй дополнительный вид по направлению проецирования, совпадающему с данной прямой. При этом сохраняются расстояния точек относительно вертикальной базовой плоскости, отмеченной на чертеже зачерненным треугольником и проведенной для простоты через прямую . В результате получим второй дополнительный вырожденный вид прямой .
Построить дополнительный выр ожденный вид данной плоскости общего положения .
Если провести в данной плоскости какую-нибудь прямую уровня, например, горизонталь (рис. 178), то, построив дополнительный вид по направлению проецирования, параллельному этой горизонтали, получим на дополнительном виде вырождение горизонтали в точку, а плоскости – в прямую.
На комплексном чертеже проводим новые линии связи через точки , и на виде сверху в направлении горизонтали , показанном стрелкой. Далее проводим горизонтальную базовую плоскость на уровне горизонтали и отмечаем ее на рисунке знаком треугольника. На соответствующих новых линиях связи строим точки и на дополнительном виде так, чтобы их высоты относительно базовой плоскости не изменились. При этом, так как точка находится над горизонтальной базовой плоскостью, а точка – под ней и, как говорят, на виде спереди точка расположена в сторону своего вида, а точка – чужого вида (вида сверху), то и на дополнительном виде точки и должны располагаться от базы в сторону своего (дополнительного) вида и чужого вида (вида сверху). На дополнительном виде точки и лежат на одной прямой , которая и будет вырожденным видом плоскости . Угол β, образованный вырожденным видом плоскости с базой отсчета на дополнительном виде, дает натуральный угол наклона плоскости к горизонтальной плоскости.
Аналогично можно определить и угол наклона плоскости к фронтальной плоскости, только тогда нужно построить дополнительный вид по направлению проецирования, параллельному фронтали плоскости .
Построить натуральный вид плоскости перпендикулярно какой-нибудь плоскости уровня.
Пусть плоскость alt="Начертательная геометрия - примеры с решением заданий и выполнением задач" />перпендикулярна горизонтальной плоскости (рис. 179), т. е. будет вертикальной плоскостью. Построим ее дополнительный натуральный вид по направлению горизонтали, перпендикулярной плоскости alt="Начертательная геометрия - примеры с решением заданий и выполнением задач" />.
Чтобы решить эту задачу, на комплексном чертеже проводим новые линии связи через точки и на виде сверху в направлении, показанном на чертеже стрелкой.
Затем принимаем за базовую горизонтальную плоскость, отмеченную на чертеже знаком треугольника и проведенную на уровне самой низкой точки , тогда высота этой точки будет равна нулю. Измерив на виде спереди от базы этого вида высоты данных точек, отложив их от базы дополнительного вида на соответствующих новых линиях связи, получим точки и на дополнительном виде.
На дополнительном виде треугольник , определяющий плоскость , дает натуральный вид этого треугольника.
Если данная плоскость будет наклонной, то для построения ее натурального вида нужно построить ее дополнительный вид по фронтальному направлению проецирования, перпендикулярному плоскости .
Для того чтобы построить натуральный вид плоскости общего положения, нужно последовательно решить рассмотренные третью и четвертую задачи. Соответствующие построения на комплексном чертеже показаны на рис. 180. Вначале построен первый дополнительный вид по направлению проецирования, параллельному горизонтали плоскости Б. Это направление на чертеже показано стрелкой.
При этом сохраняются высоты точек относительно горизонтальной плоскости, проведенной на уровне горизонтали и показанной на рисунке знаком треугольника. Затем построен второй дополнительный вид по направлению проецирования, перпендикулярному плоскости и показанному на рисунке второй стрелкой. При этом сохраняются расстояния точек относительно второй вертикальной базовой плоскости, проведенной через точку и отмеченной на чертеже зачерненным треугольником. Плоскость будет плоскостью уровня относительно второй дополнительной плоскости проекций, поэтому второй дополнительный вид дает натуральный вид плоскости , а значит, треугольник на этом виде будет натуральным видом этого треугольника.
Рассмотрим ряд примеров, решение которых сводится к решению указанных четырех основных задач.
Пример №50
Из точки опустить перпендикуляр на прямую общего положения (рис. 181).
Решение:
Если сделать прямую прямой уровня, построив дополнительный вид по горизонтальному направлению проецирования, перпендикулярному прямой (см. первую основную задачу), то нетрудно провести искомый перпендикуляр, так как перпендикулярность к прямой уровня сохранится на дополнительном виде. Поэтому, опустив на дополнительном виде из точки перпендикуляр на прямую , получим искомый перпендикуляр на этом виде. Теперь легко построить этот перпендикуляр на видах сверху и спереди (сравнить указанное решение с решением, приведенным на рис. 170). Натуральную величину перпендикуляра можно найти способом прямоугольного треугольника.
Пример №51
Построить общий перпендикуляр двух скрещивающихся прямых и .
Решение:
Среди бесчисленного множества прямых, перпендикулярных к двум данным скрещивающимся прямым, имеется только один общий перпендикуляр, пересекающий данные прямые. Отрезок (рис. 182а) между точками пересечения этого перпендикуляра с данными прямыми является кратчайшим расстоянием между скрещивающимися прямыми.
Если спроецировать прямые и на плоскость , перпендикулярную к одной из данных прямых, например, к прямой , то эта прямая спроецируется в точку . Общий перпендикуляр прямых и , будучи перпендикулярен к прямой , будет прямой уровня по отношению к плоскости . Поэтому прямой угол между прямыми и спроецируется на эту плоскость также в прямой угол, т. е. , а сам отрезок спроецируется без искажения, т. е. . Таким образом, для решения этого примера нужно для одной из данных прямых, например, прямой , построить вырожденный вид (см.первую и вторую основные задачи). Прежде всего определяем прямую а двумя точками 1 и 2, а прямую – точками 3 и 4, выбранными для простоты построения так, что на виде спереди 1 = 3, а на виде сверху 2 = 4 (рис. 182б). Теперь построим дополнительный вид по горизонтальному направлению проецирования, перпендикулярному прямой и показанному на рисунке первой стрелкой.
Тогда получим натуральный вид прямой (см. первую основную задачу). Затем построим второй дополнительный вид по направлению прямой , показанному на рисунке второй стрелкой. На этом виде прямая выродится в точку (см. вторую основную задачу). Опустив перпендикуляр на втором дополнительном виде из точки, в которую выродилась прямая , на прямую , получим общий перпендикуляр скрещивающихся прямых и , который определяет натуральную величину кратчайшего расстояния между этими прямыми.
Для построения перпендикуляра на видах сверху и спереди находим сначала на первом дополнительном виде точку на прямой , а затем проводим [KL] перпендикулярно прямой (рис. 182а, б). Теперь уже нетрудно построить искомый перпендикуляр на видах сверху и спереди.
Пример №52
Из точки опустить перпендикуляр на плоскость общего положения.
Решение:
Если спроецировать плоскость на плоскость , перпендикулярную к плоскости , то эта плоскость спроецируется в прямую (рис. 183а).
Перпендикуляр , опущенный из точки на плоскость , будет линией уровня по отношению к плоскости . Поэтому перпендикуляр спроецируется на плоскость без искажения, т. е. , причем .
Таким образом, для решения данного примера нужно построить дополнительный вырожденный вид плоскости (см. третью основную задачу). За направление проецирования выбираем направление какой-либо горизонтали плоскости (рис. 183б). Тогда на дополнительном виде получим вырожденный вид плоскости . Опустив из точки на дополнительном виде перпендикуляр на вырожденный вид плоскости , получим искомый перпендикуляр на этом виде, который определяет натуральную величину перпендикуляра .
На виде сверху проводим . Для построения перпендикуляра на виде спереди определяем его основание из условия сохранения высоты точки при построении дополнительного вида. Для контроля точности построения точки на видах сверху и спереди проверяем принадлежность точки плоскости .
Пример №53
Построить сечение и натуральный вид сечения пирамиды плоскостью общего положения (рис. 184).
Решение:
Искомое сечение можно построить, определяя ве ршины сечения как точки пересечения ребер пирамиды с данной плоскостью общего положения. Но так как кроме сечения требуется построить и его натуральный вид, то целесообразно использовать способ дополнительных видов. Сначала следует построить вырожденный вид плоскости (см. третью основную задачу), а затем дополнительный натуральный вид этой плоскости (см. четвертую основную задачу). Тогда виды сверху и спереди сечения проще построить после получения вырожденного вида плоскости . Решение данного примера сводится к последовательному применению третьей и четвертой основных задач.
Сначала построим по направлению горизонтали плоскости дополнительный вырожденный вид данной плоскости. Одновременно с этим построим дополнительный вид и данной пирамиды. Тогда на дополнительном виде легко построить сечение , отмечая точки пересечения плоскости с ребрами пирамиды. После этого можно построить искомое сечение на видах сверху и спереди. Затем построим второй дополнительный натуральный вид плоскости , на котором получим и натуральный вид искомого сечения.
Как уже указывалось выше, при применении способа вращения направления проецирования оригинала остаются неизменными, а изменяется положение оригинала в пространстве, что достигается вращением его вокруг некоторой оси. В качестве оси вращения обычно выбирают прямую, перпендикулярную какой-нибудь плоскости уровня, или прямую уровня, так как построения, выполняемые на комплексном чертеже при вращении вокруг этих прямых, значительно проще построений при вращении вокруг прямой общего положения. Если же требуется произвести вращение оригинала вокруг оси, являющейся прямой общего положения, то с помощью построения дополнительных видов сводят это вращение к вращению вокруг прямой, перпендикулярной плоскости уровня относительно одной из новых плоскостей проекций. После выполнения вращения на дополнительных видах возвращают полученные результаты на виды спереди и сверху.
При выполнении вращения вокруг какой-либо оси следует помнить, что вращающаяся точка описывает окружность, расположенную в плоскости , перпендикулярной оси вращения (рис. 185). Центр этой окружности является основанием перпендикуляра, опущенного из вращаемой точки на ось вращения , или, иначе, точкой пересечения с осью вращения плоскости , в которой вращается точка. Совершенно очевидно, что все точки оригинала при его вращении вокруг оси поворачиваются на один и тот же угол . Исключение составляют те точки оригинала, которые расположены на оси вращения; эти точки при вращении остаются неподвижными.
Пусть дана какая-нибудь точка , которая вращается вокруг вертикальной прямой . Плоскость , в которой точка описывает окружность, будучи перпендикулярной к вертикальной прямой , будет горизонтальной плоскостью уровня (рис. 186 а). Окружность с центром в точке , которую при вращении описывает точка , изображается на виде сверху без искажения, а на виде спереди – в виде отрезка прямой, перпендикулярной линиям связи. Для упрощения наглядного изображения на рис. 186а плоскость 2 совмещена с горизонтальной плоскостью , а на рис. 187а плоскость 1 совмещена с фронтальной плоскостью .
Для примера выполним поворот точки вокруг прямой на некоторый угол по направлению, противоположному движению часовой стрелки (если смотреть сверху, рис. 186б). Для этого проводим на виде сверху окружность с центром в точке и радиусом . Затем о ткладываем угол , учитывая указанное направление вращения. Получаем новое положение точки на виде сверху. На виде спереди новое положение точки определится на вырожденном виде плоскости , в которой происходит вращение точки .
Если точка вращается вокруг прямой, перпендикулярной фронтальной плоскости, то она опишет окружность во фронтальной плоскости уровня (рис. 187а). Эта окружность изобразится без искажения на виде спереди, а на виде сверху она изобразится в виде отрезка прямой, перпендикулярной линиям связи.
На рис. 187б осуществлен поворот точки вокруг прямой , перпендикулярной фронтальной плоскости на угол по направлению движения часовой стрелки.
Таким образом, при вращении точки вокруг прямой, перпендикулярной фронтальной (горизонтальной) плоскости, точка на виде спереди (сверху) перемещается по окружности, а на виде сверху (спереди) – попрямой, перпендикулярной линиям связи.
Так как прямая линия определяется двумя своими точками, то вращение прямой сводится к вращению точек, определяющих прямую.
Пусть, например, требуется повернуть прямую общего положения вокруг вертикальной прямой на угол по направлению, противоположному движению часовой стрелки (рис. 188).
Выбрав на прямой две произвольные точки 1 и 2, повернем их вокруг оси на один и тот же угол по заданному направлению вращения (на виде сверху хорда должна быть равна хорде между точками, отмеченными крестиками). Новые положения и точек 1 и 2 определят новое положение данной прямой после ее поворота на угол в данном направлении. Рассматривая на виде сверху треугольники и , замечаем, что стороны и первого треугольника соответственно равны сторонам и второго треугольника, углы, заключенные между этими сторонами, также равны. Поэтому и, значит, .
Таким образом , при вращении на один и тот же угол двух точек вокруг вертикальной прямой расстояние между ними на виде сверху остается неизменным.
Очевидно, что при вращении вокруг прямой, перпендикулярной фронтальной плоскости, остается неизменным расстояние между точками на виде спереди.
Эти свойства позволяют несколько упростить построение нового положения прямой после ее поворота. Поворот прямой вокруг вертикальной прямой на угол по направлению, противоположному движению часовой стрелки, выполнен с применением упрощенных построений на рис. 189. Так же, как и раньше, прямая определена двумя точками. При этом точка 1 выбрана произвольно на прямой , а точка 2 является основанием общего перпендикуляра прямых и . Точка 2 повернута вокруг прямой на угол в заданном направлении. После этого через новое положение точки 2 на виде сверху проводим перпендикулярно к отрезку новое положение прямой на этом виде. Так как отрезок при вращении не меняет своей длины, то откладываем на от точки отрезок , чем определяется новое положение точки 1 на виде сверху. По точкам и на виде сверху находим эти точки на виде спереди. Точки и определяют прямую в новом положении .

Так как плоскость определяется тремя своими точками, не лежащими на одной прямой, то вращение плоскости сводится к вращению этих точек. Пусть, например, требуется повернуть плоскость общего положения вокруг прямой , перпендикулярной фронтальной плоскости на угол по направлению движения часовой стрелки (рис. 190).
Повернув точки и , определяющие данную плоскость, на один и тот же угол по заданному направлению вращения (на виде спереди хорда должна быть равна хорде между точками, отмеченными черточками, и хорде между точками, отмеченными крестиками), получим новые положения , и данных точек. Точки , и определяют новое положение плоскости после ее поворота вокруг прямой на угол в заданном направлении. Так как н а виде с п е р е ди треугольник сохраняет свою величину при вращении вокруг прямой , перпендикулярной фронтальной плоскости , то можно сначала повернуть одну из сторон треугольника приемом, указанным на рис. 189, тем самым найдутся новые положения двух вершин треугольника. Тогда новое положение третьей вершины можно найти из условия, что на виде спереди (рис. 190).
Четыре основные задачи можно решить не только методом дополнительных видов, но и методом вращения вокруг прямых, перпендикулярных плоскостям уровня, однако тогда решения получаются более громоздкими. Покажем для сравнения решения только первой и третьей задач.
Пример №54
Повернуть прямую общего положения до положения прямой уровня.
Решение:
Повернем прямую до фронтального положения. Для этого за ось вращения примем вертикальную прямую , проходящую через какую-нибудь точку 1 прямой (рис. 191). При таком выборе оси вращения построение несколько упростится, так как точка 1 будет неподвижной, и поэтому для поворота прямой останется повернуть только одну точку, например, точку 2. Так как на виде сверху прямая в своем новом положении должна быть перпендикулярна к линиям связи, то этим определяется угол, на который должна быть повернута точка 2. Построив новое положение точки 2, м ы т е м с амым определим прямую в ее фронтальном положении . На виде спереди прямая не искажается, а угол , образованный на этом виде между прямой и горизонтальной прямой, дает натуральный угол наклона прямой к горизонтальной плоскости уровня.
Для поворота прямой до горизонтального положения нужно за ось вращения принять прямую, перпендикулярную фронтальной плоскости уровня, проведенную через какую-нибудь точку прямой .
Пример №55
Повернуть плоскость общего положения до положения плоскости, перпендикулярной какой-нибудь плоскости уровня.
Решение:
Повернем плоскость , например, до положения наклонной плоскости. Для этого ее нужно повернуть вокруг вертикальной прямой так, чтобы какая-нибудь горизонталь плоскости стала перпендикулярна фронтальной плоскости уровня (рис. 192).
Так как на виде сверху горизонталь займет положение , параллельное линиям связи, то на виде сверху определяется угол поворота . Если теперь повернуть на этот угол вокруг оси , проходящей через точку , точки и , то новые положения этих точек и совместно с неподвижной точкой определят новое положение плоскости . Это будет наклонная плоскость. На виде спереди точки плоскости в их новых положениях расположатся на одной прямой , которая и будет видом спереди плоскости. Угол между вырожденным видом нового положения плоскости и горизонтальной прямой дает натуральный угол наклона плоскости к горизонтальной плоскости.
Для поворота плоскости до вертикального положения нужно за ось вращения принять прямую, перпендикулярную фронтальной плоскости, проведенную через какую-нибудь точку плоскости . При этом поворот надо осуществить так, чтобы какая-нибудь фронталь плоскости стала вертикальной прямой.
В заключение решим два примера. В первом из этих примеров способ вращения используется для преобразования комплексного чертежа, а во втором – для решения кинематической задачи.
Пример №56
На прямой общего положения от ее точки отложить отрезок данной длины (рис. 193).
Решение:
Выберем на прямой произвольную точку 1 , отличную от данной точки , и повернем прямую до фронтального положения вокруг вертикальной прямой , проходящей через точку . Так как на виде спереди прямая a не искажается, то, отложив на этой прямой отрезок заданной длины и произведя обратный поворот, найдем на прямой искомую точку v. Возможны два решения, так как на прямой а можно отложить отрезок по разные стороны от точки .
Решение данного примера свелось к решению рассмотренной выше первой задачи.
Пример №57
Повернуть данную точку вокруг данной вертикальной прямой i до совмещения ее с плоскостью (рис. 194).
Решение:
При вращении вокруг прямой точка опишет окружность в горизонтальной плоскости . Поэтому при совмещении с плоскостью точка расположится на линии пересечения плоскостей и , т. е. на горизонтали плоскости . Проведя из центра на виде сверху окружность радиусом , получим в пересечении с горизонталью точки и – новые положения на виде сверху точки . На виде спереди эти точки найдутся на вырожденном виде плоскости .
Итак, точки и являются новыми положениями точки , повернутой соответственно на углы и до совмещения с плоскостью . Если на виде сверху горизонталь касалась бы окружности, тогда задача имела бы одно решение, а если бы она проходила вне окружности, то задача не имела бы решения.
Рассмотрим вращение какой-либо точки вокруг горизонтали. Точка , вращаясь вокруг горизонтали , опишет окружность в плоскости , перпендикулярной к оси вращения . Эта плоскость будет вертикальной плоскостью и поэтому будет иметь вырожденный вид сверху, перпендикулярный к горизонтали . Для упрощения чертежа плоскость проекций 2 зафиксирована на уровне горизонтали (рис. 195а).
Таким образом, окружность, которую описывает при своем вращении точка , изобразится на виде сверху отрезком прямой. На виде спереди эта окружность изобразится эллипсом, так как она расположена в плоскости , наклоненной к плоскости 1.
Если ограничить вращение точки и поставить целью нахождение только совмещения с горизонтальной плоскостью , проведенной на уровне горизонтали , то легко построить, определив радиус вращения точки . В самом деле, на виде сверху совмещение точки расположится на виде плоскости на расстоянии, равном радиусу вращения точки , о т центра вращения 0.
Натуральную величину радиуса вращения r можно определить по способу прямоугольного треугольника (см. гл. I, § 3, п. 4). Так, в прямоугольном треугольнике (рис. 195а) радиус вращения является гипотенузой, а катетами этого треугольника соответственно являются вид сверху радиуса вращения и высота точки относительно горизонтальной плоскости .
Выполнение построений на комплексном чертеже показано на рис. 195б. Проводим через точку на виде сверху прямую . В пересечении и находим на виде сверху центр вращения . При помощи прямоугольного треугольника , в котором катетом является вид сверху радиуса вращения точки , а катетом – высота точки относительно плоскости , находим натуральную величину радиуса вращения точки . Откладывая на прямой от точки натуральную величину радиуса вращения , получим на виде сверху искомое совмещение точки .
На рис.195б показано также построение центра вращения , радиуса вращения и совмещения точки на виде спереди. Однако построение указанных элементов на виде спереди не является необходимым, и их не показывают на чертеже.
Вращение точки вокруг фронтали производится аналогичным образом.
Рассмотрим теперь вращение плоскости вокруг прямой уровня до ее совмещения с плоскостью уровня. Целью такого совмещения может являться либо определение натуральной формы и размеров любой фигуры, расположенной в совмещаемой плоскости, либо построение в данной плоскости фигуры наперед заданной формы и размеров. Пусть требуется повернуть плоскость общего положения вокруг какой-нибудь ее горизонтали до совмещения с горизонтальной плоскостью уровня (рис. 196).
Проводим в данной плоскости через ее точку горизонталь . Выбирая эту горизонталь в качестве оси вращения, добиваемся двух преимуществ. Во-первых, точка будет неподвижной при вращении, и поэтому , а во-вторых, совмещение не будет накладываться на вид сверху . Определим на виде сверху совмещение точки с плоскостью уровня , проведенной через горизонталь . Для этого через точку проводим прямую и откладываем на ней от точки О натуральную величину радиуса вращения , которую предварительно определяем с помощью прямоугольного треугольника .
Находим на виде сверху совмещение точки ; при этом можно не определять радиус вращения точки , а использовать неподвижную точку 1 прямой . Совмещение определится в пересечении прямой с вырожденным видом плоскости , в которой происходит вращение точки .
Так как плоскость совмещена с горизонтальной плоскостью уровня , то треугольник дает натуральную форму и размеры треугольника , определяющего плоскость .
Таким образом , при вращении какой-либо плоской фигуры вокруг ее прямой уровня необходимо определить радиус вращения для построения совмещения только одной точки. Совмещение остальных точек можно построить, не определяя их радиусов вращения, а используя неподвижные точки прямых, на которых находятся эти точки.
Способ вращения вокруг прямой уровня имеет ограниченное применение. Но им выгодно пользоваться для определения натуральной формы и размеров любой плоской фигуры. Кроме этого, указанный способ целесообразно применять при определении натуральных величин углов между прямыми, плоскостями, а также между прямой и плоскостью. Покажем это на примерах.
Пример №58
Определить натуральную величину угла между двумя скрещивающимися прямыми и (рис. 197).
Решение:
Через произвольную точку пространства проводим прямые и , соответственно параллельные данным прямым и . Тогда, как известно, угол между прямыми и и будет углом между данными скрещивающимися прямыми.
Для определения натуральной величины угла между пересекающимися прямыми и повернем плоскость угла, например, вокруг фронтали этой плоскости до совмещения ее с фронтальной плоскостью уровня , проходящей через фронталь .
На виде спереди совмещение вершины искомого угла определится на вырожденном виде наклонной плоскости , в которой происходит вращение точки . Определив с помощью прямоугольного треугольника натуральную величину радиуса вращения и отложив ее на вырожденном виде от центра вращения 0, получим на виде спереди искомое совмещение точки . Соединив точку с неподвижными точками 1 и 2, найдем совмещения и прямых и . Угол между прямыми и определит натуральную величину искомого угла между прямыми и или, что то же самое, между прямыми и .
Пример №59
Определить натуральную величину двугранного угла, образованного плоскостями и (рис. 198).
Решение:
Если ребро двугранного угла задано, то можно определить натуральную величину этого угла способом дополнительных видов, построив вырожденный вид ребра (см. § 4, пп. 1–3).
В данном случае, как и во многих других, ребро двугранного угла не задано на чертеже и нет необходимости его находить, т. е. строить прямую пересечения данных плоскостей. В самом деле, проведя из какой-нибудь точки пространства перпендикуляры и к плоскостям и , мы получим в плоскости этих перпендикуляров при точке два плоских угла и , соответственно равные линейным углам двух смежных двугранных углов, образованных плоскостями и . Определив натуральные величины углов между перпендикулярами и путем вращения вокруг прямой уровня (см. первый пример), мы решим поставленную задачу без построения ребра двугранного угла (рис. 198а).
Решение на комплексном чертеже показано на рис. 198б. Вначале в плоскостях и строим горизонтали и и фронтали и . Далее проводим перпендикуляры и к плоскостям и , при этом на виде спереди и , а на виде сверху и . Направления этих перпендикуляров определены в левой части рисунка, а затем они проведены через произвольную точку пространства, проекции которой выбраны в правой части рисунка.
Вращая плоскость угла этих перпендикуляров вокруг горизонтали до совмещения с горизонтальной плоскостью , определим на виде сверх у при совмещении два значения и искомого угла между плоскостями.
Пример №60
Определить натуральную величину угла , образованного прямой с плоскостью (рис. 199).
Решение:
Если из какой-нибудь точки прямой опустить перпендикуляр на плоскость , а затем соединить точки и пересечения прямых и с плоскостью , то угол между прямой и ее проекцией на плоскость будет искомым углом (рис. 199а).
Однако при выполнении указанных построений на комплексном чертеже возникают излишние усложнения, так как приходится находить точки и пересечения прямых и с плоскостью . Их можно избежать, если определить натуральную величину ψ угла между прямой и перпендикуляром . Этот угол является дополнительным к искомому углу до 90°. Поэтому после определения натуральной величины угла путем вращения вокруг прямой уровня (см. первый пример) остается его дополнить до прямого угла, и это дополнение даст натуральную величину искомого угла .
Определение угла на комплексном чертеже показано на рис. 199б. Плоскость задана параллельными прямыми и . В этой плоскости проведены горизонталь и фронталь . Затем через произвольную точку прямой проведен перпендикуляр n к плоскости , при этом на виде спереди , а на виде сверху . Далее вращением вокруг горизонтали плоскости угла прямых и до совмещения с плоскостью определена натуральная величина угла , дополнительного искомому углу . И, наконец, построен угол .
В заключение рассмотрим пример применения способа вращения вокруг прямой уровня для построения в данной плоскости общего положения наперед заданной фигуры.
Пример №61
В плоскости , заданной пересекающимися прямыми и , построить правильный шестиугольник со стороной, равной , и с центром в точке , заданной на виде спереди (рис. 200).
Решение:
Сначала повернем данную плоскость вокруг ее горизонтали до совмещения с горизонтальной плоскостью , проведенной через горизонталь. Для этого строим на виде сверху совмещение точки , определяя радиус вращения точки с помощью прямоугольного треугольника . Соединяя на виде сверху совмещение точки с неподвижными точками 1 и 2, получим совмещения и прямых и .
Точку 0 на виде сверху и совмещение центра окружности находим с помощью прямой плоскости , параллельной прямой и определяемой неподвижной точкой 3.
Далее, при помощи окружности с центром в точке и радиусом строим правильный шестиугольник , который является совмещением искомого шестиугольника. Затем обратными построениями плоскость возвращена в исходное положение и найдены сначала вид сверху, а потом и вид спереди шестиугольника. При этом для отыскания вершин шестиугольника использованы прямые плоскости , параллельные прямой и определяемые неподвижными точками 3, 4 и 5 горизонтали .
Рассмотренные в настоящем параграфе примеры сводятся к построению натурального вида плоской фигуры. Решение этих примеров осуществлялось при помощи способа вращения вокруг прямой уровня или, проще сказать, способа совмещения. Однако при построении натурального вида плоской фигуры применялся способ размерений, при котором производились непосредственные измерения высот и широт точек, определяющих плоскую фигуру. При этом высоты измерялись по прямой наибольшего уклона плоской фигуры, а широты – по соответствующим прямым уровня.
При сравнении способа совмещения со способом размерений можно заметить некоторую общность построений, совершаемых при пользовании этими способами. Но способ размерений не требует каких-либо преобразований, и он удобнее для пользования, так как его выполнение может быть произведено в любом свободном месте чертежа.
Таким образом, из рассмотрения основных способов преобразования чертежа можно сделать некоторые выводы о целесообразности применения того или иного способа при решении конкретной метрической задачи. Очевидно, что при решении пространственных метрических задач целесообразным является применение способа дополнительных видов. При решении плоских метрических задач и задач, сводимых к ним, используется способ вращения вокруг прямой уровня или, что еще удобнее, способ размерений.
Представляя поверхность в виде гибкой, но нерастяжимой пленки, можно говорить о таком преобразовании поверхности, при котором она совмещается с плоскостью без складок и разрывов. Следует указать, что далеко не каждая поверхность допускает такое преобразование. Ниже будет показано, какие типы поверхностей возможно совместить с плоскостью при помощи изгибания, без растяжения и сжатия.
Поверхности, которые допускают такое преобразование, называются развертывающимися, а фигура на плоскости, в которую поверхность преобразуется, называется разверткой поверхности.
Построение разверток поверхностей имеет большое практическое значение при конструировании различных изделий из листового материала. При этом необходимо отметить, что часто приходится изготовлять из листового материала не только развертывающиеся, но и неразвертывающиеся поверхности. В этом случае неразвертывающуюся поверхность разбивают на части, которые можно приближенно заменить развертывающимися поверхностями, а затем строят развертки этих частей. Более подробно это будет показано дальше на отдельных примерах.
Теперь дадим более строгое определение развертывающейся поверхности и ее развертки, которое позволит рассмотреть геометрические свойства этих понятий.
Поверхность называется развертывающейся на плоскость , если между их точками и (рис. 201) можно установить взаимнооднозначное соответствие, при котором сохраняются длины линий, расположенных на поверхности, величины углов между линиями и площади фигур, ограниченных замкнутыми линиями.
Таким образом, если обратиться к рис. 201, то длина дуги будет равна длине дуги , угол равен углу * и площадь равна площади . Указанные свойства вытекают из представления поверхности в виде нерастяжимой пленки, и поэтому при ее изгибании все эти свойства сохраняются.
Если какой-нибудь дуге , расположенной на поверхности, соответствует на развертке отрезок прямой , то дуга будет кратчайшей из всех дуг на поверхности, проведенных между точками и .
* Как известно, углом между двумя кривыми называется угол между их касательными. Геометрическое преобразование, в котором сохраняются углы, называется конформным.
Кратчайшие линии на поверхности называются геодезическими линиями.
Выясним теперь, какие виды поверхностей принадлежат к типу развертывающихся. Очевидно, что к этому типу относятся все многогранные поверхности. Разверткой многогранной поверхности является плоская фигура, полученная последовательным совмещением с одной и той же плоскостью всех ее граней. Поэтому построение развертки многогранной поверхности сводится к определению натурального вида ее отдельных граней.
Из кривых поверхностей к числу развертывающихся относятся только те линейчатые поверхности, у которых касательная плоскость касается поверхности во всех точках ее прямолинейной образующей * . Иначе говоря, у развертывающейся линейчатой поверхности касательная плоскость во всех точках одной и той же образующей постоянна. Если же у линейчатой поверхности в различных точках одной и той же образующей разные касательные плоскости, то она не развертывается и называется косой поверхностью.
Таким образом, к числу развертывающихся линейчатых поверхностей относятся цилиндрические (рис. 202а), конические (рис. 202б) и торсы (рис. 202в). Все остальные кривые поверхности не развертываются на плоскость, и поэтому при необходимости изготовления этих поверхностей из листового материала их приближенно заменяют развертывающимися поверхностями.
* Этот признак развертывающейся линейчатой поверхности устанавливается в курсе дифференциальной геометрии.
Построение разверток указанных поверхностей приводит к многократному построению натурального вида треугольников, из которых состоит данная пирамидальная или многогранная поверхность, вписанная (или описанная) в данную коническую или линейчатую поверхность, которой заменяется эта поверхность. Так как этот способ приводит к разбивке поверхности на треугольники, то он называется способом треугольников (триангуляция).
Покажем применение этого способа для пирамидальных поверхностей. Если пренебречь графическими ошибками, то построенные развертки таких поверхностей можно считать точными.
Пример №62
Построить полную развертку поверхности части треугольной пирамиды , заключенной между плоскостью основания и секущей наклонной плоскостью (рис. 203).
Решение:
Вначале следует построить развертку боковой поверхности всей пирамиды . Так как боковые грани пирамиды являются треугольниками, то для построения ее развертки нужно построить натуральные виды этих треугольников. Для этого предварительно должны быть определены натуральные величины боковых ребер.
Боковые ребра можно определить при помощи прямоугольных треугольников, в каждом из которых одним катетом является превышение точки над точками и , а вторым – отрезок, равный виду сверху соответствующего бокового ребра. Так как стороны нижнего основания являются горизонталями, то их натуральные величины можно измерить на виде сверху.
После этого каждая боковая грань строится как треугольник по трем сторонам. Развертка боковой поверхности пирамиды получается в виде ряда примыкающих один к другому треугольников с общей вершиной .
Для нанесения на развертку точек и , соответствующих вершинам и сечения пирамиды плоскостью , нужно предварительно определить их натуральные расстояния от вершины , для чего следует перенести точки и на соответствующие натуральные величины боковых ребер. После построения развертки боковой поверхности усеченной части пирамиды следует пристроить к ней треугольники и , являющиеся натуральными видами оснований усеченной пирамиды.
Теперь рассмотрим построение разверток конических поверхностей. Несмотря на то что конические поверхности являются развертывающимися и, следовательно, имеют теоретически точные развертки, практически строят их приближенные развертки, пользуясь способом треугольников. Для этого заменяют коническую поверхность вписанной в нее поверхностью пирамиды.
Пример №63
Построить развертку боковой поверхности эллиптического конуса с круговым основанием (рис. 204).
Решение:
В данном примере коническая поверхность заменяется поверхностью вписанной двенадцатиугольной пирамиды. Так как коническая поверхность имеет плоскость симметрии , то можно построить развертку только одной половины поверхности. Разделив от точки половину окружности основания конической поверхности на шесть равных частей и определив с помощью прямоугольных треугольников натуральные величины образующих, проведенных в точки деления, строим шесть примыкающих один к другому треугольников с общей вершиной . Каждый из этих треугольников строится по трем сторонам; при этом две стороны равны натуральным величинам образующих, а третья – хорде, стягивающей дугу окружности основания между соседними точками деления. После этого через точки , разогнутого по способу хорд основания конической поверхности проводится плавная кривая.
Если на развертке надо нанести какую-либо точку , находящуюся на поверхности конуса, то следует предварительно построить точку на гипотенузе прямоугольного треугольника, с помощью которого определена натуральная величина образующей , проходящей через точку . После этого следует провести на развертке прямую , определив точку из условия равенства хорд , и на ней отложить расстояние .
Пример №64
На поверхности данного конуса вращения провести геодезическую линию между ее точками и (рис. 205).
Решение:
Чтобы провести искомую геодезическую линию, необходимо предварительно построить развертку боковой поверхности конуса. Этой разверткой является круговой сектор, радиус которого равен натуральной величине образующей конуса, а длина дуги равна длине окружности основания конуса. Практически дугу сектора определяют при помощи ее хорд, которые принимают равными хордам, стягивающим дуги основания конуса. Иначе говоря, поверхность конуса заменяется поверхностью вписанной пирамиды.
Так как точки и расположены на передней половине поверхности конуса, то на рис. 205 построена развертка только этой половины поверхности. При помощи образующих и , на которых лежат точки и , найдены соответствующие им точки и на развертке; при этом предварительно на очерковой образующей , являющейся натуральной величиной образующих конуса, определены натуральные величины и расстояний точек и от вершины конуса.
Если теперь соединить на развертке точки и отрезком прямой, а затем отметить на нем точки и пересечения с прямыми и , соответствующими образующим и , то можно построить искомую геодезическую линию при помощи точек и . Для этого предварительно нужно построить на очерковой образующей конуса вспомогательные точки и , расстояния которых от вершины конуса равны расстояниям точек и от точки , а затем перенести эти вспомогательные точки на соответствующие образующие конуса. При построении на виде сверху точки , расположенной на профильной образующей , сначала найдена точка на очерковой образующей конуса , которая затем повернута до совмещения с профильной образующей .
В заключение этого параграфа рассмотрим построение приближенных разверток неразвертывающихся линейчатых поверхностей при помощи замены их вписанными многогранными поверхностями, состоящими из треугольников. Покажем это на следующем примере.
Пример №65
Построить развертку поверхности цилиндроида, у которого направляющими являются две одинаковые окружности, причем одна из них расположена в горизонтальной плоскости, а другая – в профильной, и плоскостью параллелизма является фронтальная плоскость (рис. 206).
Решение:
Так как поверхность данного цилиндроида имеет плоскость симметрии, то можно ограничиться построением развертки только одной половины поверхности.
Заменим данную поверхность вписанной в нее многогранной поверхностью, состоящей из треугольников. Для этого проводим образующие О–7, 1–8, 2–9 и т. д., учитывая, что в данном примере они являются фронталями. Концы образующих на горизонтальной окружности можно найти непосредственно делением половины этой окружности на шесть равных частей, а концы на профильной окружности можно найти с помощью построения натурального вида этой окружности на виде слева. Далее каждый элемент поверхности, ограниченный смежными образующими, разделим на два треугольника. Так, элемент, ограниченный образующими О–7 и 1–8, разделим на треугольники О–7–8 и О–1–8 и т. д. Построив натуральные виды этих треугольников так же, как это было сделано в примере 1 (см. рис. 204), и проведя через их вершины плавные кривые, получим приближенную развертку поверхности цилиндроида.
Чтобы нанести на развертке какую-нибудь точку , находящуюся на поверхности цилиндроида, необходимо провести на развертке прямую , соответствующую образующей 14–15, на которой находится точка , и на ней отложить расстояние , равное расстоянию, измеренному на виде спереди.
Построение разверток указанных поверхностей приводит к многократному построению натурального вида трапеций, из которых состоит данная призматическая поверхность или призматическая поверхность, вписанная (или описанная) в данную цилиндрическую поверхность и заменяющая ее. Если, в частности, призматическая или цилиндрическая поверхность ограничены параллельными основаниями, то трапеции, на которые разбивается поверхность, обращаются в прямоугольники или параллелограммы, в зависимости от того, перпендикулярны или нет плоскости оснований боковым ребрам или образующим поверхности.
Построение трапеций или параллелограммов проще всего произвести по их основаниям и высотам, причем необходимо также знать отрезки оснований, на которые они делятся высотой. Поэтому для построения развертки призматической или цилиндрической поверхности необходимо предварительно определить натуральный вид нормальной линии данной поверхности, перпендикулярной во всех своих точках образующим поверхности. Стороны этой линии в случае призматической поверхности и будут высотами трапеций или параллелограммов, из которых состоит поверхность. В случае цилиндрической поверхности высотами будут хорды, стягивающие дуги нормальной линии, на которые она и разделена.
Так как указанный способ требует построения нормальной линии, то он называется способом нормальной линии.
Покажем применение этого способа для призматических поверхностей. Если пренебречь графическими ошибками, то построенные развертки этих поверхностей можно считать точными.
Пример №66
Построить полную развертку поверхности треугольной призмы (рис. 207).
Решение:
Пусть данная призма расположена так, что ее боковые ребра являются фронталями. Тогда они не искажаются на виде спереди, и наклонная плоскость , перпендикулярная к боковым ребрам, определит нормальную линию призмы. Построив по направлению боковых ребер призмы дополнительный вид нормальной линии , найдем натуральные величины и высот параллелограммов, из которых состоит боковая поверхность призмы.
Так как боковые ребра призмы параллельны между собой, а стороны нормальной линии им перпендикулярны, то из свойства сохранения углов на развертке следует, что на развертке призмы боковые ребра будут также параллельны между собой, а стороны нормальной линии развернутся в одну прямую. Поэтому для построения развертки призмы нужно отложить на произвольной прямой натуральные величины сторон нормальной линии, а затем через их концы провести прямые, перпендикулярные к этой прямой. Если теперь отложить на этих перпендикулярах по обе стороны от прямой отрезки боковых ребер, измеренные на виде спереди, и соединить отрезками прямых концы отложенных отрезков, то получим развертку боковой поверхности призмы. Присоединяя к этой развертке оба основания призмы, получим ее полную развертку.
Для построения на развертке точки , принадлежащей поверхности призмы, необходимо на прямой отложить отрезок , измеренный на дополнительном виде, и через точку провести прямую, параллельную боковым ребрам, на которой отложить на прямой отрезок .
Если боковые ребра данной призмы имели бы произвольное расположение относительно плоскостей уровня, то нужно было бы предварительно преобразовать их в прямые уровня.
Теперь рассмотрим построение разверток цилиндрических поверхностей. Хотя цилиндрические поверхности являются развертывающимися, практически строят приближенные развертки, заменяя их вписанными призматическими поверхностями.
Пример №67
Построить развертку боковой поверхности эллиптического цилиндра (рис. 208).
Решение:
Для построения искомой развертки заменяем данную поверхность вписанной в нее призматической поверхностью. Так как цилиндрическая поверхность имеет фронтальную плоскость симметрии, то можно построить развертку только одной половины поверхности. Для этого проводим на поверхности цилиндра нормальную линию перпендикулярно образующим и на дополнительном виде строим натуральный вид половины нормальной линии данной поверхности. Дугу полуэллипса, который при этом будет получен, делим на шесть частей так, чтобы хорды, стягивающие эти части, возможно меньше отличались от дуг полуэллипса. Далее проводим на поверхности цилиндра образующие, соответствующие точкам деления нормальной линии. Тогда поверхность половины цилиндра разобьется на шесть трапеций, так как плоскости оснований цилиндра не параллельны между собой. Основаниями этих трапеций будут натуральные величины образующих – они могут быть измерены на виде спереди, – а высотами будут соответствующие хорды, стягивающие дуги нормальной линии; они измеряются на дополнительном виде. После этого построение развертки выполняется так же, как и в предыдущем примере, только вершины построенных на развертке трапеций следует соединить не отрезками прямых, а плавными кривыми.
Построение на развертке точки , принадлежащей данной поверхности, также показано на рис. 208. Для этого на развертке проведена соответствующая образующая и на ней отложен от нормальной линии развертки отрезок , причем последний отрезок измерен на виде спереди.
Пример №68
Построить развертку цилиндрической трубы кругового сечения, состоящей из трех элементов I, II и III, расположенных фронтально (рис. 209).
Решение:
Для построения более рациональной развертки всех элементов данной трубы предварительно отнимем элементы I и III от элемента II и повернем их вокруг своих осей на 180°. Если теперь приставить обратно элементы I и III к элементу II так, чтобы совпали эллипсы, по которым пересекаются данные элементы (новые положения этих элементов показаны штрихпунктирными линиями), то все три элемента составят один цилиндр, на поверхности которого проведены два эллипса.
Справедливость этого утверждения следует из рассмотрения углов , и . Получается, что , но , так как равны между собой диаметры элементов трубы, поэтому .
Построив развертку спрямленной трубы в виде прямоугольника и нанеся на ней развертки эллипсов, получим наиболее экономную разметку разверток всех элементов трубы.
Аналогично строится развертка цилиндрической трубы, имеющей не плоскую, а пространственную ось.
Построение разверток развертывающихся поверхностей вращения, а именно, конуса и цилиндра вращения, было уже рассмотрено выше (рис. 205 и 209), поэтому нам остается теперь рассмотреть только построение разверток неразвертывающихся поверхностей вращения.
Способ построения этих разверток состоит в том, что данную поверхность вращения разбивают с помощью меридианов на сравнительно узкие, равные между собой доли. Каждую такую долю заменяют описанной цилиндрической поверхностью, которая касается данной поверхности в точках среднего меридиана доли. Этот средний меридиан будет вместе с тем нормальной линией цилиндрической поверхности. Границами цилиндрической поверхности будут плоскости меридианов, ограничивающие рассматриваемую долю.
Покажем применение указанного способа при построении разверток сферы и поверхности кольца.
Пример №69
Построить развертку данной сферы (рис. 210).
Решение:
Разобьем сферу при помощи меридианов на шесть равных частей (обычно ее разбивают на двенадцать частей и более).
Рассмотрим построение приближенной развертки одной части сферы, средним меридианом которой является главный меридиан . Прежде всего, заменим эту часть сферы цилиндрической поверхностью, описанной около нее. Образующие этой поверхности будут перпендикулярны фронтальной плоскости и поэтому не искажаются на виде сверху. Нормальной линией цилиндрической поверхности будет половина главного меридиана , а ее границами – плоскости меридианов, ограничивающие рассматриваемую часть.
Для построения развертки этой цилиндрической поверхности заменяем ее вписанной призматической поверхностью. Для этого делим половину главного меридиана на шесть равных частей и через точки деления проводим образующие цилиндрической поверхности. Затем спрямляем полумеридиан в отрезок прямой и через его точки деления проводим перпендикулярно к нему образующие и т. д. Соединив концы этих образующих плавными кривыми, получим приближенную развертку одной доли данной сферы, равной 1/6 ее части. Развертки остальных долей являются повторением первой.
Напоминаем, что обычно сферу разбивают на двенадцать и более частей для получения более точной ее развертки.
Чтобы нанести на развертке точку , принадлежащую сфере, нужно предварительно повернуть ее до совмещения с главным меридианом , затем измерить на виде спереди расстояние от повернутого положения точки до ближайшего деления меридиана и измерить на виде сверху расстояние от точки до среднего меридиана доли, на которой находится точка М. При помощи этих двух расстояний строим на развертке нужной доли точку , соответствующую данной точке .
Для построения какой-нибудь линии на развертке сферы наносят точки этой линии, расположенные на среднем и крайних меридианах каждой доли, в которых проходит указанная линия.
Нанесение на развертке сферы точек и , соответствующих точкам и , расположенным на крайнем и среднем меридианах второй доли сферы, показано на рис. 210.
Пример №70
Построить развертку поверхности кольца (рис. 211).
Решение:
Разобьем поверхность кольца при помощи меридианов на двенадцать равных частей и построим приближенную развертку одной части. Заменяем поверхность этой части, описанной цилиндрической поверхностью, нормальной линией, которой будет средний меридиан рассматриваемой части кольца. Если теперь спрямить этот меридиан в отрезок прямой и через точки деления провести перпендикулярно к нему образующие цилиндрической поверхности, то, соединив их концы плавными кривыми, получим приближенную развертку 1/12 части поверхности кольца. Нанесение на развертке поверхности кольца каких-нибудь ее точек производится точно так же, как и в случае нанесения точек на развертке сферы.
В заключение покажем построение развертки поверхности одной технической детали, изготовляемой из листового материала.
Поверхность, с помощью которой осуществляется переход с квадратного сечения на круглое, изображена на рис. 212. Эта поверхность состоит из двух конических поверхностей I, двух конических поверхностей II, двух плоских треугольников III и плоских треугольников IV и V.
Для построения развертки данной поверхности нужно предварительно определить натуральные величины тех образующих конических поверхностей I и II, с помощью которых эти поверхности заменяются совокупностью треугольников.
На вспомогательном чертеже по способу прямоугольного треугольника построены натуральные величины этих образующих. После этого строят развертки конических поверхностей, а между ними в определенной последовательности строят треугольники III, IV и V, натуральный вид которых определяется по натуральной величине их сторон.
Построение развертки одной половины данной поверхности показано на рис. 212, при этом поверхность разрезана по высоте треугольника V.
Во многих случаях при выполнении технических чертежей оказывается необходимым иметь наряду с комплексным чертежом данного оригинала более наглядное его изображение, обладающее свойством обратимости. С этой целью применяют чертеж, состоящий только из одной параллельной проекции данного оригинала, дополненной проекцией пространственной системы координат, к которой предварительно отнесен изображаемый оригинал. Такой метод получения однопроекционного обратимого чертежа называется аксонометрическим методом.
Таким образом, построение аксонометрических проекций сводится к применению координатного метода на проекционном чертеже. Так как при пользовании координатным методом приходится производить измерения по координатным осям, то отсюда и получил свое название рассматриваемый метод. Слово «аксонометрия» означает буквально «осеизмерение».
Выберем какую-нибудь плоскость проекций и спроецируем на нее по направлению s данную точку вместе с пространственной системой координат , к которой предварительно отнесена точка (рис. 213). Как известно, для отнесения точки к системе координат, называемой натуральной системой координат, необходимо построить координатную ломаную точки . Тогда, измеряя отрезки этой ломаной единицей длины е, называемой натуральным масштабом, получим натуральные координаты точки .
В результате проецирования на плоскости получим проекцию данной точки, проекцию координатной ломаной и проекцию натуральной системы координат, на осях которой расположатся проекции и натурального масштаба. Проекция называется аксонометрической проекцией точки ; проекция – аксонометрической координатной ломаной, а ее отрезки и , соответственно параллельные осям и , – аксонометрическими отрезками координат, при этом проекция точки – вторичная проекция точки . Проекция – аксонометрическая система координат, она состоит из аксонометрических осей и , пересекающихся в данной точке , называемой аксонометрическим началом координат.
Проекции и натурального масштаба называются аксонометрическими масштабами. В общем случае они различны, т. е. для каждой оси получается свой аксонометрический масштаб. Для определения точки на аксонометрическом чертеже недостаточно иметь только ее аксонометрическую проекцию , нужно также иметь ее вторичную проекцию , причем прямая должна быть параллельна аксонометрической оси (рис. 214). В самом деле, имея точки и , можно будет провести через точку прямую, параллельную оси , в пересечении которой с осью получим точку , и проекция координатной ломаной будет определена.
Если измерить аксонометрические координатные отрезки натуральным масштабом , то получим аксонометрические координаты точки :
которые, в общем случае, отличаются от натуральных координат. Если же измерить аксонометрические координатные отрезки соответствующими аксонометрическими масштабами, то получим натуральные координаты точки :
так как при параллельном проецировании натуральные координатные отрезки и натуральные масштабы по осям искажаются одинаково по каждой оси.
Отношения аксонометрических координат к натуральным (при одной и той же натуральной единице ) называются показателями искажения по осям. Обозначая через показатель искажения по оси , через – показатель искажения по оси и через – показатель искажения по оси , получим:
Обычно в практических вопросах аксонометрические координатные отрезки измеряют натуральным масштабом . Поэтому построение аксонометрического чертежа производится не по аксонометрическим масштабам, а по заданным показателям искажения и . Так, для построения аксонометрического чертежа точки относим ее к натуральной системе координат и определяем ее натуральные координаты. Имея показатели искажения по осям, можно по натуральным координатам точки найти при помощи соотношений (1) ее аксонометрические координаты:
Построив на чертеже аксонометрические оси координат и аксонометрическую координатную ломаную, длины координатных отрезков которой выражаются аксонометрическими координатами и , получим аксонометрический чертеж точки . Для реконструкции точки измеряем аксонометрические координатные отрезки натуральным масштабом , определяя тем самым аксонометрические координаты. При помощи соотношений (1) находим натуральные координаты:
по которым при помощи натурального масштаба определяется положение точки по отношению к выбранной системе координат.
В зависимости от сравнительной величины показателей искажения по осям различают три вида аксонометрических проекций:
В зависимости от направления проецирования по отношению к плоскости проекций аксонометрические проекции разделяются на ортогональные, когда направление проецирования перпендикулярно к плоскости проекций, и косоугольные, когда направление проецирования не перпендикулярно к плоскости проекций.
Различным положениям натуральной системы координат по отношению к плоскости проекций и различным направлениям проецирования будут соответствовать различные положения аксонометрических осей (исключая случай их совпадения) и различные длины аксонометрических масштабов. Отсюда возникает естественный вопрос о том, с какой степенью произвола могут быть заданы на чертеже аксонометрические оси и аксонометрические масштабы.
Этот вопрос полностью решается основным предложением аксонометрии (теорема Польке), на основании которого система аксонометрических осей, а также аксонометрических масштабов на них может быть задана совершенно произвольным образом * . Иначе говоря, всегда найдется такое положение прямоугольной системы натуральных координат в пространстве и такой размер натурального масштаба по осям, а также такое направление проецирования, что любая аксонометрическая система (например, такого вида, как изображенная на рис. 215) окажется параллельной проекцией натуральной системы.
Необходимо еще отметить, что если аксонометрические масштабы можно задавать совершенно произвольно, то делать этого по отношению к показателям искажения нельзя, так как угол , образованный направлением проецирования с плоскостью проекций, и показатели искажения связаны соотношением
Таким образом, при заданном направлении проецирования показатели искажения не являются независимыми, будучи связанными соотношением (2). В случае ортогональной аксонометрии, когда угол и, следовательно, , соотношение (2) принимает вид
Построить аксонометрическую проекцию отрезка , заданного своим комплексным чертежом.
Отрезок отнесем к натуральной системе координат, для этого на комплексном чертеже отрезка зададим координатные оси (рис. 216а). Измеряя натуральным масштабом координатные отрезки и на оси , отрезки и на видах спереди и сверху, получим натуральные координаты точек и . Теперь строим аксонометрическую систему координат. Для этого на основании теоремы Польке проводим три произвольные прямые и , пересекающиеся в одной и той же точке (рис. 216б). Далее выбираем показатели искажения по осям. Пусть и . Необходимо отметить, что произвольно можно задавать только отношения показателей искажения , если же заданы сами показатели искажения, то это означает, что аксонометрический чертеж будет подобно преобразован. При таком преобразовании чертежа его наглядность нисколько не пострадает, так как вид изображения не изменится, а изменятся только его размеры.
Зная натуральные координаты точек, легко определить при помощи соотношений (1) значения их аксонометрических координат:
Построив две аксонометрические координатные ломаные и , у которых координатные отрезки соответственно равны вычисленным значениям, получим аксонометрический чертеж отрезка (см. рис. 216б). Несмотря на то что полученный аксонометрический чертеж выполнен только с точностью до подобия, его легко реконструировать, даже не зная коэффициента подобия. В самом деле, имея показатели искажения по осям и измерив натуральным масштабом аксонометрические координатные отрезки точек и , можно при помощи соотношений (1) определить натуральные координаты искомых точек и тем самым реконструировать отрезок относительно натуральной системы координат.
Наибольшее распространение в практике получили ортогональные аксонометрические проекции. Это объясняется тем, что обычно мы рассматриваем предметы, расположенные прямо перед глазами, поэтому ортогональная аксонометрия в большей степени, нежели косоугольная, удовлетворяет условию наглядности изображения. Кроме того, распространенность ортогональных проекций объясняется также теми упрощениями, которые в ней достигаются. Для сравнения рассмотрим ортогональную и косоугольную проекции шара. В первом случае в пересечении цилиндрической проецирующей поверхности, обертывающей шар, с плоскостью проекций, получается окружность, а во втором случае – эллипс.
Поэтому ортогональная проекция шара является кругом, а косоугольная – эллипсом. Разумеется, что ортогональная проекция шара является и более наглядной, и в то же время более простой.
В ортогональной аксонометрии все три координатные оси пересекают плоскость проекций. В самом деле, если одна из координатных осей параллельна плоскости проекций, то две другие оси будут расположены в плоскости, перпендикулярной плоскости проекций, и поэтому их проекции сольются. Если же две координатные оси будут параллельны плоскости проекций, то третья ось будет ей перпендикулярна, и тогда проекция этой оси выродится в точку. И в том, и в другом случае аксонометрическая проекция лишается наглядности и исключается из рассмотрения. Обозначим точки пересечения координатных осей и с плоскостью проекций соответственно через и (рис. 217). Треугольник , по которому плоскость пересекает координатные плоскости натуральной системы координат, будем называть треугольником следов, так как стороны этого треугольника являются следами координатных плоскостей на плоскости .
Рассмотрим некоторые свойства ортогональной аксонометрии:
1. Аксонометрические оси в ортогональной аксонометрии являются высотами треугольника следов. В самом деле, если натуральная система координат ортогонально спроецирована на плоскость , т. е. (рис. 217), то нетрудно показать, что, например, аксонометрическая ось является одной из высот треугольника следов .
Так как натуральная ось перпендикулярна к координатной плоскости , то ось перпендикулярна ко всякой прямой этой плоскости, в частности, . Но ось z по отношению к плоскости является наклонной, а ее проекцией на эту плоскость является аксонометрическая ось , поэтому на основании обратной теоремы «о трех перпендикулярах» проекция наклонной также будет перпендикулярна прямой , т. е. . Последнее утверждение означает, что аксонометрическая ось является высотой треугольника .
Совершенно аналогично можно показать, что и две другие аксонометрические оси и также являются высотами треугольника следов . Таким образом, аксонометрическое начало координат является ортоцентром (точкой пересечения высот) треугольника следов.
2. Треугольник следов всегда остроугольный. Действительно, прямая , перпендикулярная к оси (см. рис. 217), будет на основании теоремы «о трех перпендикулярах» перпендикулярна и к прямой . Поэтому точка является основанием перпендикуляра, опущенного из вершины прямого угла треугольника на его гипотенузу Отсюда следует, что точка лежит внутри отрезка , и, значит, высота треугольника следов находится внутри этого треугольника. Точно так же можно показать, что и остальные высоты треугольника лежат внутри него. Итак, все три высоты треугольника следов лежат внутри последнего. Значит, ортоцентр треугольника лежит внутри него, а этим свойством, как известно, обладает только остроугольный треугольник.
3. Три полупрямые плоскости, выходящие из одной точки, только в том случае могут являться аксонометрическими осями ортогональной аксонометрии, если они образуют между собой тупые углы. Необходимость этого условия следует из того, что если тройка полупрямых и является системой аксонометрических осей (рис. 218), то согласно вышесказанному эти полупрямые являются высотами остроугольного треугольника следов. Но, как известно, отрезки высот остроугольного треугольника, соединяющие ортоцентр с вершинами, образуют попарно тупые углы * .
4. Показатели искажения в ортогональной аксонометрии равны косинусам углов наклона натуральных осей к плоскости проекций. В самом деле, в случае ортогональной аксонометрии (см. рис. 217), и, следовательно, отрезок является ортогональной проекцией отрезка . Поэтому , где через обозначен угол наклона оси к плоскости проекций . Аналогично выразятся и показатели искажения и , поэтому
(4)
Таким образом, в ортогональной аксонометрии все три показателя искажения ограничены крайними значениями 0 и 1.
Рассмотренные свойства ортогональной аксонометрии показывают, что если в косоугольной аксонометрии, согласно теореме Польке, систему аксонометрических осей и аксонометрические масштабы на них можно задавать совершенно произвольным образом, то в ортогональной аксонометрии этого делать нельзя, так как система аксонометрических осей должна удовлетворять свойству 3, а показатели искажений – свойству 4 и, кроме того, соотношению (4).
В заключение рассмотрим построение ортогональной аксонометрии окружности, расположенной в какой-нибудь из координатных плоскостей. Для этого необходимо использовать некоторые свойства ортогональной проекции окружности, установленные ранее.
Там было выяснено, что у эллипса, являющегося ортогональной проекцией окружности, расположенной в какой-либо плоскости , большая ось равна диаметру окружности и параллельна прямой уровня плоскости , а малая ось равна , где – угол наклона плоскости к плоскости проекций, и параллельна проекции перпендикуляра к плоскости . Эти свойства позволяют указать способ построения ортогональной аксонометрии окружностей, расположенных в координатных плоскостях.
В самом деле, если окружность расположена в одной из координатных плоскостей, то перпендикуляром к ее плоскости будет отсутствующая в этой плоскости натуральная координатная ось. Поэтому малая ось эллипса, изображающего окружность, лежащую в одной из координатных плоскостей, параллельна аксонометрической проекции натуральной оси, отсутствующей в этой плоскости, а большая ось ей перпендикулярна. Так как величины осей эллипса определяются соотношениями:
то показатель искажения по направлению большой оси эллипса равен единице, а по направлению малой оси – косинусу угла наклона плоскости , в которой лежит окружность, к плоскости . Угол наклона координатной плоскости к плоскости является дополнительным углом угла (см. рис. 217), так как у треугольника угол при вершине – прямой. Отсюда следует, что или . Точно так же можно определить показатели искажения малых осей для двух других координатных плоскостей. В результате получим, что показатели искажений малых осей эллипсов, изображающих окружности, лежащие в координатных плоскостях и , соответственно равны:
Все выводы о направлениях и размерах осей эллипсов, изображающих окружности, расположенные в координатных плоскостях, также справедливы и для эллипсов, изображающих окружности, лежащие в плоскостях, параллельных координатным плоскостям * .
Государственный стандарт ЕСКД (ГОСТ 2.317-69) предусматривает три частных вида аксонометрических проекций: 1) ортогональную изометрию, 2) ортогональную диметрию и 3) фронтальную диметрию (косоугольную), которые ниже и будут рассмотрены.
В изометрии показатели искажения по всем трем осям одинаковы, т. е. . Отсюда на основании соотношений (4) следует, что и , так как углы острые. Это означает, что в ортогональной изометрии натуральные координатные оси одинаково наклонены к плоскости проекций. Из конгруэнтности углов и вытекает конгруэнтность отрезков аксонометрических осей, т. е. (см. рис. 217). Но тогда треугольник следов будет равносторонним. Как известно, высоты равностороннего треугольника попарно пересекаются между собой под углами в 120°. Поэтому совпадающие с ними аксонометрические оси в ортогональной изометрии образуют между собой углы по 120° (рис. 219). Так как в ортогональной аксонометрии имеет место соотношение (3), то для ортогональной изометрии получим или .
На практике пользуются приведенной ортогональной изометрией, в которой показатели искажения приводятся к единице, т. е. . При этом коэффициент приведения . Это означает, что приведенная ортогональная изометрия дает подобное увеличение изображения приблизительно в 1,22 раза, т. е. масштаб такого изображения будет .
Построение эллипсов, изображающих окружности, расположенные в координатных плоскостях или в плоскостях, им параллельных, производится следующим образом.
Малые оси этих эллипсов параллельны соответствующим аксонометрическим осям, а большие оси – им перпендикулярны (рис. 220). Величины этих осей в приведенной изометрии легко определить по соотношениям (5) и (6) с учетом коэффициента приведения . На основании первого из соотношений (5) получим, что большая ось каждого из трех эллипсов, изображающих окружности диаметра d, расположенные в координатных плоскостях или в плоскостях, им параллельных, равна ; малая ось каждого из этих эллипсов – на основании второго из соотношений (5) и любого из соотношений (6), так как для изометрии будет равна
Три эллипса, изображающие окружности, расположенные в плоскостях, параллельных координатным плоскостям, показаны на рис. 220. На выносках указаны показатели искажения соответствующих диаметров изображаемых окружностей.
В то время как ортогональная изометрия существует только одна, ортогональных диметрий можно построить бесчисленное множество. Наиболее простую и распространенную диметрию получают, если и . Отсюда на основании соотношений (4) следует, что или . Из конгруэнтности этих углов следует, что (см. рис. 217). Но тогда треугольник следов будет равнобедренным, равными его сторонами будут стороны и .
Вычислим показатели искажения. Из соотношения (3) имеем , откуда , тогда , a . При приведении к единице двух из показателей искажения и третий показатель приведется к половине. Таким образом, в приведенной ортогональной диметрии показатели искажения будут и .
При этом коэффициент приведения . Это означает, что приведенная ортогональная диметрия дает изображение в масштабе . Определим взаимное расположение аксонометрических осей. Так как треугольник следов – равнобедренный, то его высота является в то же время и медианой, т. е. (рис. 221).
Из прямоугольного треугольника имеем: . Чтобы определить это отношение, выразим оба его члена через отрезок натуральной координатной оси . Равнобедренный треугольник является проекцией прямоугольного равнобедренного треугольника (см. рис. 217), поэтому .
Далее имеем , но , поэтому , откуда . Теперь .
По найденному значению определим уклоны диметрических осей и по отношению к стороне треугольника следов, иначе говоря, определим и (см. рис. 221). Заметим, что , но поэтому .
Отсюда получаем следующий способ построения аксонометрических осей в ортогональной диметрии. Через точку проводим вспомогательную прямую, перпендикулярную к выбранной оси (рис. 222). В обе стороны от точки откладываем на этой прямой по восемь конгруэнтных между собой отрезков. В направлении, противоположном положительному направлению оси , откладываем от левой конечной точки один такой же отрезок, а от правой конечной точки – семь отрезков. Соединив полученные точки с точкой , получим аксонометрические оси и .
Построение эллипсов, изображающих окружности, расположенные в координатных плоскостях или в плоскостях, им параллельных, производится следующим образом.
Малые оси этих эллипсов так же, как и в изометрии, параллельны соответствующим аксонометрическим осям, а большие оси им перпендикулярны (рис. 223). Большая ось каждого из трех эллипсов в приведенной диметрии равна 1,06 d.
Чтобы определить величины малых осей, необходимо вычислить их показатели искажений. Тогда на основании второго из соотношений (5) и соотношений (6) с учетом коэффициента приведения получим для координатных плоскостей и z следующие величины малых осей: , или . Для координатной плоскости величина малой оси будет равна .
Все три эллипса, изображающие окружности, расположенные в плоскостях, параллельных координатным плоскостям показаны на рис. 223. На выносках указаны показатели искажения соответствующих диаметров изображаемых окружностей.
Как уже отмечалось, широкое распространение на практике ортогональных аксонометрических проекций объясняется тем, что получаемые при этом изображения наиболее наглядны, так как для глаза привычно рассматривать предметы, расположенные прямо перед ним. Однако при построении ортогональной аксонометрии все три натуральные координатные плоскости подвергаются искажению, а на практике часто бывает полезным построение такой аксонометрической проекции, в которой хотя бы одна из координатных плоскостей не искажалась. Очевидно, что для выполнения этого условия плоскость проекций должна быть параллельной одной из координатных плоскостей. При этом уже нельзя пользоваться ортогональным проецированием, так как координатная ось, перпендикулярная указанной координатной плоскости, изобразится точкой, и изображение будет лишено наглядности, поэтому пользуются косоугольным проецированием. Если расположить плоскость проекций параллельно координатной плоскости , то аксонометрические оси и будут взаимно перпендикулярны и показатели искажения по этим осям равны единице, т. е. (рис. 224). При этом фигуры, расположенные в плоскости или в плоскостях, ей параллельных, не будут искажаться на изображении. Это обстоятельство существенно упрощает построение аксонометрической проекции оригинала, у которого имеется много различных элементов, например, окружностей, расположенных в плоскости или в плоскостях, ей параллельных.
Направление аксонометрической оси и величина показателя искажения по этой оси зависит от направления проецирования . В самом деле, ось может рассматриваться как ортогональная проекция на плоскость направления проецирования (рис. 224), поэтому направление оси зависит от направления и может быть выбрано произвольно. Но так как для косоугольной аксонометрии имеет место соотношение (2), т. е. , то, учитывая, что , получим . Отсюда следует, что показатель искажения , выражаясь через котангенс угла , может иметь любое числовое значение.
На практике направление оси выбирают таким, чтобы углы, образованные осью с осями и , равнялись бы 135°, а показатель искажения (рис. 225). Такую косоугольную аксонометрию называют фронтальной диметрией. Вычислим угол наклона проецирующих лучей к плоскости проекций во фронтальной диметрии. Так как , то и . Во фронтальной изометрии, в которой , этот угол . Фронтальная диметрия обладает большей наглядностью, нежели фронтальная изометрия, так как в большей степени приближается к ортогональной аксонометрии, поэтому применение фронтальной диметрии рекомендовано стандартом.
Проекции трех окружностей, расположенных в плоскостях, параллельных координатным, показаны на рис. 226. Окружность, расположенная в плоскости, параллельной координатной плоскости , спроецируется на плоскость проекций без искажения, а окружности, расположенные в плоскостях, параллельных координатным плоскостям и , спроецируются в виде эллипсов. Эти эллипсы обычно строятся по сопряженным диаметрам. На выносках даны показатели искажения соответствующих диаметров изображаемых окружностей.
Обычно аксонометрические проекции каких-либо оригиналов строятся по комплексным чертежам этих оригиналов. Рассмотрим на нескольких примерах построение стандартных аксонометрических проекций оригиналов, заданных своими комплексными чертежами.
Пример №71
Построить стандартную (приведенную) изометрию пятиугольной пирамиды и ее сечение плоскостью (рис. 227).
Решение:
Отнесем данную пирамиду к натуральной системе координат, для чего нанесем на комплексном чертеже (рис. 227а) координатные оси. Затем строим аксонометрические оси с углами в 120° между ними (рис. 227б) * . Измерив на комплексном чертеже натуральные координаты вершин пирамиды, строим с их помощью аксонометрические проекции вершин пирамиды, при этом натуральные координаты не подвергаются искажениям, так как все три приведенных показателя искажений в ортогональной изометрии равны единице. Для построения аксонометрических проекций точек и , являющихся тремя вершинами искомого сечения, измеряем только аппликаты этих точек, так как эти точки лежат на ребрах уже построенной пирамиды.
Построение аксонометрической проекции сечения пирамиды проще всего проделать с помощью следа (линии пересечения) данной плоскости на плоскости основания пирамиды (в данном случае на координатной плоскости ). Этот след определен точками 1 и 2. Тогда при помощи точки 3 легко определяется вершина . Аксонометрические проекции вершин и определяются в пересечении следа 1–2 со сторонами основа ния пирамиды.
Необходимо отметить, что удобнее строить аксонометрическую проекцию сечения по координатам его вершин, взятым с комплексного чертежа, для чего предварительно строят это сечение на комплексном чертеже.
Пример №72
Построить стандартную (приведенную) изометрию цилиндрической винтовой линии, заданной комплексным чертежом (рис.228).
Решение:
Отнесем данную линию к натуральной системе координат (рис. 228а) и нанесем на ней точки 1, 2, 3 . Затем построим вторичные проекции этих точек по их абсциссам и ординатам (рис. 228б). Эти точки на чертеже отмечены, но не обозначены. Далее, по аппликатам указанных точек находим их аксонометрические проекции 1, 2, 3 ...; соединив их плавной кривой, получим аксонометрическую проекцию винтовой линии.
Пример №73
Построить стандартную ортогональную (приведенную) диметрию шестиугольной призмы с цилиндрическим отверстием, заданной комплексным чертежом (рис. 229).
Решение:
Отнесем данную призму к натуральной системе координат, для чего нанесем на комплексном чертеже (рис. 229а) координатные оcи. Затем строим диметрические оси так, как указано на рис. 222. Измерив на комплексном чертеже натуральные координаты вершин призмы, строим с их помощью аксонометрические проекции вершин призмы, с учетом величин приведенных показателей искажений ; . Центры эллипсов, изображающих основания цилиндрического отверстия, лежат на оси , первый из них находится в точке , а второй – на расстоянии половины натуральной высоты цилиндрического отверстия или, что то же, высоты призмы. Для увеличения наглядности чертежа производим у данного оригинала вырез координатными плоскостями и , заштриховывая получающиеся при этом сечения (рис. 229б).
Пример №74
Построить стандартную фронтальную диметрию детали, заданной комплексным чертежом (рис. 230).
Решение:
После отнесения детали к натуральной системе координат и построения аксонометрических осей измеряем на комплексном чертеже координаты всех точек, определяющих форму детали, причем криволинейные элементы детали разбиваем на отдельные участки. Затем, учитывая показатели искажения , строим аксонометрические проекции всех точек, определяющих форму детали. Построение фронтальной диметрии данной детали существенно облегчается тем, что ее передняя и задняя стенки не искажаются, т. е. их аксонометрические проекции повторяют вид спереди детали на комплексном чертеже.
Пример №75
Построить приведенные стандартные изометрию и диметрию, а также фронтальную диметрию шара диаметра .
Решение:
Предварительно напомним, что ортогональная проекция шара является кругом того же диаметра, а его косоугольная проекция является эллипсом. Поэтому в приведенных стандартных ортогональных изометрии и диметрии очерк шара будет окружностью соответственно диаметров и , а во фронтальной диметрии очерк шара будет эллипсом.
Приведенная ортогональная изометрия данного шара с вырезом одной восьмой его части дана на рис. 231б, а приведенная ортогональная диметрия этого же шара с таким же вырезом – на рис. 231в. Диаметры очерковых окружностей соответственно равны для изометрии – , а для диметрии – . Три эллипса на каждом изображении являются проекциями сечений шара координатными плоскостями.
Фронтальная диметрия данного шара построена на рис. 231г. Эллипс, являющийся очерком шара, построен как огибающая кривая ряда окружностей. Эти окружности являются проекциями сечений шара фронтальными плоскостями. Центры и радиусы этих окружностей определяем с помощью комплексного чертежа данного шара (рис. 231а). Два эллипса и одна окружность диаметра являются проекциями сечений шара координатными плоскостями. С помощью этих сечений и определяется вырез одной восьмой части шара.
Пример №76
Построить приведенную стандартную изометрию детали, заданной комплексным чертежом (рис. 232).
Решение:
При построении изометрии данной детали покажем, на какие этапы целесообразно разбить весь процесс построения.
Укрупненный алгоритм начертательной геометрии приведен на рис. 233.
Выше были рассмотрены общие ’'геометрические” подходы к решению инженерных и научных задач. Решение реальных задач требует конкретизации этих подходов.
Декартова система координат, к которой ''привязаны” плоскости проекций, предусматривает возможность задания не только положительных, но и отрицательных координат точек.
Рассмотрим возможность построения чертежей точек, имеющих и отрицательные координаты.
Формально процесс построения чертежа сохраняется. Для точек с отрицательной координатой У (точки В и D рисунок 11.1) положительное направление оси Oz принимается за отрицательное направление О Y.
Определенный интерес при выполнении машиностроительных чертежей представляет линия, параллельная плоскости zOy, ее обычно называют профильной линией уровня (рисунок 11.2).
Ее горизонтальная и фронтальная проекции перпендикулярны оси чертежа Ох.
Еще одна, часто встречающаяся в черчении прямая, - это прямая, перпендикулярная плоскости zOy. Такая прямая называется профильно - проецирующей (рисунок 11.3).
Обе ее проекции, горизонтальная и фронтальная параллельны оси чертежа Ох
Вопрос о взаимном положении прямых не всегда решается по двум данным проекциям. Как показано на рисунке 11.4, приходится строить профильную проекцию.
Деление в заданном отношении отрезка базируется на свойстве параллельных проекций. Отношение отрезков на прямой равно отношению отрезков на проекциях. Задача решается путем деления в данном отношении одной из проекций этого отрезка (рисунок 11.5). Пусть AВ делится точкой К в отношении 3:2. На горизонтальной проекции (в точке ) проведена вспомогательная
прямая t. На ней отложено пять одинаковых отрезков произвольной длины.
Точка делит отрезок в заданном отношении 3:2. Точка (прямая параллельная в соответствии с теоремой Фалеса, делит отрезок в том же отношении. Фронтальная проекция точки найдется по соответствию на

Рисунок 11.5- Деление отрезка в заданном отношении
Многие задачи, связанные с чертежами плоскостей, удобнее решать, когда плоскости заданы следами, что бывает не всегда. Проиллюстрируем возможность перехода от задания плоскости пересекающимися прямыми к заданию следами.
Этот переход базируется на определении следов прямых (рисунок 11.6). Точки пересечения прямой с плоскостями проекций получили называние следов. Очевидно, что следы прямой, лежащей в плоскости, должны лежать на соответствующих следах этой плоскости (рисунок 11.7).
Следы плоскости заданной пересекающимися прямыми АВ и АС, могут быть найдены следующим образом.
След определяется двумя точками (М и горизонтальными следами прямых СА и АВ, соответственно. След определяется двумя точками (N и фронтальными следами прямых СА и АВ.
Правильность построения проверяется по точке пересечения следов
Построение прямых общего положения и точек, расположенных в плоскостях, заданных не следами, рассмотрены на рисунке 11.8
Построение прямых общего положения и точек, расположенных в плоскостях, заданных не следами, рассмотрены на рисунке 11.8
Построение линий уровня в плоскостях, заданных треугольником и пересекающимися прямыми, представлено на рисунке 11.9
Иногда вызывает затруднение построение главных линий плоскости, если следы заданы как на рисунке 11.10.
Традиционно к главным линиям плоскости относят и линии наибольшего наклона (ската) — прямые перпендикулярные к линиям уровня этой плоскости (следам).
Эти прямые определяют углы наклона произвольной плоскости к плоскостям проекции. Для этого достаточно найти истинные величины отрезков линий ската. Например (рисунок 11.11), (a - угол наклона плоскости Р к плоскости проекции
Прямые и точки, расположенные в проецирующих плоскостях, рассмотрены на рисунке 11.12. В качестве проецирующей плоскости взята горизонтально - проецирующая плоскость.
Горизонтальная проекция объекта, лежащего в этой плоскости, будет совпадать с горизонтальным следом этой плоскости (рисунок 11.12).
Горизонтальная проекция объекта, лежащего в горизонтально - проецирующей плоскости, не определяет положение его в пространстве. Фронтальная же проекция объекта, однозначно определяет положение его в пространстве.
Аналогичное заключение может быть сделано и для фронтально - проецирующей плоскости.
Поскольку плоскости уровня тоже являются проецирующими, то вышеприведенные рассуждения могут быть применены и к ним (рисунок 11.13).
Построение точки и отрезка прямой в профильно - проецирующей плоскости, заданной следами, показано на рисунке 11.14. Принадлежность прямой А В такой Р плоскости может быть определена по принадлежности следов (М и N) прямой следам P этой плоскости.
Задача на принадлежность точки D плоскости и здесь сведется к определению ее принадлежности прямой этой плоскости (например, АВ, в соответствии с рисунком 11.14).
Пример построения точки, лежащей в осевой плоскости, показан на рисунке 11.15.
Плоскость, проходящая через координатную ось, называется осевой. Если эта плоскость делит двугранный угол, образованный плоскостями проекций, пополам, то такая осевая плоскость называется биссекторной.
Плоскость задана следами и точкой С. Решение сводится к построению прямой t, пересекающей ось X в точке М и проходящей через точку С.
Умение строить линию пересечения плоскостей частного и общего положения необходимо для решения как метрических, так и позиционных задач.
На рисунке 11.16 найдена линия пересечения (3-4) горизонтальной плоскости уровня и плоскости общего положения, заданной треугольником АВС. Фронтальная проекция линии пересечения совпадает с фронтальным следом и является горизонталью.
На том же рисунке построена линия пересечения (3-4) горизонтально-проецирующей плоскости Р и плоскости общего положения, заданной параллельными прямыми (t//n). Линия пересечения - прямая общего положения, её горизонтальная проекция совпадает с горизонтальным следом плоскости Р.
К характерным задачам нужно отнести и построение линии пересечения плоскостей, когда точка пересечения одноименных следов не может быть получена в пределах чертежа.
Известно, что три плоскости всегда пересекаются в точке. Это и служит отправным моментом для отыскания точек линии пересечения двух плоскостей и Р. Проводится вспомогательная плоскость S, параллельная плоскости проекции (например, ), которая пересекает и Р по горизонталям (рисунок 11.17).
В силу того, что эти горизонтали лежат в одной плоскости S то они, пересекаясь, дают точку N общую для Р и S. И, следовательно, ее можно принять за точку линии пересечения плоскостей и Р. Вторая точка линии пересечения MN может быть найдена аналогично или как точка пересечения соответствующих следов.
Поэтапное решение задачи на построение линии пересечения двух плоскостей общего положения, заданных треугольниками, показано на рисунках 11.18-11.21
Для нахождения линии пересечения дважды решается задача на построение точки встречи прямой с плоскостью.
На рисунке 11.19 показано построение точки встречи прямой DK с плоскостью треугольника АВС.
Прямая DK заключается в горизонтально-проецирующую плоскость S. Находится линия пересечения плоскости S и треугольника АВС (линия - На пересечении линии с прямой отмечается точка - фронтальная проекция точки встречи. Затем строится ее горизонтальная проекция.
Аналогично находится вторая общая точка N - точка встречи прямой АВ с плоскостью треугольника DKE (как показано на рисунке 11.20). Затем стоится линия пересечения плоскостей - линия MN.
На рисунке 11.21 определяется видимость треугольников методом конкурирующих точек. Точки 1 и 5 позволяют определить видимость сторон треугольников на горизонтальном поле проекций точки 6 и 7 - на фронтальном
Весьма распространены и задачи на отыскание истинных величин плоских фигур. Решение здесь может быть, в отдельных случаях, получено вращением фигуры вокруг оси, параллельной плоскости проекций до положения параллельного плоскости или
Проиллюстрируем это вращением вокруг его горизонтали AD до параллельности плоскости (рисунок 11.22).
В вершина А располагается на оси AD, поэтому в процессе вращения остается на месте. Вершины В и С в процессе вращения движутся по дугам окружностей, лежащих в плоскостях, перпендикулярных оси вращения AD. В силу выше сказанного и теоремы о проецировании прямого угла, перпендикуляры, опущенные из горизонтальных проекций точек на горизонтальную проекцию оси вращения могут быть приняты за проекции радиусов вращения точек В и С.
Истинная величина радиуса вращения О В может быть определена по методу прямоугольного треугольника — истинная величина радиуса вращения точки В). В момент, когда располагается параллельно плоскости радиус вращения ОВ занимает
положение линии уровня.
Новое положение вершины С можно найти в пересечении двух прямых, из которых одна является перпендикуляром CD, а другая проходит через найденную точку и точку Объединение точек позволяет построить в истинную величину.
Определённый интерес представляет решение задачи по нахождению угла между прямой и плоскостью общего положения (рисунок 11.23).
Известно, что угол между прямой и плоскостью измеряется величиной плоского угла между рассматриваемой прямой и её ортогональной проекцией на эту плоскость.
Pешение проводим в следующей последовательности:
Сечение наклонного эллиптического (в нормальном сечении - эллипс) цилиндра горизонтальной плоскостью уровня и фронтально-проецирующей плоскостью рассмотрено на рисунке 11.24. Результатом пересечения будет, соответственно, окружность и эллипс.
Для построения проекций фигуры сечения цилиндра необходимо определить точки пересечения образующих цилиндра с плоскостью Р.
Фронтальная проекция линии пересечения совпадает с фронтальным следом плоскости. Следовательно, задачу можно свести к построению точек, лежащих в плоскости Р по их фронтальным проекциям.
Для этого достаточно зафиксировать положение нескольких образующих цилиндра , построить их горизонтальные проекции и проекции точек эллипса по их принадлежности образующим.
Наряду с поверхностями вращения часто приходится иметь дело с гранными поверхностями. Рассмотрим сечение прямой трёхгранной призмы плоскостью общего положения Р (рисунок 11.25), когда нижнее основание призмы также пересекается плоскостью.
Все грани призмы являются отсеками горизонтально - проецирующих плоскостей. Следовательно, одна проекция сечения уже определена, она ограничена горизонтальным очерком призмы и горизонтальным следом секущей плоскости.
Причем, нужно отметить, что сечение нижнего основания плоскостью Р совпадает со следом этой плоскости.
Таким образом, в сечении трехгранной призмы плоскостью общего положения оказывается четырехугольник 1234.
Фронтальная проекция этого четырехугольника (рисунок 11.25) может быть найдена как линия пересечения граней призмы с секущей плоскостью.
На рисунке 11.26 рассмотрена задача на построение линии пересечения плоскости общего положения Р и трёхгранной наклонной призмы, ребра которой - фронтальные линии уровня. Плоскость рассекает только боковую поверхность, в сечении получается треугольник. Задача сводится к нахождению точек встречи рёбер призмы с плоскостью. В качестве вспомогательных плоскостей берутся фронтальные плоскости уровня дающие в пересечении с плоскость Р фронтальные линии уровня Горизонтальные проекции линии пересечения находятся по принадлежности рёбрам призмы.
На умении находить линию пересечения поверхности и плоскости базируется решение задачи на построение точек пересечения линий и поверхностей.
В пересечении поверхности с прямой линией получаются точки, называемые точками входа и выхода. Проиллюстрируем нахождение этих точек на примере прямой и трехгранной пирамиды (рисунок 11.27).
Рисунок 11.28 - Точки пересечения прямой с конусом
Введение фронтально - проецирующей плоскости позволяет определить положение линии 123 - искомого плоского сечения. Точки К и N и будут искомыми точками пересечения прямой с поверхностью трехгранной пирамиды.
Аналогично решается задача на пересечение прямой с конусом (рисунок 11.28)
В качестве секущей плоскости здесь используется плоскость общего положения Р, образованная исходной прямой (АВ) и горизонталью h, проходящей через вершину конуса.
В этом случае конус пересечется с плоскостью по двум прямолинейным образующим S1 и S2, на которых и располагаются искомые точки пересечения прямой и конуса.
Положение образующих S1 и S2 определится пересечением горизонтального следа плоскости с основанием конуса.
Все рассмотренное выше может быть использовано для решения задач на пересечение поверхностей.
Например, пусть требуется построить линию пересечения четырехгранной пирамиды с прямым круговым цилиндром
Верхняя граница (точка 1) линии пересечения может быть найдена в результате пересечения цилиндра с ребрами пирамиды.
Нижняя граница (точка 2)— результат пересечения очерковой образующей цилиндра с боковой гранью пирамиды.
Промежуточные точки (4,5)искомой линии найдутся в сечениях поверхностей плоскостями, перпендикулярными оси вращения цилиндра.
Иногда возникает необходимость решить метрическую задачу на поверхности, например: определение площади отсека поверхности или длину линии, принадлежащей поверхности.
Наиболее простой способ решения задачи - с помощью построения развертки поверхности - приведен на рисунке 11.30.
Для определения расстояния между точками А и В, лежащими на поверхности конуса, необходимо построить развертку боковой поверхности конуса, найти положение точек на развертке и измерить длину отрезка
На рисунке 11.31 приведено развертывание цилиндрической поверхности. Развертка производится по схеме аппроксимации поверхности 12-гранной призмой. Натуральная величина сечения находится методом совмещения секущей плоскости с горизонтальной плоскостью проекций.
Развертка усеченной части строится на развертке исходного цилиндра. Присоединение к развертке боковой поверхности цилиндра и его сечения даст возможность сделать модель рассеченного цилиндра.
При построении развертки усеченной четырехгранной призмы (рисунок 11.32) сначала строятся грани боковой поверхности призмы, а затем пристраиваются оба основания (нижнее и сечение). Натуральная величина сечения может быть найдена, например, совмещением плоскости Р с плоскостью В соответствии с рисунком 11.32 совмещенное (новое) положение следа
Развертка боковой поверхности пирамиды получена следующим образом (рисунок 11.33).
Определены методом прямоугольного треугольника длины ребер и сторон основания пирамиды.
Затем последовательно в плоскости чертежа построены треугольники (по трем сторонам) — грани пирамиды. К полученному чертежу пристроено основание пирамиды. Точки, определяющие на развертке положение отсеченной части, найдены пропорциональным делением
В разделе 9 были представлены виды аксонометрических проекций, правила их построения. Построение конкретных геометрических объектов требует более подробного рассмотрения.
Построение аксонометрических проекций многогранников сводится к построению аксонометрических проекций их вершин и ребер. При этом для симметричных многогранников оси координат обычно совмещают с их осями симметрии.
На рисунке 11.34 приведен комплексный чертеж и наглядное изображение правильной шестигранной призмы, выполненное в стандартной изометрической проекции.
Поскольку вторичные проекции вершин призмы совпадают с аксонометрическими проекциями вершин ее нижнего основания, их обозначения не даны.
На рисунке 11.35 приведено построение координатных отрезков для точки, заданной на поверхности цилиндра и конуса вращения в аксонометрической проекции. Во всех случаях начало координат взято в центре основания (точка О),
Через заданную на цилиндре точку А' проведена прямая параллельно оси Z, и из вторичной проекции проведена прямая параллельно оси до пересечения с осью X. Отрезки позволяют определить координаты точки А в данной системе осей координат.
Через заданную на конусе точку А' проведена образующая и построена вторичная проекция этой образующей. Проводя из точки А' перпендикуляр до пересечения с получаем вторичную проекцию точки Координаты точки А определяются так же, как и для точки, принадлежащей цилиндру.
Кстати вы всегда можете заказать чертежи.
Лекции по предметам:
При копировании любых материалов с сайта evkova.org обязательна активная ссылка на сайт www.evkova.org
Сайт создан коллективом преподавателей на некоммерческой основе для дополнительного образования молодежи
Сайт пишется, поддерживается и управляется коллективом преподавателей
Whatsapp и логотип whatsapp являются товарными знаками корпорации WhatsApp LLC.
Cайт носит информационный характер и ни при каких условиях не является публичной офертой, которая определяется положениями статьи 437 Гражданского кодекса РФ. Анна Евкова не оказывает никаких услуг.